0  319874  319882  319888  319892  319898  319900  319904  319910  319912  319918  319924  319928  319930  319934  319940  319942  319948  319952  319954  319958  319960  319964  319966  319968  319969  319970  319972  319973  319974  319976  319978  319982  319984  319988  319990  319994  320000  320002  320008  320012  320014  320018  320024  320030  320032  320038  320042  320044  320050  320054  320060  320068  447090 

居民收入直接影响其消费水平和消费需求。据此回答3-4题

3、右图中(Q:需求量、I收入)正确反映液

晶彩电、家庭轿车的消费需求量与收入关系的曲  线是

A.C曲线        B.A曲线    

C.B曲线        D.说不清

4、有关专家研究发现有着稳定收入的人比收入不稳     

定的人有着更高的消费水平,后者则有更高的储 

蓄水平,这说明        

A.过去的收入水平影响消费水平    

B.当前的收入水平影响消费水平

C.前者比后者更崇尚物质生活享受 

D.未来的收入预期影响消费水平

试题详情

2、最新城市青少年消费调查表明:青少年每月动用少则百余元、多则数百元的零花钱主要是用来购买衣服鞋袜、休闲用品、参考书刊和到西式快餐店消费等。59%的青少年表示: “其实,所买的这些衣物用不了几次就扔到一边去了;现在家里还有很多用了不久便不再用的东西”。材料启示我们应该

A.避免盲从,理性消费       B.发扬艰苦奋斗精神

C.提倡适度消费          D.保护环境,绿色消费

试题详情

1、从2008年年底开始,中国几乎所有的城市都掀起了一股自来水涨价热潮。针对水价调整,2009年8月28日清华大学环境系水业政策研究中心主任傅涛表示,水价的成本透明是调价的基础,要把水价的成本透明给老百姓。从经济生活角度看,该观点合理性在于

A.商品的价格受供求的影响       

B.商品的价格是由其使用价值决定的

C.商品的价格是由社会必要劳动时间决定 

D.商品的价格是由价值决定的

试题详情

18.(12分)如图19所示,长L=9m的传送带与水平方向的傾角,在电动机的带动下以的速率顺时针方向运行,在传送带的B端有一离传送带很近的挡板P可将传送带上的物块挡住,在传送带的A端无初速地放一质量m=1kg的物块,它与传送带间的动摩擦因数,物块与挡板的碰撞能量损失及碰撞时间不计。(m/s2)求:

(1)物块从第一次静止释放到与挡板P第一次碰撞后,物块再次上升到传送带的最高点的过程中,因摩擦生的热;

(2)物块最终的运动状态及达到该运动状态后电动机的输出功 

率。

湖北省黄冈中学2010届高三年级9月月考

试题详情

17.(12分)如图18所示 ,质量,上表面光滑的足够长的木板在水平拉力的作用下,以的初速度沿水平地面向右匀速运动,现有足够多的小铁块,它们质量均为m=1kg,将一铁块无初速地放在木板最右端,当木板运动了时,又无初速地在木板最右端放上第二个铁块,以后只要木板运动了L就在木板最右端无初速放一铁块(m/s2)。求:

(1)第一个铁块放上后,木板运动1m时,木板的速度多大?

(2)最终有几个铁块能留在木板上?

(3)最后一个铁块与木板右端距离多大?

试题详情

16.(10分)如图17所示,在足够长的光滑水平面上,放置一长为L=1m、质量为的木板A,一质量为的小物体B以初速度滑上A的上表面,AB之间的动摩擦因数为m/s2

(1)当B刚从A上滑落时,AB的速度分别是多大?

(2)为使B不从木板A的右端滑落,当B滑上A时,在A的右端始终施加一个水平向右的恒力F,求F的大小应满足的条件。

试题详情

15.(10分)如图16所示,在同一竖直平面内两正对着的相同半圆光滑轨道,相隔一定的距离,虚线沿竖直方向,一小球能在其间运动,今在最低点与最高点各放一个压力传感器,测试小球对轨道的压力,并通过计算机显示出来,当轨道距离变化时,测得两点压力差与距离的图象如右下图所示。(不计空气阻力,g 取m/s2)求:

(1)小球的质量;

(2)相同半圆光滑轨道的半径;

(3)若小球在最低点B的速度为20m/s,为使

小球能沿光滑轨道运动,的最大值。

试题详情

14.(1)图14中;游标卡尺的示数是     mm。

        螺旋测微器的示数是       mm。

 

(2)在“验证机械能守恒定律”的实验中:

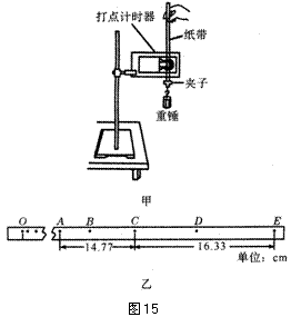
①某同学用图15甲所示装置进行实验,得到如图15乙所示的纸带,测出点A,C间的距离为14.77cm,点C,E间的距离为16.33cm,已知当地重力加速度为9.8m/s2,重锤的质量为,则重锤在下落过程中受到的平均阻力大小    

②某同学上交的实验报告显示重锤增加的动能略大于重锤减少的重力势能,则出现这一问题的原因可能是       (填序号)。

A.重锤的质量测量错误                 B.该同学自编了实验数据

C.交流电源的频率不等于50HZ           D.重锤下落时受到的阻力过大

试题详情

13.某同学在做平抛运动实验时得以了如图13所示的物体运动轨迹,abc三点的位置在运动轨迹上已标出。则:

(1)小球平抛的初速度为     m/s。(g取10m/s2)

(2)小球开始做平抛运动的位置坐标为       cm,

     cm。

(3)小球运动到b点的速度为      m/s。

试题详情

12.如图12所示,轮子的半径均为R=0.20m,且均由电动机驱动以角速度逆时针匀速转动,轮子的转动轴在同一水平面上,轴心相距d=1.6m,现将一块均匀木板轻轻地平放在轮子上,开始时木板的重心恰好在轮的正上方,已知木板的长度L>2d,木板与轮子间的动摩擦因数均为=0.16,则木板的重心恰好运动到轮正上方所需的时间是(   )

 

A.1s                               B.0.5s    

C.1.5s                              D.条件不足,无法判断

试题详情


同步练习册答案