相关习题
0 63656 63664 63670 63674 63680 63682 63686 63692 63694 63700 63706 63710 63712 63716 63722 63724 63730 63734 63736 63740 63742 63746 63748 63750 63751 63752 63754 63755 63756 63758 63760 63764 63766 63770 63772 63776 63782 63784 63790 63794 63796 63800 63806 63812 63814 63820 63824 63826 63832 63836 63842 63850 211419
科目:
来源:2006-2007学年广东省潮州高级实验学校九年级(下)段考化学试卷(解析版)
题型:选择题
下列物质中,哪种能由金属与稀酸反应直接制得( )
A.CuSO4
B.FeCl3
C.Al2(SO4)3
D.AgCl
查看答案和解析>>
科目:
来源:2006-2007学年广东省潮州高级实验学校九年级(下)段考化学试卷(解析版)
题型:选择题
如图所示,在烧瓶里收集满某种气体,烧瓶用带导管(导管一端事先已经绑好一个气球)的胶塞塞紧.当拔开胶塞迅速倒入某种液体,立即塞紧振荡,可以看到气球逐渐膨大,瓶中气体和倒入的液体可能是( )

A.氢气、水
B.二氧化碳、盐酸溶液
C.氯化氢、氢氧化钾溶液
D.氨气、氢氧化钠溶液
查看答案和解析>>
科目:
来源:2006-2007学年广东省潮州高级实验学校九年级(下)段考化学试卷(解析版)
题型:选择题
下列关于生活中常用材料的认识,正确的是( )
A.涤纶、羊毛和棉花都是天然纤维
B.各种塑料在自然界都不能降解
C.电木插座破裂后可以热修补
D.装食品用的聚乙烯塑料袋可以通过加热进行封口
查看答案和解析>>
科目:
来源:2006-2007学年广东省潮州高级实验学校九年级(下)段考化学试卷(解析版)
题型:选择题
只用一种试剂鉴别NaOH、Ca(OH)2和稀硫酸三种无色溶液时,可选用的试剂是( )
A.硫酸铜溶液
B.稀盐酸
C.氯化钡溶液
D.碳酸钠溶液
查看答案和解析>>
科目:
来源:2006-2007学年广东省潮州高级实验学校九年级(下)段考化学试卷(解析版)
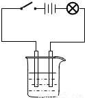
题型:选择题
如图所示的烧杯中盛有氢氧化钡溶液,当开关合上时,灯泡发亮.此时若加入下列溶液中的某一种溶液,灯泡会逐渐变暗,直至熄灭,然后逐渐变亮.这种试剂是( )

A.Na
2SO
4B.H
2SO
4C.HNO
3D.HCl
查看答案和解析>>
科目:
来源:2006-2007学年广东省潮州高级实验学校九年级(下)段考化学试卷(解析版)
题型:选择题
在一定条件下,同一反应进行的快慢与反应物浓度成正比.现将一定浓度的稀硫酸溶液与过量镁粉反应制氢气.为了使反应慢点而又不影响生成氢气的总量,可向稀硫酸溶液中加入适量的( )
A.水
B.NaOH溶液
C.Na2CO3稀溶液
D.Ba(OH)2稀溶液
查看答案和解析>>
科目:
来源:2006-2007学年广东省潮州高级实验学校九年级(下)段考化学试卷(解析版)
题型:填空题
将“先”、“后”填入下列空格中:
(1)稀释浓硫酸时,往烧杯里 加水 加浓硫酸;
(2)用排水法收集氧气时, 熄灭酒精灯, 将导管移出水面;
(3)用盐酸中和氢氧化钠溶液, 滴加几滴酚酞试液, 滴加盐酸.
查看答案和解析>>
科目:
来源:2006-2007学年广东省潮州高级实验学校九年级(下)段考化学试卷(解析版)
题型:填空题
浓硫酸和铜在加热的条件下能发生如下反应:
Cu+2H
2SO
4(浓)

CuSO
4+2H
2O+SO
2↑
有人设计了两种用铜屑制硫酸铜的方案:
①Cu

CuSO
4②Cu

CuO

CuSO
4这两种方案中
较好,该方案较好的理由是
.
查看答案和解析>>
科目:
来源:2006-2007学年广东省潮州高级实验学校九年级(下)段考化学试卷(解析版)
题型:填空题
正常的雨水常呈微酸性,这是由于在雨水中溶解了 .通常所说的酸雨是指pH<5.6的雨水,当空气受 或 的污染时雨水便呈酸性.为了提高城市空气的质量,请你提出两条切实可行的建议:
(1) .
(2) .
查看答案和解析>>
科目:
来源:2006-2007学年广东省潮州高级实验学校九年级(下)段考化学试卷(解析版)
题型:填空题
磷酸二氢铵[NH4H2PO4]是一种含有 、 两种营养元素的复合化肥,熟石灰常用来中和土壤的酸性,但是这两种物质不宜混合使用,试说明原因: ,并写出有关反应的化学方程式: .
查看答案和解析>>