相关习题
0 66551 66559 66565 66569 66575 66577 66581 66587 66589 66595 66601 66605 66607 66611 66617 66619 66625 66629 66631 66635 66637 66641 66643 66645 66646 66647 66649 66650 66651 66653 66655 66659 66661 66665 66667 66671 66677 66679 66685 66689 66691 66695 66701 66707 66709 66715 66719 66721 66727 66731 66737 66745 211419
科目:
来源:2012-2013学年云南省昆明市富民县散旦中学九年级(上)第一次月考化学试卷(解析版)
题型:选择题
实验室里用加热的方法制取氧气的过程,大致分为以下六个主要操作:①点燃酒精灯,给试管加热;②熄灭酒精灯;③检查装置的气密性;④将高锰酸钾装入试管里,并在靠近试管口处放一小团棉花,用带导管的胶塞塞紧,并将它固定在铁架台上;⑤用排水法收集氧气;⑥将导管从水面下取出.正确的操作顺序是( )
A.③④①⑤②⑥
B.③④①⑤⑥②
C.④①③⑤②⑥
D.④①③⑤⑥②
查看答案和解析>>
科目:
来源:2012-2013学年云南省昆明市富民县散旦中学九年级(上)第一次月考化学试卷(解析版)
题型:选择题
某无毒气体的密度约是空气密度的5/9,且极难溶于水,在空气中不易变质.那么收集该气体所用的方法是:①向上排空气法②向下排空气法③排水法( )
A.①或②
B.①或③
C.②或③
D.①②③均可
查看答案和解析>>
科目:
来源:2012-2013学年云南省昆明市富民县散旦中学九年级(上)第一次月考化学试卷(解析版)
题型:填空题
按体积计算,空气中含量最多的气体是 ,它大约占空气体积的百分比是 ,含量居第二位的气体是 ,它大约占空气体积是 .工业上制取大量氧气的方法是 ,该方法属于 变化.
查看答案和解析>>
科目:
来源:2012-2013学年云南省昆明市富民县散旦中学九年级(上)第一次月考化学试卷(解析版)
题型:填空题
石灰水露置在空气中一段时间后,液面会形成一层白色薄膜,原因是空气中含有 ;松脆的饼干放在空气中两三天就变软了,证明了空气中含有 .小白鼠在某密闭容器中能存活一定的时间,说明空气中有 .
查看答案和解析>>
科目:
来源:2012-2013学年云南省昆明市富民县散旦中学九年级(上)第一次月考化学试卷(解析版)
题型:填空题
超市里,有成百上千种商品,为了便于顾客选购,住住分门别类,有序地摆放.在化学学习中,我们也要将物质进行分类.请将下列物质按要求分类.(用序号)
①空气;②二氧化硫;③氧气;④硫粉;⑤高锰酸钾;⑥氮气;⑦海水;⑧冰水混合物;⑨过氧化氢溶液;⑩二氧化锰
其中属于混合物的是 ;属于纯净物的是 ;属于化合物的是 ;属于单质的是 .
查看答案和解析>>
科目:
来源:2012-2013学年云南省昆明市富民县散旦中学九年级(上)第一次月考化学试卷(解析版)
题型:填空题
做铁丝在氧气里燃烧的实验时,铁丝绕成螺旋状的目的是 ,铁丝的一端系一根火柴的作用是 ;集气瓶里,放入少量水的作用是 ;可以观察到的现象是:铁丝 ,生成了一种 色的固体.
查看答案和解析>>
科目:
来源:2012-2013学年云南省昆明市富民县散旦中学九年级(上)第一次月考化学试卷(解析版)
题型:填空题
根据事实,写出有关化学反应的文字表达式及其所属的基本反应类型.
(1)燃烧木炭: ,反应类型
(2)氯酸钾制氧气: ,反应类型
(3)点燃红磷: ,反应类型
(4)氢气燃烧: ,反应类型 .
查看答案和解析>>
科目:
来源:2012-2013学年云南省昆明市富民县散旦中学九年级(上)第一次月考化学试卷(解析版)
题型:填空题
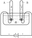
电解水的实验装置如图,通电后,两电极上都有气体放出,试管A得到的气体是
,试管B得到的气体是
,两者的体积比约为
,该实验说明水是由
和
组成,该反应的文字表达式为
,属于
反应.

查看答案和解析>>
科目:
来源:2012-2013学年云南省昆明市富民县散旦中学九年级(上)第一次月考化学试卷(解析版)
题型:填空题
将黑色粉末A和无色液体B混合,生成一种无色无味的气体C;加热暗紫色固体E,可同时得到A和C;无色气体C能使带火星的木条复燃.若将银白色金属D放在盛有C的集气瓶中燃烧,火星四射,生成一种黑色固体F,并放出热量.试推断A、B、C、D、E、F各是什么物质?
A ,B ,C ,D ,E ,F .
查看答案和解析>>
科目:
来源:2012-2013学年云南省昆明市富民县散旦中学九年级(上)第一次月考化学试卷(解析版)
题型:填空题
如图是某同学在实验室加热高锰酸钾制取氧气,并用排水法收集的装置图.
(1)请改正图中的错误.
①
;
②
;
③
.
(2)图中实验器材有橡皮塞、导管、还有
、
、
、
、
.
(3)用排水法开始收集氧气的适宜时刻是
.
(4)用排水法收集氧气完毕后,应先
,后
,原因是
.

查看答案和解析>>