相关习题
0 67087 67095 67101 67105 67111 67113 67117 67123 67125 67131 67137 67141 67143 67147 67153 67155 67161 67165 67167 67171 67173 67177 67179 67181 67182 67183 67185 67186 67187 67189 67191 67195 67197 67201 67203 67207 67213 67215 67221 67225 67227 67231 67237 67243 67245 67251 67255 67257 67263 67267 67273 67281 211419
科目:
来源:2012-2013学年云南省昭通区大关县悦乐一中九年级(上)期中化学试卷(解析版)
题型:选择题
如图●和○分别表示两种不同质子数的原子,其中表示化合物的是( )
A.

B.

C.

D.

查看答案和解析>>
科目:
来源:2012-2013学年云南省昭通区大关县悦乐一中九年级(上)期中化学试卷(解析版)
题型:填空题
用数字和化学符号填空:
(1)2个铁原子 ;
(2)3个水分子 ;
(3)三个钠离子
(4)氧化铝中铝元素为+3价 .
查看答案和解析>>
科目:
来源:2012-2013学年云南省昭通区大关县悦乐一中九年级(上)期中化学试卷(解析版)
题型:填空题
在氧气、二氧化碳、氮气、.稀有气体、水蒸气五种气体中,选择适当的物质填空:
(1)能使带火星的木条复燃的气体是 .(2)用于制霓虹灯的气体是 .
(3)用于食品防腐防碎的气体是 .
(4)植物光合作用吸入的气体是 .
查看答案和解析>>
科目:
来源:2012-2013学年云南省昭通区大关县悦乐一中九年级(上)期中化学试卷(解析版)
题型:填空题
在化学学习过程中,常常要用到分类的方法.下面是初中化学常见的几种物质:①空气②液氧③冰④二氧化碳⑤氯酸钾⑥铁片⑦氢气⑧五氧化二磷,其中属于混合物的是 ;属于纯净物的是 ;属于单质的是 ;属于化合物的是 ;属于氧化物的是 .
查看答案和解析>>
科目:
来源:2012-2013学年云南省昭通区大关县悦乐一中九年级(上)期中化学试卷(解析版)
题型:填空题
(1)下列微粒结构示意图中属于离子的是
(填字母),共表示
种元素.

(2)地壳中含量最多的元素与最多的金属元素形成的化合物的化学式
.
查看答案和解析>>
科目:
来源:2012-2013学年云南省昭通区大关县悦乐一中九年级(上)期中化学试卷(解析版)
题型:填空题
用如图所示的实验装置可以测定空气中氧气含量.在一个具有刻度和可以左右滑动的活塞的玻璃管中放入足量的自磷,活塞左端管内密封有空气,右端的管口跟空气连通.将玻璃容器固定在盛有80℃热水(恒温)的烧杯上,进行实验.试回答:
(1)实验过程中你所观察到的现象是:白磷燃烧,产生大量
;活塞先向
移动再向
移动,最终停在刻度
处.
(2)由此实验你可以得出的一条结论是
.

查看答案和解析>>
科目:
来源:2012-2013学年云南省昭通区大关县悦乐一中九年级(上)期中化学试卷(解析版)
题型:解答题
自来水消毒过程中通常会发生如下化学反应,其反应的微观过程可用下图表示:

(1)乙图所示反应的基本反应类型为______;
(2)上述物质中.属于单质的有______(填字母代号);
(3)以甲图为例分析,你能总结出的一条结论是______.
查看答案和解析>>
科目:
来源:2012-2013学年云南省昭通区大关县悦乐一中九年级(上)期中化学试卷(解析版)
题型:填空题
“中国水周”活动的宣传主题为“发展水利,改善民生”
(1)保持水的化学性质的最小粒子是
.
(2)右图是活性炭净水器示意图,其中活性炭的作用是:
.
(3)硬水给人们的生活带来了许多麻烦,生可用
(填一试剂)来区分硬水和软水可通过
或
方法使硬水软化.
(4)地球表面约有7l%被水覆盖,但可供人类利用的淡水总量却不足1%.爱护水资源是每个公民的责任和义务.下列行为属于节约用水的是
(填序号 )
A.洗澡擦香皂时不关上喷头 B.不间断放水刷牙
C.用自来水不断为西瓜冲水降温 D.用洗衣水冲厕所.

查看答案和解析>>
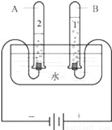
科目:
来源:2012-2013学年云南省昭通区大关县悦乐一中九年级(上)期中化学试卷(解析版)
题型:填空题
电解水的实验装置如图,通电后,电极上出现
,试管A中得到的气体能
,是
;试管B得到的气体能
,是
,两者的体积比约为
,该反应的文字表达式式为
,属于
反应;实验中收集气体的方法是
.

查看答案和解析>>
科目:
来源:2012-2013学年云南省昭通区大关县悦乐一中九年级(上)期中化学试卷(解析版)
题型:填空题
根据下图所示实验,并阅读小资料,回答下列问题.

(1)图1中反应的文字表达式为
,集气瓶中加入水的作用是
.
(2)图2中反应的文字表达式为
,集气瓶中加入水的作用是
.
查看答案和解析>>