相关习题
0 70262 70270 70276 70280 70286 70288 70292 70298 70300 70306 70312 70316 70318 70322 70328 70330 70336 70340 70342 70346 70348 70352 70354 70356 70357 70358 70360 70361 70362 70364 70366 70370 70372 70376 70378 70382 70388 70390 70396 70400 70402 70406 70412 70418 70420 70426 70430 70432 70438 70442 70448 70456 211419
科目:
来源:2011-2012学年福建省福州市福清元樵中学九年级段考化学试卷(解析版)
题型:选择题
下列四个化学反应的化学方程式,正确且符合下图漫画情景的是( )

A.Fe+2HCl═FeCl
2+H
2↑
B.Cu+FeSO
4═Fe+CuSO
4C.Cu+2AgNO
3═2Ag+Cu(NO
3)
2D.3CO+Fe
2O
3
2Fe+3CO
2
查看答案和解析>>
科目:
来源:2011-2012学年福建省福州市福清元樵中学九年级段考化学试卷(解析版)
题型:填空题
用下列适当物质的化学式填空:氢气、氧气、活性炭、一氧化碳、二氧化碳、甲烷,并写出有关化学方程式.
(1)能使带火星的木条复燃的是 .
(2)能用于灭火的是 .
(3)天然气的主要成分是 .
(4)实验室里常用澄清石灰水检验的气体是 ,反应方程式为 .
(5)具有吸附性,净水器中常使用的物质是 .
查看答案和解析>>
科目:
来源:2011-2012学年福建省福州市福清元樵中学九年级段考化学试卷(解析版)
题型:填空题
从Mg、C、S、H、O、N六种元素中选择适当的元素按要求填空.
(1)用适当的数字和符号填空
①三个镁离子 ②过氧化氢中氧元素的化合价为-1价
(2)写出符合下列要求的物质的化学式:
①充入食品包装袋中可防腐的单质是
②造成温室效应的罪魁祸首是
③能形成硫酸型酸雨的空气污染物是 .
查看答案和解析>>
科目:
来源:2011-2012学年福建省福州市福清元樵中学九年级段考化学试卷(解析版)
题型:填空题
物质的某些性质,可能有利于人类,也可能不利于人类,请仿照示例填写下表
| 物质 | 有利的一面(用途) | 不利的一面 |
| 氢气 | 理想的燃料 | 不纯的氢气点燃可能爆炸 |
| 氧气 | | |
| 一氧化碳 | | |
| 二氧化碳 | | |
查看答案和解析>>
科目:
来源:2011-2012学年福建省福州市福清元樵中学九年级段考化学试卷(解析版)
题型:解答题
(请根据装置图回答下列有关问题(K、K
1、K
2、K
3为止水夹):

(1)写出图中标号仪器的名称:I______、II______.
(2)欲用过氧化氢溶液制氧气,可选用______发生装置(填“A”或“B”),请写出该反应的化学方程式______ 2H
2O+O
2↑
查看答案和解析>>
科目:
来源:2011-2012学年福建省福州市福清元樵中学九年级段考化学试卷(解析版)
题型:解答题
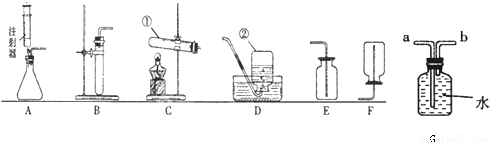
实验室常用下列装置制取气体,我能根据所学知识回答下列问题.

(1)写出指定仪器的名称:①______;②______;
(2)写出一个初中化学中用装置C制气体的化学方程式______△2KCl+3O
2↑
查看答案和解析>>
科目:
来源:2011-2012学年福建省福州市福清元樵中学九年级段考化学试卷(解析版)
题型:解答题
蔗糖(C12H22O11)是生活中最常用的甜味品.它是由 ______种元素组成,其分子中氢、氧原子个数比为 ______.
查看答案和解析>>
科目:
来源:2011-2012学年福建省福州市福清元樵中学九年级段考化学试卷(解析版)
题型:解答题
小明通过查阅资料得知,增大蔬菜大棚里空气中的CO2浓度,可以有效地提高蔬菜的产量.他计划用稀盐酸和石灰石(主要成分是CaCO3,杂质不参与反应)反应,向自家的蔬菜大棚补充CO2.经测算,小明准备向大棚中输入88gCO2,他至少需要CaCO3多少克?
查看答案和解析>>
科目:
来源:2012-2013学年江苏省南京三中九年级(上)化学培优试卷(四)(解析版)
题型:选择题
下列物质属于纯净物的是( )
A.中国钓鱼岛的海水
B.制氧气的高锰酸钾
C.湖光岩的清新空气
D.吴川金九月饼
查看答案和解析>>
科目:
来源:2012-2013学年江苏省南京三中九年级(上)化学培优试卷(四)(解析版)
题型:选择题
如图,是两种气体发生反应的微观示意图,其中相同的球代表同种原子,相关说法正确的是( )

A.分子在化学变化中不可分
B.反应后生成了两种新的化合物
C.原子在化学反应中可分
D.化学反应前后原子的种类不变
查看答案和解析>>