相关习题
0 82303 82311 82317 82321 82327 82329 82333 82339 82341 82347 82353 82357 82359 82363 82369 82371 82377 82381 82383 82387 82389 82393 82395 82397 82398 82399 82401 82402 82403 82405 82407 82411 82413 82417 82419 82423 82429 82431 82437 82441 82443 82447 82453 82459 82461 82467 82471 82473 82479 82483 82489 82497 211419
科目:
来源:2006年江苏省南通市加力外国语学校中考化学模拟试卷(解析版)
题型:选择题
如图是某广口瓶的标签,已经部分被污损和腐蚀.小明想探究其成分,他取2支洁净的试管,分别加入少量广口瓶中的固体,其中一支试管中滴入少量盐酸,有无色无味气泡产生;另一试管中加少量CaCl
2溶液,未产生白色沉淀.则该固体(信息提示:Ca(HCO
3)
2为易溶物)( )

A.一定是Na
2CO
3B.可能是NaHCO
3C.可能是Na
2CO
3,也可能是NaHCO
3D.可能主要是Na
2CO
3,还有少量NaHCO
3
查看答案和解析>>
科目:
来源:2006年江苏省南通市加力外国语学校中考化学模拟试卷(解析版)
题型:选择题
鱼苗在长途运输中,为了避免颠簸而造成洒落,须将鱼苗装入相对密封的容器中,如装入扎口的大塑料袋中.但其容器内必须满足以下条件才能保持鱼苗的存活:(1)充足的氧气;(2)鱼苗呼出的二氧化碳要及时除去;(3)将水的pH调到8~8.5,以防止细菌繁殖.现提供提供具有杀菌能力的下列物质及其在容器中可能发生的反应:
双氧水:2H2O2=2H2O+O2↑;
过氧化钠:2Na2O2+2H2O=4NaOH+O2↑;2Na2O2+2CO2=2Na2CO3+O2↑;
过氧化钙:2CaO2+2H2O=2Ca(OH)2+O2↑;2CaO2+2CO2=2CaCO3+O2↑.
则,下列说法正确的是( )
A.用双氧水比较合适
B.用过氧化钠比较合适
C.用过氧化钙比较合适
D.以上三种都合适
查看答案和解析>>
科目:
来源:2006年江苏省南通市加力外国语学校中考化学模拟试卷(解析版)
题型:选择题
下列说法你认为不合理的是( )
A.使用一次性筷子,既方便又卫生,且耗木材不多、应提倡大量使用
B.塑料像把双刀剑,它既可极大地方便人们的生活,又给环境带来污染
C.甲烷是优良的气体燃料,但矿井里由于它的存在,在通风不良时,易发生爆炸
D.松花江的硝基苯污染中采用活性炭与之发生化学反应生成无污染的物质
查看答案和解析>>
科目:
来源:2006年江苏省南通市加力外国语学校中考化学模拟试卷(解析版)
题型:选择题
黄金首饰的纯度常用“K”来表示,24K是纯金,则18K的首饰中黄金的质量分数是( )
A.25%
B.75%
C.18%
D.36%
查看答案和解析>>
科目:
来源:2006年江苏省南通市加力外国语学校中考化学模拟试卷(解析版)
题型:选择题

向下表的甲物质中逐滴加入相应的乙溶液至过量,反应过程中生成气体或沉淀的质量与加入乙的质量关系,能用如图曲线表是( )
| 序号 | 甲 | 乙 |
| ① | 铜、锌的混合物 | 稀盐酸 |
| ② | 硫酸和硫酸铜的混合物 | 氢氧化钠溶液 |
| ③ | 盐酸和稀硫酸的混合物 | 氯化钡溶液 |
| ④ | 表面生锈的铁钉 | 稀盐酸 |
A.①②
B.②④
C.③④
D.只有④
查看答案和解析>>
科目:
来源:2006年江苏省南通市加力外国语学校中考化学模拟试卷(解析版)
题型:选择题
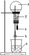
如图所示,烧瓶内盛有x气体,若挤压滴管的胶头a,使液体y进入烧瓶中,振荡烧瓶,并倒放在铁架台上,将导管伸入滴有z的水中,打开弹簧夹b,可见烧杯中液体如喷泉一样喷入烧瓶中,并出现颜色的改变,则x、y、z可能是( )

A.O
2 H
2SO
4 紫色石蕊试液
B.CO
2 NaOH 无色酚酞试液
C.CO Ca(OH)
2无色酚酞试液
D.HCl AgNO
3 紫色石蕊试液
查看答案和解析>>
科目:
来源:2006年江苏省南通市加力外国语学校中考化学模拟试卷(解析版)
题型:解答题
请用化学符号表达图示意义(“

”表示氢原子,“

”表示氧原子)
①

______ ②

______ ③

______.
查看答案和解析>>
科目:
来源:2006年江苏省南通市加力外国语学校中考化学模拟试卷(解析版)
题型:填空题
在2008年北京奥运场馆中,国家游泳中心的外墙体采用ETFE[聚氟乙烯,化学式为:(C2H2F2)n]塑料膜材料作立面,无须清理维护,可以使用15至20年.
(1)ETFE由 种元素组成;其单体氟乙烯[化学式为C2H2F2]中,C、H、F元素间的质量比为 : : (相对原子质量C-12;H-1;F-19);F元素的质量分数为 .(计算结果保留一位小数)
(2)ETFE属于 (选择填空:①混合物②化合物③氧化物④单质)
查看答案和解析>>
科目:
来源:2006年江苏省南通市加力外国语学校中考化学模拟试卷(解析版)
题型:解答题
下表列出了部分人体中含量较多元素的原子结构示意图.请据表回答下列问题:
(1)写出原子(或离子)个数比为1:2的化合物化学式(写4种)______、______、______、______.
(2)钙元素的核电荷数是______;Ca
2+的核外电子数为______.
(3)选择适当的元素,组成一种符合下列内容的物质,请用化学式表示.
| 序号 | 内容 | 化学式 | 序号 | 内容 | 化学式 |
| (1) | 清洁无污染的单质燃料 | ______ | (3) | 胃酸呈现酸性的主要物质 | ______ |
| (2) | 生石灰的主要成份 | ______ | (4) | 重要的化工原料,俗称烧碱 | ______ |
查看答案和解析>>
科目:
来源:2006年江苏省南通市加力外国语学校中考化学模拟试卷(解析版)
题型:解答题
草酸晶体是重要的有机试剂,其化学式为H2C2O4?2H2O.某研究性学习小组进行以下的猜想:
若加热完全分解:A、只生成CO2、H2O;B、只生成CO、H2O;C、可生成CO、CO2、H2O.请应用所学的化学原理分析以上三种猜想的正确性:
(1)______(填“A”或“B”或“C”)是合理猜想,根据是______.
(2)写出草酸晶体加热完全分解的合理化学方程式(要配平)______ CO2↑+CO↑+3H2O
查看答案和解析>>