科目:初中数学 来源:2#241176#2#3#4#2017#重庆市2016-2017学年八年级6月模拟考数学试卷#4#1 题型:单选题
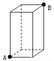
如图,一只蚂蚁从长、宽都是4,高是6的长方体纸箱的A点沿纸箱爬到B点,那么它所行的最短路线的长是( )
![]()
A. 9 B. 10 C.
D. ![]()
查看答案和解析>>
科目:初中数学 来源:2#241073#3#3#14#2017#四川省2017届九年级下学期第三次月考数学试卷#14#1 题型:解答题
如图,反比例函数
与正比例函数y=ax相交于A(1,k),B(-k,-1)两点。
(1)求反比例函数和正比例函数的解析式;
(2)将正比例函数y=ax的图象平移,得到一次函数y=ax+b的图象,与函数
的图象交于C(x1,y1)、D(x2,y2),且|x1-x2|·|y1-y2|=5,求b的值。
![]()
查看答案和解析>>
科目:初中数学 来源:2#241073#3#3#14#2017#四川省2017届九年级下学期第三次月考数学试卷#14#1 题型:选择题
在-3,-1,1,3四个数中,比-2小的数是( )
A.-3 B.-1 C.1 D.3
查看答案和解析>>
科目:初中数学 来源:2#240953#3#7#6#2017#广东省河源市毕业班模拟考试数学试卷#6#3 题型:解答题
已知△ABC,利用直尺和圆规,根据下列要求作图(保留作图痕迹,不要求写作法),并根据要求填空:
(1)作∠ABC的平分线BD交AC于点D;
(2)作线段BD的垂直平分线交AB于点E,交BC于点F.由(1)、(2)可得:线段EF与线段BD的关系为 .
![]()
查看答案和解析>>
科目:初中数学 来源:2#240953#3#7#6#2017#广东省河源市毕业班模拟考试数学试卷#6#3 题型:单选题
小明在测量楼高时,先测出楼房落在地面上的影长BA为15米(如图),然后在A处树立一根高2米的标杆,测得标杆的影长AC为3米,则楼高为( )
![]()
A. 10米 B. 12米 C. 15米 D. 22.5米
查看答案和解析>>
科目:初中数学 来源:2#240953#3#7#6#2017#广东省河源市毕业班模拟考试数学试卷#6#3 题型:单选题
下面四个图形分别是节能、节水、低碳和绿色食品标志,在这四个标志中,是轴对称图形的是( )
A.
B.
C.
D. ![]()
查看答案和解析>>
科目:初中数学 来源:2#241266#3#7#17#2017#辽宁省大石桥市2017届九年级中考模拟数学试卷#17#1 题型:填空题
在函数
中,自变量
的取值范围是______________
查看答案和解析>>
科目:初中数学 来源:2#241248#3#3#9#2017#湖北省鄂州市梁子湖区2017届九年级下学期第三次月考数学试卷#9#1 题型:解答题
如图1,△ABC和△DEF中,AB=AC,DE=DF,∠A=∠D。
(1)求证:
;
(2)由(1)中的结论可知,等腰三角形ABC中,当顶角∠A的大小确定时,它的对边(即底边BC)与邻边(即腰AB或AC)的比值也就确定,我们把这个比值记作T(A),即
,如T(60°)=1.
①理解巩固:T(90°)= ,T(120°)= ,若α是等腰三角形的顶角,则T(α)的取值范围是 ;
②学以致用:如图2,圆锥的母线长为9,底面直径PQ=8,一只蚂蚁从点P沿着圆锥的侧面爬行到点Q,求蚂蚁爬行的最短路径长(精确到0.1)。
(参考数据:T(160°)≈1.97,T(80°)≈1.29,T(40°)≈0.68)
![]()
查看答案和解析>>
湖北省互联网违法和不良信息举报平台 | 网上有害信息举报专区 | 电信诈骗举报专区 | 涉历史虚无主义有害信息举报专区 | 涉企侵权举报专区
违法和不良信息举报电话:027-86699610 举报邮箱:58377363@163.com