相关习题
 0  75232  75240  75246  75250  75256  75258  75262  75268  75270  75276  75282  75286  75288  75292  75298  75300  75306  75310  75312  75316  75318  75322  75324  75326  75327  75328  75330  75331  75332  75334  75336  75340  75342  75346  75348  75352  75358  75360  75366  75370  75372  75376  75382  75388  75390  75396  75400  75402  75408  75412  75418  75426  235360 

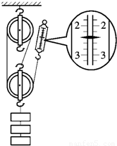
科目: 来源:2012-2013学年新疆乌鲁木齐八中九年级(上)第三次月考物理试卷(解析版) 题型:解答题

如图所示为测量滑轮组机械效率的实验装置,钩码总重6N.
(1)实验时要竖直向上______拉动弹簧测力计,由图中可知拉力大小为______ N,将弹簧测力计向上移动15cm,则钩码上升的高度为______cm,该滑轮组的机械效率为______.
(2)取下2个钩码,再做实验,此时滑轮组的机械效率将______.(选填:“增大”、“减小”或“不变”)

查看答案和解析>>

科目: 来源:2012-2013学年新疆乌鲁木齐八中九年级(上)第三次月考物理试卷(解析版) 题型:解答题

2008年5月我国四川省汶川地区发生了8.0级大地震,给汶川人民造成了极大的生命财产损失,同时也产生了再次威胁人民生命财产安全的堰塞湖,唐家山堰塞湖就是其中最大、最危险的一个.
(1)截止5月31日20时,唐家山堰塞湖水位已涨至海拔733m,当水位继续上涨至海拔741m时,水就可以从工程人员挖的引流渠流走,从而减轻高水位对堰体的威胁.求水位从海拔733m涨至海拔741m时,水对湖底产生的压强增大了多少?
(2)为确保引流渠的水流畅通,需清理湖中的大型漂浮物.湖中现有一漂浮物,它浸入水中的体积是0.1m3,工作人员使用如图所示的吊车将它打捞上岸.已知漂浮物出水后,吊车将漂浮物以20cm/s的速度提高2m的过程中,绕在滑轮组上绳子的拉力F为400N.求拉力F的功率和滑轮组的机械效率?(g 取10N/kg)

查看答案和解析>>

科目: 来源:2012-2013学年新疆乌鲁木齐八中九年级(上)第三次月考物理试卷(解析版) 题型:解答题

如图所示,正方体木块漂浮在水面上,其总体积的露出水面,不可伸长的悬绳处于松驰状态.已知绳子能承受的最大拉力为5N,木块边长为0.1m,容器底面积为0.02m2,容器底部有一阀门K.求:
(1)木块的密度;
(2)打开阀门使水缓慢流出,当细绳断裂前一瞬间关闭阀门,此时木块排开水的体积为多少?
(3)在细绳断开后木块再次漂浮时,容器底受到水的压强与断绳前的瞬间相比,容器底受水的压强怎样变化?改变了多少?(取g=10N/kg.)

查看答案和解析>>

科目: 来源:教科版九年级上册《第1章 分子动理论与内能》2013年同步练习卷B(三)(解析版) 题型:选择题

关于燃料的热值,以下说法中正确的是( )
A.燃料的热值与燃料的种类有关系,与燃料的质量和燃烧状况无关
B.燃烧1千克某种燃料放出的热量叫这种燃料的热值
C.燃料燃烧时,质量越大,热值越大
D.燃料不完全燃烧时的热值比完全燃烧时的热值小

查看答案和解析>>

科目: 来源:教科版九年级上册《第1章 分子动理论与内能》2013年同步练习卷B(三)(解析版) 题型:选择题

柴油的热值比煤油的小这表示( )
A.燃烧柴油比煤油放出的热量少
B.燃烧柴油比煤油达到的温度低
C.相同质量的煤油和柴油煤油含热量多
D.相同质量的煤油和柴油完全燃烧时,煤油放出的热量多

查看答案和解析>>

科目: 来源:教科版九年级上册《第1章 分子动理论与内能》2013年同步练习卷B(三)(解析版) 题型:选择题

如图能正确表示某种燃料的热值q与完全燃烧所放出热量Q的关系的是( )
A.
B.
C.
D.

查看答案和解析>>

科目: 来源:教科版九年级上册《第1章 分子动理论与内能》2013年同步练习卷B(三)(解析版) 题型:选择题

煤炭是一种重要能源.区别优劣煤的质量最科学的办法是检测下列物理量中的( )
A.比热容
B.密度
C.热值
D.温度

查看答案和解析>>

科目: 来源:教科版九年级上册《第1章 分子动理论与内能》2013年同步练习卷B(三)(解析版) 题型:填空题

我们把    ,叫做这种燃料的热值,用符号    表示,单位是   

查看答案和解析>>

科目: 来源:教科版九年级上册《第1章 分子动理论与内能》2013年同步练习卷B(三)(解析版) 题型:填空题

质量为m的燃料完全燃烧时所放出的热量Q=    ,Q的单位是   

查看答案和解析>>

科目: 来源:教科版九年级上册《第1章 分子动理论与内能》2013年同步练习卷B(三)(解析版) 题型:填空题

酒精的热值是3.0×107J/kg,表示的物理意义是    .一杯酒精倒出一半,剩下酒精的热值    (选填“变大”、“变小”或“不变”).

查看答案和解析>>

同步练习册答案