相关习题
0 75478 75486 75492 75496 75502 75504 75508 75514 75516 75522 75528 75532 75534 75538 75544 75546 75552 75556 75558 75562 75564 75568 75570 75572 75573 75574 75576 75577 75578 75580 75582 75586 75588 75592 75594 75598 75604 75606 75612 75616 75618 75622 75628 75634 75636 75642 75646 75648 75654 75658 75664 75672 235360
科目:
来源:新人教版九年级上册《第17章 欧姆定律》2013年同步练习卷A(二)(解析版)
题型:选择题
根据欧姆定律 I=U/R,下列哪种说法是正确的( )
A.通过导体的电流越大,这段导体的电阻就越小
B.导体两端的电压越大,这段导体的电阻就越大
C.导体的电阻与电压成正比,与电流成反比
D.导体两端的电压越大,这段导体中电流就越大
查看答案和解析>>
科目:
来源:新人教版九年级上册《第17章 欧姆定律》2013年同步练习卷A(二)(解析版)
题型:选择题
将一段电阻丝接在3V的电源上,测得通过它的电流为0.3A.若把该电阻改接在另一个电源上时,测得通过它的电流为0.2A.则此时的电源电压和该电阻的阻值分别为( )
A.2V 15Ω
B.3V 10Ω
C.2V 10Ω
D.3V 5Ω
查看答案和解析>>
科目:
来源:新人教版九年级上册《第17章 欧姆定律》2013年同步练习卷A(二)(解析版)
题型:选择题
如图所示是两电阻R
1、R
2的U-I图线,由图可知( )

A.R
1=20Ω,R
2=10Ω
B.R
1=10Ω,R
2=20Ω
C.R
1=30Ω,R
2=20Ω
D.R
1=20Ω,R
2=30Ω
查看答案和解析>>
科目:
来源:新人教版九年级上册《第17章 欧姆定律》2013年同步练习卷A(二)(解析版)
题型:选择题
从欧姆定律可以导出公式

.对电阻的理解.你认为正确的是( )
A.当电压增大时,电阻也增大
B.当电流增大时,电阻减小
C.当电压为零时,电阻也为零
D.电阻由导体本身性质决定,与电流、电压无关
查看答案和解析>>
科目:
来源:新人教版九年级上册《第17章 欧姆定律》2013年同步练习卷A(二)(解析版)
题型:选择题
如图所示,电源电压不变,R
1=3Ω.若只闭合S
1时,电流表的示数为1.5A,同时闭合S
1、S
2时,电流表的示数为2A,则R
2的电阻为( )

A.9Ω
B.6Ω
C.4Ω
D.3Ω
查看答案和解析>>
科目:
来源:新人教版九年级上册《第17章 欧姆定律》2013年同步练习卷A(二)(解析版)
题型:选择题
从欧姆定律可以导出公式R=

,下列说法正确的是 ( )
A.当电压U增大为原来的2倍时,电阻R也增大为原来的2倍
B.当电流I增大为原来的2倍时,电阻R减小为原来的二分之一
C.通过导体的电流若为零,电阻也为零
D.即使导体两端的电压为零,电阻也不为零
查看答案和解析>>
科目:
来源:新人教版九年级上册《第17章 欧姆定律》2013年同步练习卷A(二)(解析版)
题型:选择题
在某一温度下,连接在电路中的两段导体A和B中的电流与其两端电压的关系如图所示.由图中信息可知( )

A.A导体的电阻为10Ω
B.B导体的电阻为10Ω
C.A导体两端电压为3V时,通过A导体的电流为0.3A
D.B导体两端电压为3V时,通过B导体的电流为0.6A
查看答案和解析>>
科目:
来源:新人教版九年级上册《第17章 欧姆定律》2013年同步练习卷A(二)(解析版)
题型:选择题

如图所示的电路图,电源电压不变,当开关S
1、S
2都闭合,电流表的示数为0.25A,电压表的示数为8V:断开电路后,将电压表、电流表的位置互换,S
1断开,S
2闭合,电流表的示数为0.2A,则( )
A.R
1=8Ω,R
2=40Ω
B.R
1=32Ω,R
2=40Ω
C.R
1=40Ω,R
2=32Ω
D.R
1=32Ω,R
2=8Ω
查看答案和解析>>
科目:
来源:新人教版九年级上册《第17章 欧姆定律》2013年同步练习卷A(二)(解析版)
题型:解答题
如图所示的电路中,电源电压保持不变,电阻R
2=20Ω.闭合开关S后,电流表A
1的示数为0.5A,电流表A
2的示数为0.3A,求:
(1)电源电压;
(2)电阻R
1中的电流;
(3)电阻R
1的阻值.

查看答案和解析>>
科目:
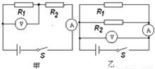
来源:新人教版九年级上册《第17章 欧姆定律》2013年同步练习卷A(二)(解析版)
题型:解答题
如图所示电路,电源电压保持不变.在甲图中,闭合开关S,电压表示数为4V,电流表示数为0.4A;乙图中,闭合开关S,电压表示数为6V.求:
(1)R
1、R
2的阻值;
(2)乙图中电流表示数.

查看答案和解析>>