相关习题
0 75630 75638 75644 75648 75654 75656 75660 75666 75668 75674 75680 75684 75686 75690 75696 75698 75704 75708 75710 75714 75716 75720 75722 75724 75725 75726 75728 75729 75730 75732 75734 75738 75740 75744 75746 75750 75756 75758 75764 75768 75770 75774 75780 75786 75788 75794 75798 75800 75806 75810 75816 75824 235360
科目:
来源:2010-2011学年新疆九年级(上)期末物理试卷(解析版)
题型:解答题
体积240立方厘米,质量是1.78kg的铜球,你认为是空心还是实心的?如果是空心的,那么在空心部分注满水、问球的总质量是多少?
查看答案和解析>>
科目:
来源:2010-2011学年新疆九年级(上)期末物理试卷(解析版)
题型:解答题
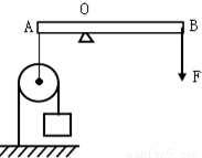
已知G=100N,AO=10cm,AB=30cm,滑轮重及摩擦不计,求作用在B端的力多大时杠杆在水平位置平衡?

查看答案和解析>>
科目:
来源:2010-2011学年新疆九年级(上)期末物理试卷(解析版)
题型:解答题
北京时间2010年2月18日,在温哥华冬奥会女子短道速滑500米决赛中,王濛以43秒048的成绩夺得中国在本届冬奥会上第二枚金牌.如图所示,王濛在滑冰场上快速滑行,她和冰刀的总质量为60千克,已知每只冰刀与冰面的接触面积为15厘米
2. 问:
①王濛受到的重力是多大?
②王濛在单脚滑行时对冰面的压强是多大?
③当王濛双脚站立时,她对冰面的压力和压强为多少?

查看答案和解析>>
科目:
来源:2010-2011学年新疆九年级(上)期末物理试卷(解析版)
题型:解答题
如图所示,边长为0.1m的正方体物块A静止在面积为0.5m
2的水下桌面上,物块B的质量是1kg,物块A对桌面的压强是3×10
3Pa.不计滑轮轴处的摩擦及绳重,A物体对桌面的压力______N.那么物块A重______N.

查看答案和解析>>
科目:
来源:2011-2012学年广东省江门市福泉奥林匹克学校九年级(上)期中物理试卷(解析版)
题型:选择题
下列事实中为了减小摩擦的是( )
A.下雪天,在地面上铺沙子
B.汽车轮胎上有许多凹凸不平的花纹
C.体操运动员往手上抹镁粉
D.在机器的转动部分涂润滑油
查看答案和解析>>
科目:
来源:2011-2012学年广东省江门市福泉奥林匹克学校九年级(上)期中物理试卷(解析版)
题型:选择题
如图所示,玻璃容器侧壁上有三个高度不同的小孔,分别为,在容器内注满水,则从小孔中流出去的水射得最远的是( )

A.A小孔
B.B小孔
C.C小孔
D.一样远
查看答案和解析>>
科目:
来源:2011-2012学年广东省江门市福泉奥林匹克学校九年级(上)期中物理试卷(解析版)
题型:选择题
随着我市经济的快速发展,居民生活水平显著提高,轿车逐渐走进千家万户.关于轿车所应用的物理知识,下列说法错误的是( )
A.观后镜能扩大视野,有利于避免交通事故的发生
B.安全带做得较宽,是为了增大压强,保证安全
C.车上配备安全气囊,是为了防止发生撞击时由于惯性对人体造成伤害
D.汽车每过一段时间就需要保养,给有关部件加润滑油,是为了减小部件间的摩擦
查看答案和解析>>
科目:
来源:2011-2012学年广东省江门市福泉奥林匹克学校九年级(上)期中物理试卷(解析版)
题型:选择题
下列现象对应的物理知识正确的是( )
A.拉弯的弓--力改变物体的运动状态?
B.孤掌难鸣--二力平衡?
C.苹果落地--重力作用?
D.用吸管喝饮料--液体压强
查看答案和解析>>
科目:
来源:2011-2012学年广东省江门市福泉奥林匹克学校九年级(上)期中物理试卷(解析版)
题型:选择题
将一小木块分别放入盐水、纯水、酒精中漂浮时,木块受到的浮力情况是( )
A.在盐水中最大
B.在纯水中最大
C.在酒精中最大
D.在三种液体中一样大
查看答案和解析>>
科目:
来源:2011-2012学年广东省江门市福泉奥林匹克学校九年级(上)期中物理试卷(解析版)
题型:选择题
鱼鳔是鱼体内可以涨缩的气囊,是鱼类的沉浮器官.鱼鳔主要是通过改变下列哪一个因素来实现沉浮的( )
A.鱼的重力
B.鱼的质量
C.鱼排开水的体积
D.鱼受到的压强
查看答案和解析>>