相关习题
 0  76043  76051  76057  76061  76067  76069  76073  76079  76081  76087  76093  76097  76099  76103  76109  76111  76117  76121  76123  76127  76129  76133  76135  76137  76138  76139  76141  76142  76143  76145  76147  76151  76153  76157  76159  76163  76169  76171  76177  76181  76183  76187  76193  76199  76201  76207  76211  76213  76219  76223  76229  76237  235360 

科目: 来源:2012-2013学年北师大版九年级(上)期中物理试卷(一)(解析版) 题型:解答题

在探究“电流与电压、电阻的关系”的过程小,小吴同学作出了以下猜想:
猜想A:电流可能跟电压成正比.
猜想B:电流可能跟电阻成反比.
为了检验上述猜想是否正确,小吴同学设计了如图所示的电路并连接实物进行实验探究,电路中R为定值电阻,R′为滑动变阻器.他设计的实验步骤为:
步骤l:保持定值电阻R=10Ω不变,闭合开关S后,调节滑动变阻器R′,使定值电阻R两端的电压分别为lV、2V、3V,分别读出电流表的示数并记录在表格l中,分析数据得出结论.
表1:
电阻R=12Ω
电压(v)123
电流(A)
结论
步骤2:让定值电阻分别为5Ω、10Ω、15Ω,保持定值电阻两端的电压U=2V不变,分别读出电流表的示数并记录在表格2中,分析数据得出结论.

(1)请你帮小吴同学设计表格2,画在上面的虚线框内.
(2)在步骤2中,保持定值电阻两端的电压不变的方法是什么?
(3)小吴同学使厢的电流表有两个量程:0.6A和3A,根据你现有的知识和经验,你认为他应该使用哪个量程,为什么?
(4)上述小吴同学的探究有下列一些环节:
①分析归纳;②设计实验;③提出猜想;④得出结论;⑤进行实验并收集数据.
他探究问题的环节顺序是(请填写代号)______.

查看答案和解析>>

科目: 来源:2012-2013学年北师大版九年级(上)期中物理试卷(一)(解析版) 题型:填空题

在探究导体电阻大小与哪些因素有关的实验中,采用了“控制变量”的方法.下表是某实验小组在实验中所用导体的相关物理量的记录:
(l)要探究导体电阻大小与长度是否有关,应选用    两根导体;
(2)要探究导体电阻大小与横截面积是否有关,应选用    两根导体.
导体编号ABCD
长度(m)1.01.01.00.5
横截面积(mm21.21.22.41.2
材料镍铬丝锰铜丝镍铬丝镍铬丝

查看答案和解析>>

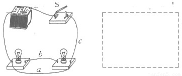
科目: 来源:2012-2013学年北师大版九年级(上)期中物理试卷(一)(解析版) 题型:解答题

如图所示电路.
(1)闭合开关后电路将______.(填“通路”、“断路”或“短路”)
(2)改变a,b,C三根导线中一根的接法,使电路成为并联电路.(先在原导线上打“×”,然后更改接法)

查看答案和解析>>

科目: 来源:2012-2013学年北师大版九年级(上)期中物理试卷(一)(解析版) 题型:解答题

湛江市正在创建国家环境保护模范城市,推开窗门,满目清翠,走出家门,街道宽敞整洁,车水马龙,热闹非凡.小明家住市中心,他担心奶奶寂寞,想奶奶与他同住,但奶奶嫌城市夏天太热而不愿住,这激发了小明探究城乡温差原因的兴趣.暑假的某一天,他请学校兴趣小组的同学分别到选定地点,于中午同一时刻测出测试点的气温,如下表.
地点麻章城镇
居民区
赤坎
商业区
寸金桥
公园
廉江城镇
居民区
龙海天
海滨
遂溪
农村
霞山
市中心
吉兆湾
海滨
徐闻
农村
雷州
西湖公园
气温(℃)36.137.23435.532.833.53732.534.234.5
(1)气温最低的区域是______;解析该区域气温低的主要原因______;
(2)质量为10kg的水在太阳光的照射下,温度升高了5℃,水吸收的热量是______J,这是通过______方式改变水的内能.[水的比热容为c=4.2×103J/]
(3)请你为湛江市“创模”献计献策,提出两种降低市中心环境气温的办法:
①______;
②______.

查看答案和解析>>

科目: 来源:2012-2013学年北师大版九年级(上)期中物理试卷(一)(解析版) 题型:解答题

励才中学的物理兴趣小组,根据生活经验提出了这样的猜测:“保温瓶内的水温下降快慢可能与保温瓶中盛热水的多少有关”.
为了研究这个问题,兴趣小组的同学从总务处借来了8个同样容量的保温瓶做实验.在8个瓶中分别装入初温相等、质量不同的热水,在同一环境中同时测量,以保证环境温度相同.8个小时后再测量水温.以下是同学们的实验结果:
保温瓶编号12345678
瓶内水的质量m/kg2.01.91.81.71.61.51.41.3
水温初温t/℃9898989898989898
末温t1/℃84.5848381.5794876.574
8h后的温差△t/℃13.5141516.5195021.524
(1)同学们回顾实验的过程,确认读数均正确无误,但他们发现6号保温瓶中水的温差与其他各保温瓶中的水的温差趋势明显不一致.你认为实验的时候,在器材选择上还存在什么问题?由此可知,这个实验还存在缺陷,你认为应作怎样的改进?
(2)分析表中数据后,你觉得保温瓶中水温下降的快慢与保温瓶中水的质量有无关系?若有关系,请说出有何关系?

查看答案和解析>>

科目: 来源:2012-2013学年北师大版九年级(上)期中物理试卷(一)(解析版) 题型:解答题

为了研究金属的吸热能力,晓丽做了如下探究:
器材与装置:两只烧杯、两支温度计、质量相同的水和铁粉.
探究过程:将分别盛有水和铁粉的烧杯放在阳光下照射,如图21所示,用温度计每隔一段时间测一下温度,得到如下实验数据:
温度\时间3691215
铁粉151720222427
151617181819
晓丽换用其他金属与水一起做相同的实验,均得出相似的数据.
她经过数据分析,得出结论:质量相同的金属和水在阳光下照射相同的时间,金属升高的温度比水升高的温度______.为比较物质这种能力的不同,引入了比热容这一物理量.
由此,晓丽解释了家中暖气片内用水做循环物质的原因:因为水的比热容比较______.

查看答案和解析>>

科目: 来源:北师大版九年级全一册《13.2内能》2013年同步练习(一)(解析版) 题型:选择题

同一物体的内能取决于( )
A.物体的温度
B.物体体积的大小
C.物体运动的速度
D.物体离地面的高度

查看答案和解析>>

科目: 来源:北师大版九年级全一册《13.2内能》2013年同步练习(一)(解析版) 题型:选择题

关于物体的内能,下列说法中正确的是( )
A.内能、物体的运动速度越大,具有的内能越多
B.静止的物体没有动能也没有内能
C.静止的物体没有动能但有内能
D.火红的铁块具有内能,冰冷的冰块也具有内能,一切物体都具有内能

查看答案和解析>>

科目: 来源:北师大版九年级全一册《13.2内能》2013年同步练习(一)(解析版) 题型:选择题

在空中飞行的子弹( )
A.具有较大的机械能,但没有内能
B.既具有机械能,又具有内能
C.有一定的机械能,但不一定有内能
D.没有机械能,但有内能

查看答案和解析>>

科目: 来源:北师大版九年级全一册《13.2内能》2013年同步练习(一)(解析版) 题型:选择题

在温度为0℃时,静止在桌面上的铁块( )
A.只具有内能
B.只具有机械能
C.既具有机械能,又具有内能
D.既没有机械能,又没有内能

查看答案和解析>>

同步练习册答案