相关习题
 0  76163  76171  76177  76181  76187  76189  76193  76199  76201  76207  76213  76217  76219  76223  76229  76231  76237  76241  76243  76247  76249  76253  76255  76257  76258  76259  76261  76262  76263  76265  76267  76271  76273  76277  76279  76283  76289  76291  76297  76301  76303  76307  76313  76319  76321  76327  76331  76333  76339  76343  76349  76357  235360 

科目: 来源:2012-2013学年四川省自贡市富顺三中九年级(上)第二学月检测物理试卷(解析版) 题型:填空题

如图所示,是公路旁的交通标志牌,它告诉汽车驾驶员,从现在起,车速不得超过     .如果这时车以10m/s的速度匀速行驶,则车     (“有”或“没有”)违反交通规则.车经过     min到达收费站.

查看答案和解析>>

科目: 来源:2012-2013学年四川省自贡市富顺三中九年级(上)第二学月检测物理试卷(解析版) 题型:填空题

如图中盒装纯牛奶的体积为250ml.若该牛奶的密度是1.2×103kg/m3,则牛奶的质量为    kg.喝掉一半后,牛奶的密度将    .(填“变大”、“变小”或“不变”)

查看答案和解析>>

科目: 来源:2012-2013学年四川省自贡市富顺三中九年级(上)第二学月检测物理试卷(解析版) 题型:填空题

如图所示的装置中,物体重200N,如果在一端拉绳,使物体在桌面上匀速运动,此时拉力恰好为30N,则物体与桌面间的摩擦力为    N.(不计绳重及动滑轮重、不计绳与滑轮间摩擦)

查看答案和解析>>

科目: 来源:2012-2013学年四川省自贡市富顺三中九年级(上)第二学月检测物理试卷(解析版) 题型:填空题

如图所示,用始终与杠杆垂直的力F,将杠杆缓慢地由位置A拉至位置B,阻力G的力臂     ,动力F     .(填“变大”或“变小”“不变”)

查看答案和解析>>

科目: 来源:2012-2013学年四川省自贡市富顺三中九年级(上)第二学月检测物理试卷(解析版) 题型:填空题

如图6中(a)、(b) 图的情景表示了力的作用效果,其中图(a)主要表示力能使物体的    发生改变;图(b)主要表示力能使物体发生    .图(C),说明力的作用效果不仅跟力的大小、方向有关,还跟力的    有关;

查看答案和解析>>

科目: 来源:2012-2013学年四川省自贡市富顺三中九年级(上)第二学月检测物理试卷(解析版) 题型:填空题

在图中,这个情景能反映一个物理知识:图中人能将饮料吸到嘴中,是利用了    .船闸是利用了    原理.

查看答案和解析>>

科目: 来源:2012-2013学年四川省自贡市富顺三中九年级(上)第二学月检测物理试卷(解析版) 题型:填空题

用一弹簧测力计挂着一实心圆柱体,圆柱体的底面刚好与水面接触(未浸入水),如图(甲),然后将其逐渐浸入水中,图(乙)所示是弹簧测力计示数随圆柱体逐渐浸入水中深度的变化情况,则圆柱体受到的最大浮力是     N;圆柱体刚浸没时下表面受到的液体压强是     pa.

查看答案和解析>>

科目: 来源:2012-2013学年四川省自贡市富顺三中九年级(上)第二学月检测物理试卷(解析版) 题型:解答题

如图所示,质量为3kg的物体漂浮在水面上,画出此物体所受到的力的示意图.(g=10N/kg).

查看答案和解析>>

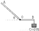
科目: 来源:2012-2013学年四川省自贡市富顺三中九年级(上)第二学月检测物理试卷(解析版) 题型:解答题

如图所示,AOB为一机械设备的简化示意图,我们可以把它看成杠杆(自重不计),已知AO=2OB.固定O点,使OB 处于水平位置,此时B 端挂一重为40N 的物体,要使杠杆不发生转动,至少需在A 端施加F=______N 的力,在图上画出此时力F的方向.

查看答案和解析>>

科目: 来源:2012-2013学年四川省自贡市富顺三中九年级(上)第二学月检测物理试卷(解析版) 题型:解答题

阅读下列材料,然后回答问题.
物理学中把具有流动性的液体和气体统称为流体.当流体处于流动状态时,其内部各处的压强有什么规律呢?
小明同学将如图甲所示的玻璃管装置按到水流稳定的自来水管上,当水在玻璃管中流
动时,可看到两个竖直管中液面的高度并不相同.从图中可以看出在A、B两处管的粗细不同,因而A处流速小,B处流速大,可见流体的压强与流速之间有着一定的关系.
接着,小明又自制了一个飞机机翼模型(如图),将其固定在托盘测力计上,在机翼模型的正前方用电扇迎面吹风,来模拟飞机飞行时的气流,比较机翼上下方气流压强的大小,进一步验证了上面的关系.

(1)由图甲所示的实验,可以得出流体的压强与流速之间有什么关系?答:______
(2)在图乙所示的实验中,电扇转动后,托盘测力计的示数发生了什么变化?答:______
(3)下列四种情形中,哪几种情形能够运上述的实验规律进行解释______.
A.乒乓球运动员拉出的弧圈球能急速旋转而下沉
B.将氢气球放手后,它会漂向空中
C.直升飞机能够停在空中一定高度处
D.船舶航行时应避免两艘靠近的船并排前进.

查看答案和解析>>

同步练习册答案