相关习题
0 77342 77350 77356 77360 77366 77368 77372 77378 77380 77386 77392 77396 77398 77402 77408 77410 77416 77420 77422 77426 77428 77432 77434 77436 77437 77438 77440 77441 77442 77444 77446 77450 77452 77456 77458 77462 77468 77470 77476 77480 77482 77486 77492 77498 77500 77506 77510 77512 77518 77522 77528 77536 235360
科目:
来源:2012-2013学年江苏省宿迁市中扬中学九年级(上)第二次月考物理试卷(解析版)
题型:填空题
有两个电阻,R1=4Ω,R2=6Ω,如果把它们串联在电路中,通过它们的电流分别为I1、I2,它们两端的电压分别为U1、U2,则I1:I2= ,U1:U2= .
查看答案和解析>>
科目:
来源:2012-2013学年江苏省宿迁市中扬中学九年级(上)第二次月考物理试卷(解析版)
题型:填空题
汽油机是工农业生产中常用的热机,某型号汽油机的结构如图,若该汽油机的效率是20%,飞轮转速是1200r/min,汽油的热值为4.6×10
7J/kg,则在汽油机内完全燃烧2kg汽油能放热
J,这些热通过该汽油机转化的能对外做有用功
J;该汽油机每秒钟内完成
个冲程,做功
次.为了降低汽缸体的温度,汽缸外有一个水箱,使汽缸被水包围着,用水来降低汽缸体的温度是因为水的
.

查看答案和解析>>
科目:
来源:2012-2013学年江苏省宿迁市中扬中学九年级(上)第二次月考物理试卷(解析版)
题型:填空题

如图所示,建筑工人用滑轮组提升重为220N的泥桶,其中桶重20N.动滑轮重为20N,不计滑轮与轴之间的摩擦及绳重;若工人在5s内将绳子匀速向上拉6m,则泥桶上升
m,手拉绳子的力为
N,拉力的功率为
W,滑轮组的机械效率为
.
查看答案和解析>>
科目:
来源:2012-2013学年江苏省宿迁市中扬中学九年级(上)第二次月考物理试卷(解析版)
题型:填空题
图所示的电路中,L
1、L
2是两只规格不同的小灯泡,当闭合开关S时,
(1)若发现L
1亮、L
2不亮,分析其电路有故障,则故障是
;
(2)若发现电流表A
1和A
2的示数不相等,分析其原因,则可能是
.

查看答案和解析>>
科目:
来源:2012-2013学年江苏省宿迁市中扬中学九年级(上)第二次月考物理试卷(解析版)
题型:填空题
如图是我国用长征火箭发射“嫦娥一号”卫星时的壮观情景.
(1)火箭发射升空时,燃料通过燃烧将化学能转化为燃气的
能,再转化为火箭的
能;火箭的燃料使用液态氢,主要是因为它的密度小且
大.
(2)“嫦娥一号”卫星绕月飞行时在遭遇月食期间没有太阳光照射,卫星表面的温度会急剧下降,内能
,这是通过
的方式改变物体的内能.
(3)卫星在轨道上从远地点到近地点运行的过程中,飞船的重力势能
,速度
.(选填“变大”、“变小”或“不变”)

查看答案和解析>>
科目:
来源:2012-2013学年江苏省宿迁市中扬中学九年级(上)第二次月考物理试卷(解析版)
题型:填空题
如图所示,电源电压等于6V且保持不变,灯L
1的电阻等于10Ω,灯L
2的电阻等20Ω.则闭合开关S,电压表示数为
V,电流表示数为
A;断开开关S,电压表示数为
V.

查看答案和解析>>
科目:
来源:2012-2013学年江苏省宿迁市中扬中学九年级(上)第二次月考物理试卷(解析版)
题型:填空题
轿车仪表盘上有一个用来提醒司机车门是否关好的指示灯,若四个车门中任意一个车门未关好,该指示灯会一直发光,其工作原理如图所示.则电阻R
在电路中的作用是
;你认为该电路的不足之处是
(选填一点).

查看答案和解析>>
科目:
来源:2012-2013学年江苏省宿迁市中扬中学九年级(上)第二次月考物理试卷(解析版)
题型:解答题
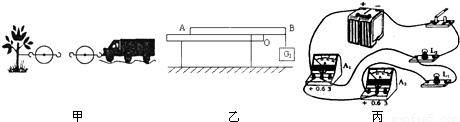
按照题目要求作图:

(1)如图甲所示,要用滑轮组将陷入泥潭的汽车拉出,请在图中画出最省力的绳子绕法.
(2)如图乙,密度均匀的直杆AB,自重为G
1,AB的一部分伸出桌外,当B端挂G
2物体时,杆刚刚开始翘起,(O为直杆刚翘起时,杆与桌面边缘的接触点).若G
2对绳子产生的拉力为动力,请画出杆AB所受阻力F
2和阻力臂l
2.
(3)在图丙所示的电路图上只改动一根导线,使两只电流表分别测干路和支路的电流.(要求在改动的导线上画“×”,再画出改动后的导线)
查看答案和解析>>
科目:
来源:2012-2013学年江苏省宿迁市中扬中学九年级(上)第二次月考物理试卷(解析版)
题型:解答题
如图所示,电阻R
1 为6Ω,将它与R
2串联后接到8V的电源上,已知R
2两端的电压是2V.
请求出:
(1)流过的电流I
1;
(2)R
2的阻值;
(3)电路的总电阻.

查看答案和解析>>
科目:
来源:2012-2013学年江苏省宿迁市中扬中学九年级(上)第二次月考物理试卷(解析版)
题型:解答题
在研究性学习中,有一组同学设计了“测定斜面的机械效率”的实验.
如图所示,用高为30cm的木块将带有刻度的平木板垫起,构成一个斜面,并使它固定,把小车放在斜面底端A,用弹簧测力计拉着小车从位置A沿斜面匀速上升到B位置,上升过程中弹簧测力计的示数如图所示.

(1)根据题中提供的信息,在下面的实验记录表格中完成相关的内容:
| 小车的重力G/N | 沿斜面的拉力F/N | 小车沿斜面上升的距离L/m | 小车上升高度h/m |
| 2 | | 0.8 | |
(2)根据以上的实验记录,完成下列计算:
拉力F在这过程中做的有用功是:______;
拉力F在这过程中做总功是:______;
该次实验的机械效率是:______.
查看答案和解析>>