相关习题
 0  77577  77585  77591  77595  77601  77603  77607  77613  77615  77621  77627  77631  77633  77637  77643  77645  77651  77655  77657  77661  77663  77667  77669  77671  77672  77673  77675  77676  77677  77679  77681  77685  77687  77691  77693  77697  77703  77705  77711  77715  77717  77721  77727  77733  77735  77741  77745  77747  77753  77757  77763  77771  235360 

科目: 来源:2012-2013学年江苏省盐城市盐都县尚庄中学九年级(上)第三次月考物理试卷(解析版) 题型:填空题

小鹏家新房的电能表如图所示,则小鹏家已消耗的电能为    kW?h.他发现家里只使用一只电水壶(其它用电器都关闭)时,观察到电能表转盘15分钟转过500转,电水壶在这段时间内消耗的电能为    kW?h,合    J.

查看答案和解析>>

科目: 来源:2012-2013学年江苏省盐城市盐都县尚庄中学九年级(上)第三次月考物理试卷(解析版) 题型:填空题

如图甲的电路中,电源电压保持不变,闭合开关后,滑片P由b端滑到a端,电压表示数U与电流表示数I的变化关系如图乙.则电源电压为    V,当滑片P置于a端时,10s电路总共消耗的电能为    J.当滑动变阻器的阻值调为    Ω时,电路中的电流最小,此时滑动变阻器两端电压为    V.

查看答案和解析>>

科目: 来源:2012-2013学年江苏省盐城市盐都县尚庄中学九年级(上)第三次月考物理试卷(解析版) 题型:解答题

在如图中,根据标出的电流方向,从电池、电流表、电压表三个元件中选出两个元件,并将所选的元件符号填入电路的空缺处.要求:
(1)左图灯L1和L2串联,且都能发光.
(2)右图灯L1和L2并联,且都能发光.

查看答案和解析>>

科目: 来源:2012-2013学年江苏省盐城市盐都县尚庄中学九年级(上)第三次月考物理试卷(解析版) 题型:解答题

如图所示为“探究影响导体电阻大小因素”的实验电路,A、B之间接导体,下表是某实验小组在实验中所用导体的相关物理量的记录:
导体编号ABCD
长度(m)1.01.01.00.5
横截面积(mm21.21.22.41.2
材料镍铬丝锰铜丝镍铬丝镍铬丝
(1)本实验通过______比较导体电阻的大小,电流表示数越大,所接电阻阻值越______.
(2)要探究导体电阻大小与长度是否有关,应选用编号为______的两根导体,要探究导体电阻大小与材料是否有关,应选用编号为______的两根导体.

查看答案和解析>>

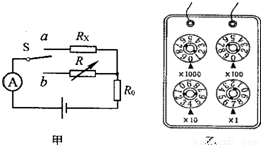
科目: 来源:2012-2013学年江苏省盐城市盐都县尚庄中学九年级(上)第三次月考物理试卷(解析版) 题型:解答题

用如图甲所示的电路可以测量一个未知电阻的阻值,其中Rx为待测电阻,R为电阻箱(符号为),S为单刀双掷开关,R为定值电阻.某同学用该电阻进行实验,主要步骤有:
A、把开关S接b点,调节电阻箱,使电流表的示数为I
B、读出电阻箱的示数R
C、把开关S接a点,读出电流表的示数为I
D、根据电路图,连接实物,将电阻箱的阻值调至最大
(1)上述步骤的合理顺序是______(只需填写序号).
(2)步骤A中电阻箱调节好后示数如图乙所示,则它的示数为______Ω.若已知R的阻值为1OΩ,则待测电阻的阻值为______Ω.
(3)本实验所采用的物理思想方法可称为______(选填:“控制变量法”或“等效替代法”).

查看答案和解析>>

科目: 来源:2012-2013学年江苏省盐城市盐都县尚庄中学九年级(上)第三次月考物理试卷(解析版) 题型:解答题

小明同学在做“测量定值电阻”实验时,其实物电路连接如图甲所示.
(1)连接电路时,应将开关______.
(2)当小明准备闭合开关开始实验时,同伴小红提醒她还有一处不妥当,其不妥当之处是______.
(3)小明更正后,闭合开关,发现电流表、电压表都没有示数.为了尽快查出故障原因,小明将连接在开关A端的导线拆下,把它改接在B端,结果电压表和电流表都有示数,则电路故障是______.
(4)排除故障后,调节滑动变阻器,把测量的几组数据描成如图乙所示的图象,则该电阻的阻值R=______Ω.

查看答案和解析>>

科目: 来源:2012-2013学年江苏省盐城市盐都县尚庄中学九年级(上)第三次月考物理试卷(解析版) 题型:解答题

在“探究电流做功的多少与哪些因素有关的实验”中,经讨论后,同学们提出了电功与电流、电压、时间有关的猜想,并且设计了如图甲、乙、丙三个电路.其中L1、L2是阻值不相等的两个小灯泡.
(1)小麦同学认为甲电路很简洁,利用滑动变阻器改变灯泡中通过的电流,可探究电流做功的多少与电流大小的关系,你认同吗?说明理由:______.
(2)选用乙图实验,可探究电流做功的多少与______的关系.
(3)有一小组同学利用丙图电路研究问题时,当闭合开关后,发现有一只灯不亮,电流表A1有示数,电压表A2无示数,则电路发生的故障是______(填序号).
A、可能是L2所在支路短路          B、可能是L2所在支路断路.

查看答案和解析>>

科目: 来源:2012-2013学年江苏省盐城市盐都县尚庄中学九年级(上)第三次月考物理试卷(解析版) 题型:解答题

在图示的电路中,已知R1=10Ω,R2=20Ω,电压表示数为2V,则
(1)电路中的电流为多少安?
(2)电源两端的电压为多少伏?
(3)通电10s,整个电路消耗的电能为多少焦?

查看答案和解析>>

科目: 来源:2012-2013学年江苏省盐城市盐都县尚庄中学九年级(上)第三次月考物理试卷(解析版) 题型:解答题

如图甲所示的电路,将热敏电阻R放置在热源内,其余部分都置于热源外,这样就可以通过电流表的示数来表示热源温度.已知电源电压是6V,定值电阻R的阻值是5Ω,热敏电阻R的阻值随温度变化的关系如图乙所示.
求:
(1)当热源的温度为30℃时,电流表的示数是多少?
(2)已知电流表的量程是0.6A,此电路能够测量的最高温度是多少?
(3)请在图中电流表的0.2、0.4、0.6刻度上方标相应的温度,能直接显示被测温度.

查看答案和解析>>

科目: 来源:2012-2013学年江苏省盐城市盐都县尚庄中学九年级(上)第三次月考物理试卷(解析版) 题型:解答题

小强利用如图甲所示的电路,实验探究“保持电压不变时,电流跟电阻的关系”.

实验器材:电源(电压恒为4.5V),电流表、电压表各一只,一个开关,三个定值电阻(5Ω、10Ω、15Ω),两只滑动变阻器(10Ω 2A、20Ω 1A),导线若干.
(1)请根据图甲所示的电路图,用笔画线代替导线把图乙所示的实物电路连接完整.
(2)实验中多次改变R的阻值,并得到多组实验数据,由这些数据得到如图丙所示的电流I随电阻R变化的图象,由图象可得结论:______.
①在上述实验中,小强先用5Ω的电阻做完实验后,接着要改用10Ω的电阻继续做实验,应如何具体操作?______.
②当小强改用15Ω的电阻继续实验时,发现无论怎样移动滑动变阻器的滑片,都无法使电压表的示数达到实验要求的值.小强不畏困难,经过认真思考,找出了原因,并利用现有的实验器材解决了问题,完成了实验.请你分析“电压表的示数无法达到实验要求的值”的原因是:______.
并请你想一想小强解决问题可能用到的两种方法(同种方法不能重复使用),并简要说明方法一的理由.
方法一:______.
理由:______.
方法二:______.

查看答案和解析>>

同步练习册答案