相关习题
0 78910 78918 78924 78928 78934 78936 78940 78946 78948 78954 78960 78964 78966 78970 78976 78978 78984 78988 78990 78994 78996 79000 79002 79004 79005 79006 79008 79009 79010 79012 79014 79018 79020 79024 79026 79030 79036 79038 79044 79048 79050 79054 79060 79066 79068 79074 79078 79080 79086 79090 79096 79104 235360
科目:
来源:2011-2012学年河南省周口市郸城中学九年级(上)第二次月考物理试卷(解析版)
题型:填空题
改变内能有不同的方式,图甲是在一个配有活塞的厚壁玻璃筒里放一小团蘸了乙醚的棉花,当迅速压下活塞时,可看见筒内棉花燃烧起来.这是通过
方式使玻璃筒内的空气
增加,温度升高,达到棉花的燃点,使棉花燃烧.图乙是通过
方式把试管里的水加热至沸腾.

查看答案和解析>>
科目:
来源:2011-2012学年河南省周口市郸城中学九年级(上)第二次月考物理试卷(解析版)
题型:填空题
如图所示,虚线框内有两个阻值分别为5Ω、10Ω的电阻,小明同学想了解其连接方式,于是用3V的电源、电流表和开关进行了检测,闭合开关后,测得电流表的读数为0.2A.则两个电阻的连接方式是
.若要增大电流表的读数,可以采取的措施有
.

查看答案和解析>>
科目:
来源:2011-2012学年河南省周口市郸城中学九年级(上)第二次月考物理试卷(解析版)
题型:填空题
在图所示的电路中,电源电压保持不变.当电键S由断开到闭合时,电流表的示数将
,电压表与电流表示数的比值将
.(均选填“变大“、“不变“或“变小“)

查看答案和解析>>
科目:
来源:2011-2012学年河南省周口市郸城中学九年级(上)第二次月考物理试卷(解析版)
题型:填空题
在甲、乙两地之间架设有两根输电践.在一次狂风暴雨之后,这两根输电线在某处发生了短路,为了确定短路的具体位置,电力工人这样操作:他在甲地把这两根输电线的线头分别接到电压为3伏的电池正、负极上,并且测出了这时输电线中的电流为30毫安.已知输电线每米长的电阻是0.01欧,那么发生短路处离甲地 米.
查看答案和解析>>
科目:
来源:2011-2012学年河南省周口市郸城中学九年级(上)第二次月考物理试卷(解析版)
题型:填空题
美国《大众科学》杂志评出2006-2007年度奇思妙想十大发明,其中最引人注意的是“六冲程引擎”,这种引擎在完成四冲程工作后,会把水注入汽缸,使水瞬间变成水蒸气,从而带动活塞运动,产生第五冲程,为汽车提供动力.第六冲程是让水蒸气进入冷凝器,变成可再次注入汽缸的水.其中第五冲程相当于四冲程内燃机的 冲程,在第六冲程中发生的物态变化是 .请你指出该“六冲程引擎”的一个优点: .
查看答案和解析>>
科目:
来源:2011-2012学年河南省周口市郸城中学九年级(上)第二次月考物理试卷(解析版)
题型:填空题
质量为200g的砂子,吸收9.2×103J的热量后,温度升高了50℃,则砂子的比热为 J/,其物理意义是 .
查看答案和解析>>
科目:
来源:2011-2012学年河南省周口市郸城中学九年级(上)第二次月考物理试卷(解析版)
题型:填空题
丝绸跟玻璃棒摩擦后,将玻璃棒跟验电器的金属球接触,验电器的金属箔张开,金属箔带 电荷.
查看答案和解析>>
科目:
来源:2011-2012学年河南省周口市郸城中学九年级(上)第二次月考物理试卷(解析版)
题型:解答题
灯L
1与灯L
2串联,先用电压表测灯L
l两端的电压,如图所示.再测L
2两端电压时,只将电压表接A的一端改接C,这种接法______(填“正确”或“不正确”).理由是______.

查看答案和解析>>
科目:
来源:2011-2012学年河南省周口市郸城中学九年级(上)第二次月考物理试卷(解析版)
题型:解答题
夏季闷热的夜晚,紧闭门窗,开启卧室空调,由于室内外温差大,第二天早晨,玻璃窗上常常会出现一层水雾.这层水雾是在室内一侧,还是在室外一侧?请写出你的猜想及你猜想的依据.
我的猜想:是在______侧(选填“室内”或“室外”)
猜想的依据是:______.
查看答案和解析>>
科目:
来源:2011-2012学年河南省周口市郸城中学九年级(上)第二次月考物理试卷(解析版)
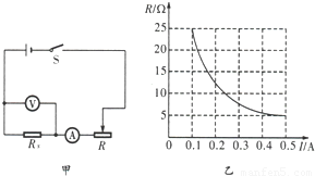
题型:填空题
利用如图甲所示电路,在研究通过导体的电流跟电阻的关系时,要保持导体两端电压不变.实验中,不断改变R
x的阻值,调节滑动变阻器使伏特表示数保持不变,得到了I与R的关系图象,如图乙所示.由图象可以得出的结论是
;此次实验中,伏特表的示数始终保持
V不变.

查看答案和解析>>