相关习题
 0  79199  79207  79213  79217  79223  79225  79229  79235  79237  79243  79249  79253  79255  79259  79265  79267  79273  79277  79279  79283  79285  79289  79291  79293  79294  79295  79297  79298  79299  79301  79303  79307  79309  79313  79315  79319  79325  79327  79333  79337  79339  79343  79349  79355  79357  79363  79367  79369  79375  79379  79385  79393  235360 

科目: 来源:2012-2013学年河南省郑州外国语学校九年级(上)期初物理试卷(解析版) 题型:选择题

如图是在探究甲、乙两种物质质量跟体积关系时作出的图象.以下分析正确的是( )

A.不同物质的质量跟体积的比值是不同的
B.甲物质的密度比乙物质的密度小
C.若V=V则m<m
D.若m=m,则V>V

查看答案和解析>>

科目: 来源:2012-2013学年河南省郑州外国语学校九年级(上)期初物理试卷(解析版) 题型:选择题

小王同学阅读了下表后,得出了一些结论,其中正确的是( )
0℃、1标准大气压下部分物质的密度(kg/m3
1.0×1030.9×103
水银13.6×103干松木0.4×103
酒精0.8×1038.9×103
煤油0.8×1032.7×103

A.不同的物质,密度一定不同
B.固体的密度都比液体的大
C.同种物质在不同状态下,其密度不同
D.质量相等的实心铜块和实心铅块,铜块的体积比铅块小

查看答案和解析>>

科目: 来源:2012-2013学年河南省郑州外国语学校九年级(上)期初物理试卷(解析版) 题型:解答题

如图所示的是一部正在匀速上升的电梯,请你画出电梯受力的示意图.

查看答案和解析>>

科目: 来源:2012-2013学年河南省郑州外国语学校九年级(上)期初物理试卷(解析版) 题型:解答题

水平冰面上有一重为200N的雪橇,受到的拉力为35 N,方向与水平面成30°角.请在图中画出雪橇所受到的拉力的示意图.

查看答案和解析>>

科目: 来源:2012-2013学年河南省郑州外国语学校九年级(上)期初物理试卷(解析版) 题型:解答题

张华和同学到东海岛钢铁基地参加社会实践活动,张华拾到一个小金属零件,他很想知道这个零件是什么材料做成的,就把它带回学校利用天平和量筒来测定这个零件的密度.具体操作如下:
(1)把天平放在水平台上,并将游码移至标尺左端零刻线处;调节天平横梁平衡时,发现指针在分度盘标尺上的位置如图甲所示,此时应将平衡螺母向______(填“左”或“右”)调节.
(2)用调节好的天平测零件的质量,天平平衡时,砝码的质量及游码在标尺上的位置如图乙所示,则零件的质量为______g,用量筒测得零件的体积如图丙所示,则零件的体积为______cm3,由此可算得小金属零件的密度为______g/cm3
(3)若该零件磨损后,它的密度将______ (填“变大”、“变小”或“不变”).

查看答案和解析>>

科目: 来源:2012-2013学年河南省郑州外国语学校九年级(上)期初物理试卷(解析版) 题型:解答题

如图是探究“阻力对物体运动的影响”的过程.
(1)根据图中情景可以判断以下说法正确的是______
A.①是假设,②③是实验事实,④是实验推论
B.①②③④都是实验事实
C.①②是实验事实,③④是实验推论
D.①②③是实验事实,④是实验推论
(2)每次让小车从斜面同一高度由静止滑下,是为了使它在三个水平表面上开始运动时的速度相同,由于______小车还将继续运动;记下小车最终停在水平面上的位置.可知小车受到的阻力越小,小车运动的路程越______.其中运动的小车在木板上最终停下来,是因为小车在水平方向上受______(选填“平衡力”、“非平衡力”或“不受力”).

查看答案和解析>>

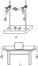
科目: 来源:2012-2013学年河南省郑州外国语学校九年级(上)期初物理试卷(解析版) 题型:解答题

如图甲是小华同学探究二力平衡条件时的实验情景.
(1)小华将系于小卡片(重力可忽略不计)两对角的线分别跨过左右支架上的滑轮,在线的两端挂上钩码,使作用在小卡片上的两个拉力方向______(填“相同”或“相反”),并通过调整______(填“钩码个数”或“单个钩码的质量”)来改变拉力的大小.
(2)当小卡片平衡时,小华将小卡片转过一个角度,松手后小卡片______(选填“能”或“不能”)平衡.设计此实验步骤的目的是为了探究______.
(3)在探究同一问题时,小明将木块放在水平桌面上,设计了如图14乙所示的实验,同学们认为小华的实验优于小明的实验.其主要原因是______.
A.减少摩擦力对实验结果的影响
B.小书片是比较容易获取的材料
C.容易让小卡片在水平方向上保持平衡.

查看答案和解析>>

科目: 来源:2012-2013学年河南省郑州外国语学校九年级(上)期初物理试卷(解析版) 题型:解答题

“文洛克”是2012年伦敦奥运会的吉祥物.图是伦敦街头的一尊吉祥物“文洛克”,其质量为3000kg,体积为2m3.假设“文洛克”是实心的且质地均匀,取g=10N/kg.求:
(1)“文洛克”的重力是多少?
(2)“文洛克”的密度是多少?

查看答案和解析>>

科目: 来源:2012-2013学年河南省郑州外国语学校九年级(上)期初物理试卷(解析版) 题型:解答题

新学期开学后,小明的爸爸开车送他到郑州上学,行驶在京港澳高速公路上
(1)当他们经过如图所示的标志牌时,速度已达40m/s,并仍以此速度在向前开行,他们是否违反了交通法规,为什么?
(2)如果这辆轿车以108km/h的速度匀速行驶,从标志牌处开到郑州需要多长时间(结果保留两位小数)?
(3)近年来,随着人们生活水平的提高,家庭轿车的拥有量逐年攀升,车祸事故也呈上升的趋势,请你结合自己所学的知识,给司机朋友们提两条安全行驶的合理建议.

查看答案和解析>>

科目: 来源:2010-2011学年江苏省泰州市泰兴市西城中学九年级(上)物理同步练习(1)(解析版) 题型:填空题

力与物体在力的方向上通过的距离的乘积称为   

查看答案和解析>>

同步练习册答案