相关习题
0 79347 79355 79361 79365 79371 79373 79377 79383 79385 79391 79397 79401 79403 79407 79413 79415 79421 79425 79427 79431 79433 79437 79439 79441 79442 79443 79445 79446 79447 79449 79451 79455 79457 79461 79463 79467 79473 79475 79481 79485 79487 79491 79497 79503 79505 79511 79515 79517 79523 79527 79533 79541 235360
科目:
来源:2012-2013学年安徽省六安市舒城三中九年级(上)期初物理试卷(解析版)
题型:填空题

如图所示是水坝的截面图,水坝筑成下宽、上窄的形状,是考虑到水对坝体侧面有
,并且随深度的增加而
(选填增加、不变、减小)
查看答案和解析>>
科目:
来源:2012-2013学年安徽省六安市舒城三中九年级(上)期初物理试卷(解析版)
题型:填空题
如图所示,动滑轮重为50N,绳重和摩擦不计,人对绳子的拉力是260N,则物重是
N;若重物上升的高度是0.2m,则绳子自由端下降
m.

查看答案和解析>>
科目:
来源:2012-2013学年安徽省六安市舒城三中九年级(上)期初物理试卷(解析版)
题型:填空题
新烧制的瓷器,可以仿古董的外形,但其中的碳的含量极少,容易被专家检测到,不法分子,常用高温高压的办法,在古董中“渗碳”,这说明温度越高, ;同时也说明分子间有 .
查看答案和解析>>
科目:
来源:2012-2013学年安徽省六安市舒城三中九年级(上)期初物理试卷(解析版)
题型:填空题
将一个物体放入足够多的水中静止时,排开水的体积为90cm3;再将其放入足够多的酒精中静止时,排开了80g的酒精.那么物体的密度为 kg/m3(ρ酒精=0.8×103kg/m3).
查看答案和解析>>
科目:
来源:2012-2013学年安徽省六安市舒城三中九年级(上)期初物理试卷(解析版)
题型:解答题

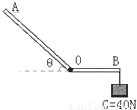
如图所示,AOB为一机械设备的简化示意图,我们可以把它看成杠杆(自重不计),已知AO=2OB.固定O点,使OB 处于水平位置,此时B 端挂一重为40N 的物体,要使杠杆不发生转动,至少需在A 端施加F=______N 的力,在图上画出此时力F的方向.
查看答案和解析>>
科目:
来源:2012-2013学年安徽省六安市舒城三中九年级(上)期初物理试卷(解析版)
题型:填空题
如图为手拉重为3N的小球在水平面内做圆周运动的示意图,请在图中画出小球所受重力的示意图.

查看答案和解析>>
科目:
来源:2012-2013学年安徽省六安市舒城三中九年级(上)期初物理试卷(解析版)
题型:选择题
关于粒子和宇宙,下列认识中正确的是( )
A.红墨水在水中散开说明分子间有排斥力
B.用鼻子嗅气味能鉴别醋和酱油表明分子在运动
C.在水分子、氢原子和电子中,尺度最小的是氢原子
D.宇宙是一个有层次的天体结构系统,恒星是绝对不动的
查看答案和解析>>
科目:
来源:2012-2013学年安徽省六安市舒城三中九年级(上)期初物理试卷(解析版)
题型:选择题
关于力与运动的关系,下列说法正确的是( )
A.静止的物体不受力的作用
B.运动的物体一定受到力的作用
C.物体的运动并不需要力来维持
D.没有力的作用运动物体就会慢慢停下来
查看答案和解析>>
科目:
来源:2012-2013学年安徽省六安市舒城三中九年级(上)期初物理试卷(解析版)
题型:选择题
如图所示,下列器件中属于省力杠杆的是( )
A.

坩埚钳
B.

剪刀
C.

筷子
D.

镊子
查看答案和解析>>
科目:
来源:2012-2013学年安徽省六安市舒城三中九年级(上)期初物理试卷(解析版)
题型:选择题
我们可以用路程来描述物体的运动,还可以从初位置到末位置作出一条线段来表示物体位置的变化.如图,某物体分别沿两条路径从M点运动到N点:第一次先从M到P,再从P到N;第二次直接从M到N.则物体的两次运动( )

A.路程相等,位置的变化相同
B.路程不等,位置的变化不同
C.路程相等,位置的变化不同
D.路程不等,位置的变化相同
查看答案和解析>>