相关习题
 0  80307  80315  80321  80325  80331  80333  80337  80343  80345  80351  80357  80361  80363  80367  80373  80375  80381  80385  80387  80391  80393  80397  80399  80401  80402  80403  80405  80406  80407  80409  80411  80415  80417  80421  80423  80427  80433  80435  80441  80445  80447  80451  80457  80463  80465  80471  80475  80477  80483  80487  80493  80501  235360 

科目: 来源:2011-2012学年福建省漳州市龙海八中九年级(上)物理第9-10章测试题(解析版) 题型:解答题

在图中画出人拉绳子提起重物时最省力的绳子绕法.

查看答案和解析>>

科目: 来源:2011-2012学年福建省漳州市龙海八中九年级(上)物理第9-10章测试题(解析版) 题型:解答题

如图是“研究杠杆的平衡条件”的实验示意图,图中杠杆两端螺母的作用是______.如果G=2.45牛,则在C点须挂______牛的重物才能使杠杆平衡;若在B点用力拉,则拉力至少是______牛,且方向为______,才能使杠平衡.如果在杠杆支点左侧和右侧分别挂9牛和3牛重物,杠杆仍能平衡,则杠杆两臂长度之比为______,这时将右侧力增加1牛,那么左侧力必须增加______牛,才能使杠杆重新平衡.

查看答案和解析>>

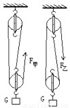
科目: 来源:2011-2012学年福建省漳州市龙海八中九年级(上)物理第9-10章测试题(解析版) 题型:解答题

如图所示的甲、乙两个滑轮组,每个滑轮的重力相同,用它们分别匀速吊起重都为G的物体,忽略摩擦及绳重,则拉力之比F:F=______;滑轮组甲的机械效率______(填“大于”、“小于”或“等于”)滑轮组乙的机械效率.

查看答案和解析>>

科目: 来源:2011-2012学年福建省漳州市龙海八中九年级(上)物理第9-10章测试题(解析版) 题型:解答题

如图所示.让钢球从斜面上由静止滚下,打到一个小木块上,能将木块撞出一段距离.放在同一水平面上相同位置的木块,被撞得越远,表示钢球的动能越大.现用质量不同的钢球从同一高度滚下,看哪次木块被推得远.回答以下问题:
(1)设计实验的目的是研究______.
(2)让不同的钢球从同一高度滚下是为了______.
(3)此实验得出的结论是______.
(4)下表中给出了一头牛慢步行走和一名普通中学生百米赛跑时的一些数据.
物体质量(m/kg)速度v/m?s-1动能E/J
约600约0.5约75
中学生约50约6约900
分析数据,可以看出,对物体动能大小影响较大的因素是______,你这样判断的依据是______.

查看答案和解析>>

科目: 来源:2011-2012学年福建省漳州市龙海八中九年级(上)物理第9-10章测试题(解析版) 题型:解答题

质量为5吨的列车,在平直铁路上匀速前进,若车受到的阻力为车重的,前进100米所用时间为5秒,求:
(1)列车受到的阻力为多大?
(2)牵引力做的功为多大?
(3)发动机的功率为多大?

查看答案和解析>>

科目: 来源:2011-2012学年江苏省泰州市兴化市楚水初级中学九年级(上)月考物理试卷(10月份)(解析版) 题型:选择题

小明从一楼上到三楼用时20秒,则他这次上楼的功率可能为( )
A.2 W
B.20 W
C.200 W
D.2000 W

查看答案和解析>>

科目: 来源:2011-2012学年江苏省泰州市兴化市楚水初级中学九年级(上)月考物理试卷(10月份)(解析版) 题型:选择题

园艺师傅使用如图所示的剪刀修剪树枝时,常把树枝尽量往剪刀轴O处靠近,这样做的目的是为了( )
A.增大阻力臂,减小动力移动的距离
B.减小动力臂,减小动力移动的距离
C.增大动力臂,省力
D.减小阻力臂,省力

查看答案和解析>>

科目: 来源:2011-2012学年江苏省泰州市兴化市楚水初级中学九年级(上)月考物理试卷(10月份)(解析版) 题型:选择题

如图,甲、乙表示四冲程内燃机的两个冲程,从气门的启、闭和活塞的运动可以判定,它们分别是( )

A.吸气冲程和排气冲程
B.做功冲程和压缩冲程
C.排气冲程和吸气冲程
D.压缩冲程和做功冲程

查看答案和解析>>

科目: 来源:2011-2012学年江苏省泰州市兴化市楚水初级中学九年级(上)月考物理试卷(10月份)(解析版) 题型:选择题

如图所示的工具中,属于费力杠杆的是( )
A.
钢丝钳
B.
起子
C.
羊角锤
D.
镊子

查看答案和解析>>

科目: 来源:2011-2012学年江苏省泰州市兴化市楚水初级中学九年级(上)月考物理试卷(10月份)(解析版) 题型:选择题

蹦床运动是一项运动员从蹦床反弹起来后在空中表演技巧的竞技运动.如图所示,在运动员离开蹦床弹向空中上升的过程中,运动员具有的( )

A.动能增加,势能减少
B.动能增加,势能增加
C.动能减少,势能增加
D.动能减少,势能减少

查看答案和解析>>

同步练习册答案