相关习题
 0  80888  80896  80902  80906  80912  80914  80918  80924  80926  80932  80938  80942  80944  80948  80954  80956  80962  80966  80968  80972  80974  80978  80980  80982  80983  80984  80986  80987  80988  80990  80992  80996  80998  81002  81004  81008  81014  81016  81022  81026  81028  81032  81038  81044  81046  81052  81056  81058  81064  81068  81074  81082  235360 

科目: 来源:2011-2012学年甘肃省白银市景泰三中九年级(上)月考物理试卷(11月份)(解析版) 题型:解答题

下列甲图是某实验小组探究小灯泡功率所用的器材,已知小灯泡的额定电压为2.5V.

①请你用笔画线代替导线,将甲图实物连接完整.要求:滑动变阻器的滑片向右移动时小灯泡亮度变亮,连线不能交叉.
②电路中使用滑动变阻器的目的是______.
③该组同学连接好电路,将滑片P移到______端(选填A或B),并用开关试触,检查无误后,闭合开关,并调节滑片P,虽然两表示数能够发生变化,但发现灯泡电压无法降低到2.5V,其原因可能是______.
④解决问题后,在实验过程中记录同学不小心漏填了一个电压的数据如图乙所示,请你读出该电压值填入表中的空格处.
实验次数电压/V电流/A
13.00.28
22.50.25
31.70.18
⑤从表中数据可算出该灯泡的额定功率是______W.
⑥细心的同学观察表中的数据发现,虽然是同一灯泡,但灯泡中的电流与其两端的电压并不成正比,请你分析其原因是______.

查看答案和解析>>

科目: 来源:2011-2012学年甘肃省白银市景泰三中九年级(上)月考物理试卷(11月份)(解析版) 题型:解答题

一个“6V 3W”的小灯泡接在电压是18伏的电源上,要使灯泡正常发光.需要在电路中接入一个电阻.
(1)这个电阻应如何连接在电路中?电阻的阻值应是多大?
(2)小灯泡正常发光时,这个电阻消耗的功率多大?
(3)这只小灯泡正常发光1min,消耗的电能是多少?

查看答案和解析>>

科目: 来源:2011-2012学年甘肃省白银市景泰三中九年级(上)月考物理试卷(11月份)(解析版) 题型:解答题

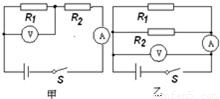
如图所示电路,电源电压保持不变.在甲图中,闭合开关S,电压表示数为4V,电流表示数为0.4A;乙图中,闭合开关S,电压表示数为6V.求:
(1)R1、R2的阻值;
(2)乙图中电流表示数.

查看答案和解析>>

科目: 来源:2011-2012学年甘肃省白银市景泰三中九年级(上)月考物理试卷(11月份)(解析版) 题型:解答题

如图所示,小灯泡L标有“8V  4W”字样.闭合开关,小灯泡正常发光,电流表的示数为2A.求:
(1)小灯泡L的电阻;
(2)通过R的电流;
(3)电阻R消耗的电功率.

查看答案和解析>>

科目: 来源:2011-2012学年江苏省泰州市姜堰二附中九年级(上)第二次月考物理试卷(解析版) 题型:选择题

上海世博会园区80%的夜景照明光源采用低碳节能的LED(发光二极管)照明技术.制作 LED 灯的核心材料是( )
A.导体
B.半导体
C.绝缘体
D.超导体

查看答案和解析>>

科目: 来源:2011-2012学年江苏省泰州市姜堰二附中九年级(上)第二次月考物理试卷(解析版) 题型:选择题

在下列各个物理量中,不是用“焦耳”作为单位的是( )
A.功率
B.内能
C.功
D.热量

查看答案和解析>>

科目: 来源:2011-2012学年江苏省泰州市姜堰二附中九年级(上)第二次月考物理试卷(解析版) 题型:选择题

四个同学在石峰公园进行登山比赛.如果规定功率最大者获胜,那么最后胜出者一定是( )
A.体重最大的一个
B.时间最短的一个
C.速度最大的一个
D.做功最快的一个

查看答案和解析>>

科目: 来源:2011-2012学年江苏省泰州市姜堰二附中九年级(上)第二次月考物理试卷(解析版) 题型:选择题

下列四个电路图中与实物图相对应的是( )

A.
B.
C.
D.

查看答案和解析>>

科目: 来源:2011-2012学年江苏省泰州市姜堰二附中九年级(上)第二次月考物理试卷(解析版) 题型:选择题

从欧姆定律可以导出公式R=,下列说法正确的是 ( )
A.当电压U增大为原来的2倍时,电阻R也增大为原来的2倍
B.当电流I增大为原来的2倍时,电阻R减小为原来的二分之一
C.通过导体的电流若为零,电阻也为零
D.即使导体两端的电压为零,电阻也不为零

查看答案和解析>>

科目: 来源:2011-2012学年江苏省泰州市姜堰二附中九年级(上)第二次月考物理试卷(解析版) 题型:选择题

用两个相同的加热器,分别对质量相等的甲、乙两种液体加热,其温度随时间变化的图象如图所示,由图象可知( )

A.甲的比热容比乙大
B.甲的比热容比乙小
C.甲和乙的比热容相等
D.开始加热时,甲和乙的比热容为零

查看答案和解析>>

同步练习册答案