相关习题
 0  80900  80908  80914  80918  80924  80926  80930  80936  80938  80944  80950  80954  80956  80960  80966  80968  80974  80978  80980  80984  80986  80990  80992  80994  80995  80996  80998  80999  81000  81002  81004  81008  81010  81014  81016  81020  81026  81028  81034  81038  81040  81044  81050  81056  81058  81064  81068  81070  81076  81080  81086  81094  235360 

科目: 来源:2011-2012学年江苏省南京市白下区南京三中九年级(上)月考物理试卷(12月份)(解析版) 题型:解答题

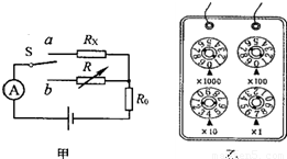
用如图甲所示的电路可以测量一个未知电阻的阻值,其中Rx为待测电阻,R为电阻箱(符号为),S为单刀双掷开关,R为定值电阻.某同学用该电阻进行实验,主要步骤有:
A、把开关S接b点,调节电阻箱,使电流表的示数为I
B、读出电阻箱的示数R
C、把开关S接a点,读出电流表的示数为I
D、根据电路图,连接实物,将电阻箱的阻值调至最大
(1)上述步骤的合理顺序是______(只需填写序号).
(2)步骤A中电阻箱调节好后示数如图乙所示,则它的示数为______Ω.若已知R的阻值为1OΩ,则待测电阻的阻值为______Ω.
(3)本实验所采用的物理思想方法可称为______(选填:“控制变量法”或“等效替代法”).

查看答案和解析>>

科目: 来源:2011-2012学年江苏省南京市白下区南京三中九年级(上)月考物理试卷(12月份)(解析版) 题型:解答题

小明和小华利用如图1所示的电路测定未知电阻的阻值.
(1)根据他们连接的实验电路可知,电表甲应是______表.
(2)闭合开关,两电表的示数如图2所示.则被测电阻两端的电压=______V,被测电阻中的电流=______A,被测电阻R=______Ω.
(3)完成了上步计算后小明认为实验就完成了,小华则认为,仅这样就得出电阻的阻值不够可靠.为了得到更可靠的结果,接下去他们的具体操作应是______.

查看答案和解析>>

科目: 来源:2011-2012学年江苏省南京市白下区南京三中九年级(上)月考物理试卷(12月份)(解析版) 题型:解答题

一个标有“6V,0.3A”的小灯泡,如果现在只有9V的电源,只加一个电阻让灯泡正常发光,该用多大的电阻,如何连接?通过计算说明.

查看答案和解析>>

科目: 来源:2011-2012学年江苏省连云港市灌南县四校联考九年级(上)第二次段考物理试卷(解析版) 题型:选择题

下列说法中正确的是( )
A.开关合上的电路一定是通路
B.导线内部断裂会发生短路
C.电路发生开路时会产生较大的电流
D.电路中导线松动会产生开路(断路)

查看答案和解析>>

科目: 来源:2011-2012学年江苏省连云港市灌南县四校联考九年级(上)第二次段考物理试卷(解析版) 题型:选择题

在下列各实际电路中,各元件之间属于并联的是( )
A.电视机和屋内的电灯
B.手电筒中的各节干电池
C.学校的电铃和开关
D.家中的电灯和开关

查看答案和解析>>

科目: 来源:2011-2012学年江苏省连云港市灌南县四校联考九年级(上)第二次段考物理试卷(解析版) 题型:选择题

下列电路元件符号表示电动机的是( )
A.
B.
C.
D.

查看答案和解析>>

科目: 来源:2011-2012学年江苏省连云港市灌南县四校联考九年级(上)第二次段考物理试卷(解析版) 题型:选择题

如图的电路中电表连接正确的是( )
A.
B.
C.
D.

查看答案和解析>>

科目: 来源:2011-2012学年江苏省连云港市灌南县四校联考九年级(上)第二次段考物理试卷(解析版) 题型:选择题

在如图所示的电路中,当开关S闭合后,两灯均正常发光.若某一时刻,灯L1的灯丝突然烧断后,下列说法中正确的是( )

A.两只电流表示数均变小
B.两只电流表示数均变大
C.两只电流表示数变成相等
D.两只电流表示数均不变

查看答案和解析>>

科目: 来源:2011-2012学年江苏省连云港市灌南县四校联考九年级(上)第二次段考物理试卷(解析版) 题型:选择题

小强同学在探究串联电路电流规律的实验中,按下图连接好了电路,合上开关S后,发现两灯均不发光.为检测出电路故障,他将电压表接到L1两端来测量电压,发现电压表有明显示数,而电流表示数几乎为零,则电路故障可能是( )

A.灯L1短路
B.灯L2断路
C.电流表烧坏了
D.灯L1断路

查看答案和解析>>

科目: 来源:2011-2012学年江苏省连云港市灌南县四校联考九年级(上)第二次段考物理试卷(解析版) 题型:选择题

若将如图所示的滑动变阻器连入电路,要求当滑动变阻器的滑片P向D端移动时,电路中的电阻变大,则滑动变阻器连入电路的接线柱应是( )

A.A和D
B.C和B
C.B和D
D.A和B

查看答案和解析>>

同步练习册答案