相关习题
0 81859 81867 81873 81877 81883 81885 81889 81895 81897 81903 81909 81913 81915 81919 81925 81927 81933 81937 81939 81943 81945 81949 81951 81953 81954 81955 81957 81958 81959 81961 81963 81967 81969 81973 81975 81979 81985 81987 81993 81997 81999 82003 82009 82015 82017 82023 82027 82029 82035 82039 82045 82053 235360
科目:
来源:2010-2011学年江苏省徐州市丰县实验中学九年级(上)期末物理模拟试卷(解析版)
题型:填空题
如图所示,若将某一导体接到电路A、B之间,则导体与灯泡是
联的.如果将不同的导体分别接到A、B之间,闭合开关,可通过观察、比较灯泡的
来判断不同导体电阻的大小;若两个导体的电阻差异不大,则必须用
表替换灯泡,作更为准确的判断.

查看答案和解析>>
科目:
来源:2010-2011学年江苏省徐州市丰县实验中学九年级(上)期末物理模拟试卷(解析版)
题型:填空题
在图的漫画中,老人和小孩的感觉虽然不同,但从科学的角度看,两幅图都说明了
可以改变物体的内能.图中的小孩从滑梯上滑下,他的重力势能
(选填“增加”、“不变”或“减少”).

查看答案和解析>>
科目:
来源:2010-2011学年江苏省徐州市丰县实验中学九年级(上)期末物理模拟试卷(解析版)
题型:解答题

图甲是小灯泡中的电流随它两端电压变化的图象.将此灯泡接入图乙所示电路中,闭合开关S后,小灯泡实际功率为1W;再闭合开关S
1后,电流表示数变化了0.1A,则电阻R的阻值是______Ω,此时电路消耗的总功率是______W.
查看答案和解析>>
科目:
来源:2010-2011学年江苏省徐州市丰县实验中学九年级(上)期末物理模拟试卷(解析版)
题型:填空题
如图所示,弹簧下端挂一条形磁体,磁体的下端为S极,条形磁体的正下一方有一带铁芯的螺线管,闭合开关后,弹簧的长度会
(填“伸长”、“缩短”或“不变”).

查看答案和解析>>
科目:
来源:2010-2011学年江苏省徐州市丰县实验中学九年级(上)期末物理模拟试卷(解析版)
题型:填空题
微波炉是效率很高的家用电器,一个标有“220V,880W”的微波炉,正常使用时,其电阻是 Ω,通过它的电流是 A,若用它煮一餐饭花15分钟的时间,则煮一餐饭用 度电.
查看答案和解析>>
科目:
来源:2010-2011学年江苏省徐州市丰县实验中学九年级(上)期末物理模拟试卷(解析版)
题型:填空题

家庭中的电灯、电视机、电风扇等用电器都是
联在电路中的.小林家4月底电能表读数为2708.7 kW?h,5月底电能表读数如图所示,那么5月份他家消耗了
kW?h的电能.
查看答案和解析>>
科目:
来源:2010-2011学年江苏省徐州市丰县实验中学九年级(上)期末物理模拟试卷(解析版)
题型:填空题
汽油的热值是4.6×107J/kg,完全燃烧210g汽油能放出 J的热量;若这些热量全部被水吸收,可使 kg 水,从20℃升高到43℃ ).
查看答案和解析>>
科目:
来源:2010-2011学年江苏省徐州市丰县实验中学九年级(上)期末物理模拟试卷(解析版)
题型:填空题
利民电器厂设计了一种具有高、中、低温三档的家用电火锅,其发热体电阻丝如图所示.A、B、C为三个接线柱,B是电阻丝中点的接线柱.相信你一定能帮助该厂完成以下工作.
(1) 说明各挡位的连接方法(文字表述)
低温档:将
接入电源;
中温档:将
接入电源;
高温档:将
接入电源上.
(2) 如果低温档发热功率为200W,那么:中温档发热功率是
W;高温档发热功率是
W.

查看答案和解析>>
科目:
来源:2010-2011学年江苏省徐州市丰县实验中学九年级(上)期末物理模拟试卷(解析版)
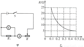
题型:填空题
利用如图甲所示电路,在研究通过导体的电流跟电阻的关系时,要保持导体两端电压不变.实验中,不断改变R
x的阻值,调节滑动变阻器使伏特表示数保持不变,得到了I与R的关系图象,如图乙所示.由图象可以得出的结论是
;此次实验中,伏特表的示数始终保持
V不变.

查看答案和解析>>
科目:
来源:2010-2011学年江苏省徐州市丰县实验中学九年级(上)期末物理模拟试卷(解析版)
题型:解答题
高效、方便的电热水壶目前已成为家庭常用的用电器之一.一种电热水壶的铭牌上标有“220V 1000W”字样,如果用这种电热水壶将1kg水从15℃加热到100℃.求:
(1)水吸收的热量是多少?
(2)若电热水壶的热效率是85%,则将此壶水烧开,需要加热多长时间?
查看答案和解析>>