相关习题
0 82842 82850 82856 82860 82866 82868 82872 82878 82880 82886 82892 82896 82898 82902 82908 82910 82916 82920 82922 82926 82928 82932 82934 82936 82937 82938 82940 82941 82942 82944 82946 82950 82952 82956 82958 82962 82968 82970 82976 82980 82982 82986 82992 82998 83000 83006 83010 83012 83018 83022 83028 83036 235360
科目:
来源:《第14章 欧姆定律》2010年课时作业(解析版)
题型:填空题
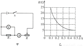
利用如图甲所示电路,在研究通过导体的电流跟电阻的关系时,要保持导体两端电压不变.实验中,不断改变R
x的阻值,调节滑动变阻器使伏特表示数保持不变,得到了I与R的关系图象,如图乙所示.由图象可以得出的结论是
;此次实验中,伏特表的示数始终保持
V不变.

查看答案和解析>>
科目:
来源:《第14章 欧姆定律》2010年课时作业(解析版)
题型:填空题
小明同学利用如图所示的电路,探究保持电压不变时,电流跟电阻的关系,得到的数据如下表.
| 电阻R/Ω | 5 | 6 | 10 | 15 | 20 | 30 |
| 电流I/A | 0.6 | 0.5 | 0.3 | 0.2 | 0.15 | 0.1 |
(1)分析表中的数据,可以得出的结论是:
.
(2)滑动变阻器R′在此实验中的主要作用是:
.

查看答案和解析>>
科目:
来源:《第14章 欧姆定律》2010年课时作业(解析版)
题型:解答题
我们利用下列器材研究电流跟电压、电阻之间的关系.

(1)按电路图(图1)用笔线连接电路(图2).
(2)在研究电流跟电压的关系时,应保持______不变,移动变阻器的滑片,改变电阻R两端的______,测出相应的______.在研究电流跟电阻的关系时,应保持______不变,改变______,测出相应的______.
(3)下面的表格是“研究电流跟电压、电阻关系”的实验数据记录:
表1 电阻R=15Ω
| 电压U(V) | 1.5 | 3 | 4.5 |
| 电流I(A) | 0.1 | 0.2 | 0.3 |
表2 电压U=2V
| 电阻R(Ω) | 5 | 10 | 20 |
| 电流I(A) | 0.4 | 0.2 | 0.1 |
分析表1数据,可得出结论______;
分析表2数据,可得出结论______.
查看答案和解析>>
科目:
来源:《第14章 欧姆定律》2010年课时作业(解析版)
题型:解答题
一段导体两端的电压是2V时,导体中的电流是0.2A,如果电压增大到9V时,导体中的电流变为多大?
查看答案和解析>>
科目:
来源:《第14章 欧姆定律》2010年课时作业(解析版)
题型:解答题
一只电阻器两端的电压从3V增加到3.8V时,通过该电阻器的电流增加了0.2A,则该电阻是多少?
查看答案和解析>>
科目:
来源:《14.3 欧姆定律》2011年同步练习(1)(解析版)
题型:填空题
我们利用下列器材研究电流跟电压、电阻之间的关系.按电路图(图1)用笔线连接电路(图2).
在研究电流跟电压的关系时,应保持
不变,移动变阻器的滑片,改变电阻R两端的
,测出相应的
.在研究电流跟电阻的关系时,应保持
不变,改变
,测出相应的
.

查看答案和解析>>
科目:
来源:《14.3 欧姆定律》2011年同步练习(1)(解析版)
题型:填空题
研究电流与电压、电阻关系时,实验的数据分别记录在表1、表2中.
| 表Ⅰ电阻R=15Ω | 表Ⅱ电压U=2V |
| 电压U/V | 1.5 | 3 | 4.5 | 电阻R/Ω | 5 | 10 | 20 |
| 电流I/A | 0.1 | 0.2 | 0.3 | 电流I/A | 0.4 | 0.2 | 0.1 |
分析表1数据,可得出结论:
.
分析表2数据,可得出结论:
.
查看答案和解析>>
科目:
来源:《14.3 欧姆定律》2011年同步练习(1)(解析版)
题型:填空题
一个灯泡的灯丝的电阻是4Ω,当它两端的电压是2.8V时,求通过灯泡的电流是 .
查看答案和解析>>
科目:
来源:《14.3 欧姆定律》2011年同步练习(1)(解析版)
题型:填空题
通过一个电阻器的电流是0.4A,电阻器的电阻是90Ω,求它们两端的电压是 .
查看答案和解析>>
科目:
来源:《14.3 欧姆定律》2011年同步练习(1)(解析版)
题型:填空题
在研究“电流跟电压、电阻的关系”的实验时,可以用变阻箱和滑动变阻器配合实验,如图所示.我们先使电阻箱R的电阻取某一值,多次改变滑动变阻器的阻值,记录每一次的
和相应的电流值,得到当电阻不变时,电流跟
成正比的关系;然后多次改变电阻箱R的电阻,调节滑动变阻器的滑片,使每次
保持不变,记录每次电阻箱R的阻值和相应的
值,得到电流跟
成反比的关系.

查看答案和解析>>