相关习题
 0  83639  83647  83653  83657  83663  83665  83669  83675  83677  83683  83689  83693  83695  83699  83705  83707  83713  83717  83719  83723  83725  83729  83731  83733  83734  83735  83737  83738  83739  83741  83743  83747  83749  83753  83755  83759  83765  83767  83773  83777  83779  83783  83789  83795  83797  83803  83807  83809  83815  83819  83825  83833  235360 

科目: 来源:2009-2010学年新人教版九年级(上)期中物理试卷(27)(解析版) 题型:填空题

某杠杆的动力臂跟阻力臂之比是2:5,当杠杆平衡时,在杠杆上的动力跟阻力大小之比是   

查看答案和解析>>

科目: 来源:2009-2010学年新人教版九年级(上)期中物理试卷(27)(解析版) 题型:填空题

如图所示,用滑轮组提升重物,重物和动滑轮由    段绳子承担,若动滑轮重10N,拉力为155N,则被提升重物的重力为    N,若将重物提升0.5m动力F的作用点通过的距离为    m.

查看答案和解析>>

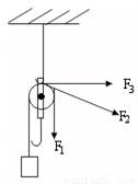
科目: 来源:2009-2010学年新人教版九年级(上)期中物理试卷(27)(解析版) 题型:填空题

使用定滑轮匀速提起物体,沿图中所示不同方向拉绳时,拉力的大小关系是F1    F2    F3

查看答案和解析>>

科目: 来源:2009-2010学年新人教版九年级(上)期中物理试卷(27)(解析版) 题型:填空题

如图所示装置,重100N的物体A以0.1m/s的速度在水平面作匀速直线运动,作用在绳自由端的拉力是20N,则作用在物体A上的水平拉力是    N,物体A受的滑动摩擦力是    N,10s内绳子自由端通过的距离是    m,(不计滑轮重和摩擦)

查看答案和解析>>

科目: 来源:2009-2010学年新人教版九年级(上)期中物理试卷(27)(解析版) 题型:解答题

在图中,画出力F对支点0的力臂l.

查看答案和解析>>

科目: 来源:2009-2010学年新人教版九年级(上)期中物理试卷(27)(解析版) 题型:解答题

如图所示,某同学做杠杆平衡实验,杠杆上每小格表示4cm,每个钩码重1N.请根据图填写表格中的数据,并通过分析得出实验结论.

实验得出的结论:______.

查看答案和解析>>

科目: 来源:2009-2010学年新人教版九年级(上)期中物理试卷(27)(解析版) 题型:解答题

用100N的力通过效率为80%的滑轮组将重240N重的物体匀速提升,应选用怎样的滑轮组,画出滑轮组的装配图

查看答案和解析>>

科目: 来源:2009-2010学年新人教版九年级(上)期中物理试卷(27)(解析版) 题型:解答题

下面是则定盐水密度实验中的实验数据记录表,请将表中空白处填写上适当的数值.
玻璃杯质量(g)玻璃杯和盐水的质量(g)盐水的质量(g)盐水的体积(cm3盐水的密度(kg/m3
102.5158.5______ 40______ 

查看答案和解析>>

科目: 来源:2009-2010学年新人教版九年级(上)期中物理试卷(27)(解析版) 题型:解答题

质量是40kg的木箱受到100N的水平拉力作用,2S内移动的了50cm,
求:①拉力对木箱做了多少功?
②重力对木箱做了多少功?
③拉力的功率是多少?

查看答案和解析>>

科目: 来源:2009-2010学年新人教版九年级(上)期中物理试卷(27)(解析版) 题型:解答题

金属球挂在弹簧秤的下端,弹簧秤的读数为0.89N,若把金属球全部浸入水中弹簧秤的读数是0.79N.求:
①金属球所受的浮力多大?②金属球的体积多大?

查看答案和解析>>

同步练习册答案