相关习题
 0  83773  83781  83787  83791  83797  83799  83803  83809  83811  83817  83823  83827  83829  83833  83839  83841  83847  83851  83853  83857  83859  83863  83865  83867  83868  83869  83871  83872  83873  83875  83877  83881  83883  83887  83889  83893  83899  83901  83907  83911  83913  83917  83923  83929  83931  83937  83941  83943  83949  83953  83959  83967  235360 

科目: 来源:2009-2010学年苏科版九年级(上)期末物理试卷11(解析版) 题型:解答题

将下图中的电磁铁连入你设计的电路中(在方框内完成),要求:(1)电路能改变电磁铁磁性的强弱;(2)使小磁针静止时如图所示.

查看答案和解析>>

科目: 来源:2009-2010学年苏科版九年级(上)期末物理试卷11(解析版) 题型:解答题

如图所示是小明设计的温度自动报警器原理图.在水银温度计里封入一段金属丝,当在正常工作的温度范围内时,绿灯亮;当温度升高达到金属丝下端所指示的温度时,红灯亮,发出报警信号.请按照题意要求,在图中连接好电路.并说明其工作原理.

查看答案和解析>>

科目: 来源:2009-2010学年苏科版九年级(上)期末物理试卷11(解析版) 题型:解答题

学校STS研究小组在综合实践活动中,利用小灯泡、滑动变阻器和几个定值电阻设计了两个模拟调光灯的电路,如图所示.从调光的效果看,你认为哪种设计电路更为合理?简要说明你的理由.

查看答案和解析>>

科目: 来源:2009-2010学年苏科版九年级(上)期末物理试卷11(解析版) 题型:解答题

如图所示,是测量小灯泡电功率的实物元件图,其中电源是由三只蓄电池组成,小灯泡额定电压是3.8V,其灯丝电阻约为10Ω,滑动变阻器标有“10Ω、1A”字样,电流表(0~0.6A、0~3A),电压表(0~3V、0~15V).
(1)本实验的原理是:______;
(2)请用笔画线代替导线,把右图中的电路元件连接成实验电路.(要求:滑片P向左移时灯变亮,且连线不得交叉)
(3)小刚合理地连接好电路,并按正确的顺序操作,闭合开关后灯不亮,聪明的小刚猜想:
A.可能灯丝断了;B.可能是变阻器开路
C.可能是小灯泡短路;D.可能是电流表开路
请你借助已连好电路中的电流表和电压表验证小刚的猜想,并将电流表、电压表相应示数填入下表.
猜想电流表示数/A电压表示数/V
若A成立  
若B成立  
(4)排除故障后,在测量小灯泡的额定功率时,应先调节 ______,使小灯泡两端电压为 ______V,再测出电路中的 ______,即可计算出额定功率;若小灯泡两端实际电压为额定电压的1.2倍,则实际功率为额定功率的 ______倍.(假设电阻值不变)
(5)实际测量过程中小刚才发现电压表0~15V量程已损坏(另一量程完好),但他仍想利用现有器材测出小灯泡的额定功率,请你帮小刚重新设计新的电路图并画在下面的方框内.

(6)小刚按重新设计的电路图继续实验,调节滑动变阻器滑片,使电压表示数为 ______V时,小灯泡正常发光,此时电流表示数如上右图所示,则小灯泡的额定功率是 ______W.
(7)实验时,若发现电流表指针摆动分别出现了如下图甲、乙所示的两种情况.请分析在使用电流表时分别存在什么问题,并写在下面的横线上.

甲现象存在的问题:______;
乙现象存在的问题:______.

查看答案和解析>>

科目: 来源:2009-2010学年苏科版九年级(上)期末物理试卷11(解析版) 题型:解答题

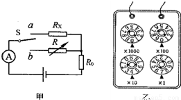
用如图甲所示的电路可以测量一个未知电阻的阻值,其中Rx为待测电阻,R为电阻箱,S为单刀双掷开关,R为定值电阻.某同学用该电路进行实验,主要步骤有:
A、把开关S接b点,调节电阻箱,使电流表的示数为I;
B、读出电阻箱的示数R;
C、把开关S接a点,读出电流表的示数为I;
D、根据电路图,连接实物,将电阻箱的阻值调至最大.
(1)上述步骤的合理顺序是:DCAB(只填写序号).
(2)步骤A中电阻箱调节好后示数如图乙所示,则它的示数为 47Ω.若已知R的阻值为10Ω,则待测电阻的阻值为 47Ω.
(3)本实验所采用的物理思想方法可称为等效替代法(选填“控制变量法”或“等效替代法”).

查看答案和解析>>

科目: 来源:2009-2010学年苏科版九年级(上)期末物理试卷11(解析版) 题型:解答题

用如图甲所示的电路可以测量一个未知电阻的阻值,其中Rx为待测电阻,R为电阻箱(符号为),S为单刀双掷开关,R为定值电阻.某同学用该电阻进行实验,主要步骤有:
A、把开关S接b点,调节电阻箱,使电流表的示数为I
B、读出电阻箱的示数R
C、把开关S接a点,读出电流表的示数为I
D、根据电路图,连接实物,将电阻箱的阻值调至最大
(1)上述步骤的合理顺序是______(只需填写序号).
(2)步骤A中电阻箱调节好后示数如图乙所示,则它的示数为______Ω.若已知R的阻值为1OΩ,则待测电阻的阻值为______Ω.
(3)本实验所采用的物理思想方法可称为______(选填:“控制变量法”或“等效替代法”).

查看答案和解析>>

科目: 来源:2009-2010学年苏科版九年级(上)期末物理试卷11(解析版) 题型:解答题

如图,灯L标有“6V 3W”的字样,电阻R1=12Ω,滑动变阻器最大阻值为12Ω,电源电压不变.求:
(1)当滑片P滑到b端时,闭合开关Sl、S2,灯L恰好正常发光,电路中电源的电压和电流表的示数;
(2)当滑片P滑到a端时,闭合开关S1,断开S2,此时灯L消耗的功率.

查看答案和解析>>

科目: 来源:2009-2010学年苏科版九年级(上)期末物理试卷11(解析版) 题型:解答题

你见过戴着面罩或墨镜的工人进行电焊作业吗?电焊是利用电流的热效应产生高温,将焊条熔化,从而使两金属部件焊接在一起.电焊机工作时有很大电流,但不会连续工作,所以导线中会产生迅速变化、时断时续的电流.
(1)电焊机输出电压40V、输出功率2000W,某种橡皮绝缘铜芯导线在常温下安全载流量(长时间通电时的最大安全电流)如下表,从安全角度考虑,计算说明应选择哪种导线作为电焊机的输出导线?
导    线    规    格
导线横截面积S(mm22.54610
安全载流量I(A)28374768
(2)焊条熔点为1100℃,比热容为0.4×103J/.假设电流放出的热量全部被焊条吸收并使焊条升温,电焊机工作4s,可使一根质量为20g的焊条全部熔化吗?
(3)电焊机工作时会对周围的居民或行人的生活造成一定的影响,请指出其中的两点.

查看答案和解析>>

科目: 来源:2009-2010学年苏科版九年级(上)期末物理试卷11(解析版) 题型:解答题

电热炉内有两个电阻分别为R1=110Ω和R2=220Ω的发热电阻,用一个旋转开关可以实现多档位工作的要求,将电热炉接入家庭电路中.
(1)若使R1、R2串联,则R2获得的电压为多大?
(2)若要求电热炉的发热功率最大,R1、R2应该怎样连接?并求出这个最大功率值.
(3)如图甲是这个电热炉的多档位旋转开关,图乙是其控制两根电阻丝的工作原理图.如图甲所示,旋转开关内有一块绝缘圆盘,在圆盘的边缘依次有0、1、2…7共8个金属触点(在图乙中用“○”表示);可以绕中心轴转动的开关旋钮两端各有金属滑片,转动开关旋钮可以将相邻的触点连接.例如,图甲中,旋钮上的箭头指向图中位置D,此时金属滑片将1、2两触点接通,同时也将5、6两触点接通,此时电热炉在5分钟内产生的热量为多大?如果用该开关要实现上一小题中的电功率的最大值,则应该将旋钮上的箭头指向哪一个字母?

查看答案和解析>>

科目: 来源:2006-2007学年北京市东城区九年级(上)期末物理试卷(解析版) 题型:选择题

在国际单位制中,密度的单位是( )
A.牛顿(N)
B.千克(kg)
C.千克/米3(kg/m3
D.帕斯卡(Pa)

查看答案和解析>>

同步练习册答案