相关习题
0 84297 84305 84311 84315 84321 84323 84327 84333 84335 84341 84347 84351 84353 84357 84363 84365 84371 84375 84377 84381 84383 84387 84389 84391 84392 84393 84395 84396 84397 84399 84401 84405 84407 84411 84413 84417 84423 84425 84431 84435 84437 84441 84447 84453 84455 84461 84465 84467 84473 84477 84483 84491 235360
科目:
来源:《第12章 欧姆定律》2010年单元测试卷(解析版)
题型:填空题
如图所示,若将某一导体接到电路A、B之间,则导体与灯泡是
联的.如果将不同的导体分别接到A、B之间,闭合开关,可通过观察、比较灯泡的
来判断不同导体电阻的大小;若两个导体的电阻差异不大,则必须用
表替换灯泡,作更为准确的判断.

查看答案和解析>>
科目:
来源:《第12章 欧姆定律》2010年单元测试卷(解析版)
题型:填空题
节能与环保在“两型”社会的建设中起着重要作用. 在电厂发电、输送电力、贮存电力等方面若能采用超导材料,就能大大降低由于电阻引起的电能损耗. 超导材料就是在温度很低时,电阻变为 .?
查看答案和解析>>
科目:
来源:《第12章 欧姆定律》2010年单元测试卷(解析版)
题型:填空题
所示的电路中,R
1的阻值为10Ω,只闭合开关S
1时电流表的示数为0.3A,再闭合开关S
2后,电流表的示数为0.45A,则R
2的阻值为
Ω.

查看答案和解析>>
科目:
来源:《第12章 欧姆定律》2010年单元测试卷(解析版)
题型:填空题
如图所示,虚线框内有两个阻值分别为5Ω、10Ω的电阻,小明同学想了解其连接方式,于是用3V的电源、电流表和开关进行了检测,闭合开关后,测得电流表的读数为0.2A.则两个电阻的连接方式是
.若要增大电流表的读数,可以采取的措施有
.

查看答案和解析>>
科目:
来源:《第12章 欧姆定律》2010年单元测试卷(解析版)
题型:填空题
如图所示,电源电压保持不变,滑动变阻器的最大阻值R
=20Ω,当只闭合开关S
1,滑片P置于最左端a时,电流表示数为0.2A;当开关S
1、S
2均闭合,滑片P置于最右端b时,电流表示数为0.6A,则定值电阻R
1=
Ω,电源电压U=
V.

查看答案和解析>>
科目:
来源:《第12章 欧姆定律》2010年单元测试卷(解析版)
题型:填空题
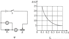
利用如图甲所示电路,在研究通过导体的电流跟电阻的关系时,要保持导体两端电压不变.实验中,不断改变R
x的阻值,调节滑动变阻器使伏特表示数保持不变,得到了I与R的关系图象,如图乙所示.由图象可以得出的结论是
;此次实验中,伏特表的示数始终保持
V不变.

查看答案和解析>>
科目:
来源:《第12章 欧姆定律》2010年单元测试卷(解析版)
题型:填空题
某照明灯额定电压是36V,正常发光时灯丝电阻为24Ω,则照明灯的额定电流是 A.如果电源电压是48V,为使照明灯正常发光,可以在电路中串联一个阻值为 Ω的电阻.
查看答案和解析>>
科目:
来源:《第12章 欧姆定律》2010年单元测试卷(解析版)
题型:填空题
如图所示,电源电压保持不变,,电压表示数为2V;开关S闭合时,电压表示数为6V,那么电阻R
1:R
2=
.

查看答案和解析>>
科目:
来源:2008-2009学年新人教版九年级(上)期末物理试卷1(解析版)
题型:选择题
下列说法中正确的是( )
A.宇宙的大小是有限的
B.分子是物质结构中不可再分割的组成部分
C.宇宙的直径大约是十万光年
D.分子是保持物质化学性质的微小粒子
查看答案和解析>>
科目:
来源:2008-2009学年新人教版九年级(上)期末物理试卷1(解析版)
题型:选择题
下列说法中正确的是( )
A.手提水桶感觉很累,原因是水桶的重力作用于手上了
B.鸡蛋砸石头,鸡蛋碎了,原因是鸡蛋受到的力大
C.推出去的铅球,可以在空中飞行,原因是铅球始终受到推力的作用
D.在草地上滚动的足球,最终会停下来,原因是足球受到了摩擦力
查看答案和解析>>