相关习题
 0  85051  85059  85065  85069  85075  85077  85081  85087  85089  85095  85101  85105  85107  85111  85117  85119  85125  85129  85131  85135  85137  85141  85143  85145  85146  85147  85149  85150  85151  85153  85155  85159  85161  85165  85167  85171  85177  85179  85185  85189  85191  85195  85201  85207  85209  85215  85219  85221  85227  85231  85237  85245  235360 

科目: 来源:2010-2011学年湖北省黄冈市黄州区启黄中学八年级(上)期末物理试卷(解析版) 题型:解答题

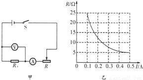
利用如图甲所示电路,在研究通过导体的电流跟电阻的关系时,要保持导体两端电压不变.实验中,不断改变Rx的阻值,调节滑动变阻器使伏特表示数保持不变,得到了I与R的关系图象,如图乙所示.由图象可以得出的结论是    ;此次实验中,伏特表的示数始终保持    V不变.

查看答案和解析>>

科目: 来源:2010-2011学年湖北省黄冈市黄州区启黄中学八年级(上)期末物理试卷(解析版) 题型:解答题

根据图所示的电路图,用笔画线代替导线,连接实物电路(要求导线不能交叉).

查看答案和解析>>

科目: 来源:2010-2011学年湖北省黄冈市黄州区启黄中学八年级(上)期末物理试卷(解析版) 题型:解答题

在图中,要求用电流表测量灯泡L2中的电流(0.3A),电压表测量灯泡L1的电压,L1、L2并联,变阻器调节L1的亮度,开关控制整个电路,将符合要求的电路图画在虚线框内,并将实物连接起来.

查看答案和解析>>

科目: 来源:2010-2011学年湖北省黄冈市黄州区启黄中学八年级(上)期末物理试卷(解析版) 题型:解答题

在测量定值电阻的实验中,
(1)连接电路时开关应______.
(2)请你用笔画线代替导线,将如图甲中的实物电路连接完整.

(3)闭合开关前,滑动变阻器的滑片P应移至______(选填“A”或“B”)端.小青闭合开关后,移动滑片P到某一点时,电流表示数为0.2A,电压表示数如图乙所示,为______V,计算出的电阻值为______Ω.
(4)小青仅把这一次实验测量所得的阻值作为最后的结果,你认为合适吗?______,理由是______.
(5)如图丙所示是其他两组同学根据测得数据作出的,I-U图象,分析图象可知Ra______Rb(选填“>”、“=”或“<”).
(6)小珍连接好电路后闭合开关,发现无论如何移动变阻器的滑片P,电压表、电流表均有示数,但都不改变,原因可能是______.(写出一种即可)

查看答案和解析>>

科目: 来源:2010-2011学年湖北省黄冈市黄州区启黄中学八年级(上)期末物理试卷(解析版) 题型:解答题

实验室中有一蓄电池,电压标记已模糊不清,电压约为20V.现在实验室有下列器材:定值电阻R(阻值为10Ω)1个、滑动变阻器(阻值变化范围为0~20Ω)1个、标准电阻箱(阻值变化范围为0~9999Ω,电路符号为“”)1个,一只量程为0~3V、0~15V的电压表,单刀单掷开关若干,导线若干.请从中选择适当的器材组成实验电路,测出该蓄电池的电压值.
(1)在方框中画出你设计的实验电路图.

(2)简述你连接好电路后的测量步骤(测量的物理量用物理符号表示):
(3)写出该蓄电池电压U大小的表达式(用所测的物理量和已知量表示),U=______.

查看答案和解析>>

科目: 来源:2010-2011学年湖北省黄冈市黄州区启黄中学八年级(上)期末物理试卷(解析版) 题型:解答题

如图所示的电路中,当电键K断开时,安培表示数为O.2安培,当电键 K闭合时,安培表示数为0.7安培,已知R1=2O欧姆.
求:(1)电源电压;(2)电阻R2

查看答案和解析>>

科目: 来源:2010-2011学年湖北省黄冈市黄州区启黄中学八年级(上)期末物理试卷(解析版) 题型:解答题

如图所示,闭合开关S1和S2,当电阻箱的阻值调节到如图所示位置时,电流表示数为0.3A;断开S2,调节电阻箱的阻值至8Ω,电流表示数变为0.25A.求:
(1)电源电压;(2)电阻R2的阻值.

查看答案和解析>>

科目: 来源:2010-2011学年湖北省黄冈市黄州区启黄中学八年级(上)期末物理试卷(解析版) 题型:解答题

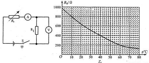
现代生物医学研究使用的细菌培养箱内的温度需要精确测控,测控的方法之一是用热敏电阻来探测温度.如图甲所示的电路,将热敏电阻R置于细菌培养箱内,其余都置于箱外.这样既可以通过电流表的示数来表示箱内温度,又可以通过电压表的示数来表示箱内温度.已知该电路中电源电压是12V,定值电阻R1的阻值是200Ω.热敏电阻R的阻值随温度变化的关系如图乙所示.求:
(1)当培养箱内的温度降低时,电流表的示数如何变化?
(2)当培养箱内的温度为40℃时,电压表的示数是多大?
(3)已知电流表的量程是0--30mA,电压表的量程是0--8V,则此电路能够测量的最高温度是多大?此时热敏电阻R消耗的电功率是多大?

查看答案和解析>>

科目: 来源:2009-2010学年广东省汕头市金平区广厦学校八年级(上)期末物理竞赛试卷(解析版) 题型:选择题

关于声现象,下列说法中正确的是( )
A.声音在不同介质中的传播速度相同
B.道路旁植树可以有效地减弱噪声的传播
C.正常的人耳只能听到20Hz~2000Hz之间的声音
D.声源的振幅相同,人耳感觉到的声音的响度也相同

查看答案和解析>>

科目: 来源:2009-2010学年广东省汕头市金平区广厦学校八年级(上)期末物理竞赛试卷(解析版) 题型:选择题

在“人面桃花相映红”这句诗中,用光学知识解释桃花红的原因是( )
A.桃花自己能发出红光
B.桃花吸收红光
C.桃花反射红光
D.以上说法都不对

查看答案和解析>>

同步练习册答案