精英家教网 > 高中数学 > 题目详情

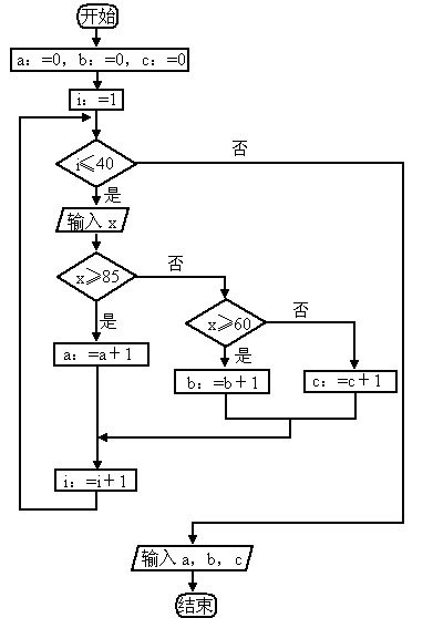
高一(2)班共有40名学生,每次考试后数学老师总要统计成绩在85~100分,60~85分和60分以下的各分数段人数.请你帮助数学老师设计一个算法,解决上述问题.要求:画出算法流程图,并用基本算法语句描述该算法.

答案:略
解析:

解:算法流程图如图所示:

程序如下:

a:=0

b:=0

c:=0

for i:=1 to 40 do

begin

输入x

if x85

then a:=a1

else if x≥60,

then b:=b1

else c:=c1

end

输出abc


提示:

我们可用循环结构控制输入的人数,用条件结构对输入的成绩进行判断.


练习册系列答案
相关习题

科目:高中数学 来源: 题型:044

高一(2)班共有40名学生,每次考试后数学老师总要统计成绩在85100分,6085分和60分以下的各分数段人数.请你帮助数学老师设计一个算法,解决上述问题.要求:画出算法流程图,并用基本算法语句描述该算法.

 

查看答案和解析>>

科目:高中数学 来源:数学教研室 题型:044

高一(2)班共有40名学生,每次考试数学老师总要统计成绩在85分~100分,60分~85分和60分以下的各分数段的人数.请你帮助数学老师设计一个程序,解决上述问题.

查看答案和解析>>

科目:高中数学 来源: 题型:044

高一(2)班共有40名学生,每次考试数学老师总要统计成绩在85分~100分,60分~85分和60分以下的各分数段的人数.请你帮助数学老师设计一个程序,解决上述问题.

查看答案和解析>>

科目:高中数学 来源:陕西省模拟题 题型:解答题

某校高一(2)班共有60名同学参加期末考试,现将其数学学科成绩(均为整数)分成六个分数段[40,50),[50,60),…,[90,100],画出如下图所示的部分频率分布直方图,请观察图形信息,回答下列问题:
(1)求70~80分数段的学生人数;
(2)估计这次考试中该学科的优分率(80分及以上为优分);
(3)现根据本次考试分数分成下列六段(从低分段到高分段依次为第一组、第二组、…、第六组),为提高本班数学整体成绩,决定组与组之间进行帮扶学习.若选出的两组分数之差大于30分(以分数段为依据,不以具体学生分数为依据),则称这两组为“最佳组合”,试求选出的两组为“最佳组合”的概率。

查看答案和解析>>

同步练习册答案