24.如图.在光滑的水平桌面上.静止放着一质量为980 g的长方形匀质木块.现有一颗质量为20 g的子弹以300 m/s的水平速度沿其轴线射向木块.结果子弹留在木块中没有射出.和木块一起以共同的速度运动.已知木块沿子弹运动方向的长度为10 cm.子弹打进木块的深度为6 cm.设木块对子弹的阻力保持不变.(计算结果只要求保留到小数点后一位) (1)求子弹和木块的共同速度以及它们在此过程中所增加的内能, (2)若子弹是以400 m/s的水平速度从同一方向水平射向该木块的.则它能否射穿该木块? 查看更多

 

题目列表(包括答案和解析)

如图,在光滑的水平桌面上有一物体A,通过绳子与物体B相连,假设绳子的质量以及绳子与定滑轮之间的摩擦力都可以忽略不计,绳子不可伸长.如果,A、B由静止释放,则物体A的加速度大小等于(   )

  A、3    B、    C、3/4    D、/2

 

查看答案和解析>>

如图,在光滑的水平桌面上有一物体A,通过绳子与物体B相连,假设绳子的质量以及绳子与定滑轮之间的摩擦力都可以忽略不计,绳子不可伸长.如果,A、B由静止释放,则物体A的加速度大小等于(   )

  A、3    B、    C、3/4    D、/2

查看答案和解析>>

如图,在光滑的水平桌面上有一物体A,通过绳子与物体B相连,假设绳子的质量以及绳子与定滑轮之间的摩擦力都可以忽略不计,绳子不可伸长.如果,A、B由静止释放,则物体A的加速度大小等于(   )

  A、3   B、    C、3/4   D、/2

 

查看答案和解析>>

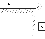
如图,在光滑的水平桌面上有一物体A,通过绳子与物体B相连,假设绳子的质量以及绳子与定滑轮之间的摩擦力都可以忽略不计,绳子不可伸长.如果mB=3mA,A、B由静止释放,则物体A的加速度大小等于

A.

3 g

B.

g

C.

3 g/4

D.

g/2

查看答案和解析>>

在光滑的水平桌面上,放一长为 L 的木块 M.今有 A、B 两颗子弹,沿同一直线分别以水平速度 vA 和 vB,从两侧同时射入木块.已知 A、B 两子弹嵌入木块中的深度分别为 dA 和 dB,且dA <dB,dA +dB<L,此过程中木块对 A、B 两子弹的阻力大小相等,且木块始终保持静止,如图1-8-4 所示.则 A、B 两子弹在射入木块前(    )

图1-8-4

A.速度 vA>vB                             B.A 的动能大于 B 的动能

C.A 的动量大于 B 的动量              D.A 的质量大于 B 的质量

查看答案和解析>>


同步练习册答案