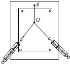
(1)图1甲为游乐园中“空中飞椅”的游戏设施.若将人和座椅看成一个质点,则可简化为如图1乙所示的物理模型,其中P为处于水平面内的转盘,可绕竖直转轴OO'转动,设绳长l=10m,质点的质量m=60kg,转盘静止时质点与转轴之间的距离d=4.0m,转盘逐渐加速转动,经过一段时间后质点与转盘一起做匀速圆周运动,此时绳与竖直方向的夹角θ=37°(不计空气阻力及绳重,且绳不可伸长,sin37°=0.6,cos37°=0.8)求质点与转盘一起做匀速圆周运动时,绳子拉力的大小为
750N
750N
;转盘角速度的大小为
.
(2)某实验小组装置探究功与速度变化的关系,小车在橡皮筋的作用下弹出后,沿木板滑行.打点计时器工作频率为50Hz.
①实验中木板略微倾斜,这样做
CD
CD
;
A.是为了使释放小车后,小车能匀加速下滑
B.是为了增大小车下滑的加速度
C.可使得橡皮筋做的功等于合力对小车做的功
D.可使得橡皮筋松弛后小车做匀速运动
②实验中先后用同样的橡皮筋1条、2条、3条…,并起来挂在小车的前端进行多次实验,每次都要把小车拉到同一位置再释放小车.把第1次只挂1条橡皮筋时橡皮筋对小车做的功记为W
1,第二次挂2条橡皮筋时橡皮筋对小车做的功为2W
1,…;橡皮筋对小车做功后而使小车获得的速度可由打点计时器打出的纸带测出.根据第四次的纸带(如图所2示)求得小车获得的速度为
2
2
m/s.
③若根据多次测量数据画出的W-v草图如图3所示,根据图线形状,可知对W与v的关系做出的猜想肯定不正确的是
AB
AB
.
A.W∝
B.W∝
C.W∝v
2 D.W∝v
3④如果W∝v
2的猜想是正确的,则画出的W-v
2图象应是:
过原点的一条直线
过原点的一条直线
⑤在本实验中你认为影响实验效果的可能原因是
橡皮筋的规格不完全相同
橡皮筋的规格不完全相同
.(只要回答出一种原因即可)
(3)如图4,①下述关于用多用表欧姆档测电阻的说法中正确的是
AC
AC
.
(A)测量电阻时如果指针偏转过大,应将选择开关S拨至倍率较小的档位,重新调零后测量
(B)测量电阻时,如果红、黑表笔分别插在负、正插孔,则会影响测量结果
(C)测量电路中的某个电阻,应该把该电阻与电路断开
(D)测量阻值不同的电阻时都必须重新调零
②一只标有“18V,10W”的灯泡,正常工作时的电阻为
32.4
32.4
Ω;若用多用电表的欧姆档来测量这只灯泡的电阻,则测出的阻值应
小于
小于
填“大于”、“等于”或“小于”)正常工作时的电阻.
(4)读出多组电阻箱的示数R和对应的电压表示数U,由测得的数据,绘出了如图5所示的
-
图线.由此可求得电源电动势E和电源内阻r,其中E=
2.86
2.86
V,r=
5.71
5.71
Ω.(保留两位小数).
