26. 按图甲那样.将滑轮组安装好.记下钩码和弹簧秤的位置.图中所挂钩码重1牛. 查看更多

 

题目列表(包括答案和解析)

11、有两根外形完全相同的棒a和b.如果按图甲那样,用手拿a,则b不会掉下;若按图乙那样,用手拿b,则不能吸住a,这说明(  )

查看答案和解析>>

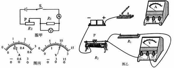
谢敏同学利用电压表和电流表测量电阻R1的阻值(约9Ω),电源选用两节干电池.

(1)按图甲电路,将图乙中电流表正确连入电路.(2分)

(2)该同学检查电路连接正确,合上开关,可是无论怎样移动滑片,电压表示数总为3 V不变,你认为发生故障的原因可能是 _________  _________ 

(3)清除故障后,小明将滑片P向左滑动时,电压表示数将 _________ (填“增大”“减小”或“不变”),当P滑到某一位置时,两表读数如图丙所示,由此可知R= _________ Ω.你认为这个结果可靠吗 _________ ?理由是 _________ 

 

查看答案和解析>>

有两根外形完全相同的棒a和b。如果按图甲那样,用手拿a,则b 不会掉下;若按图乙那样,用手拿b ,则不能吸住a,这说明

A.a有磁性,b没有磁性    

B. a没有磁性,b有磁性

C.a、b都没有磁性      

D. a、b都有磁性

 

查看答案和解析>>

谢敏同学利用电压表和电流表测量电阻R1的阻值(约9Ω),电源选用两节干电池.

(1)按图甲电路,将图乙中电流表正确连入电路.

(2)该同学检查电路连接正确,合上开关,可是无论怎样移动滑片,电压表示数总为3 V不变,你认为发生故障的原因可能是    

(3)清除故障后,小明将滑片P向左滑动时,电压表示数将 增大 (填“增大”“减小”或“不变”),当P滑到某一位置时,两表读数如图丙所示,由此可知R= 10 Ω.你认为这个结果可靠吗  ?理由是  

查看答案和解析>>

同学利用电压表和电流表测量电阻R1的阻值(约9Ω左右),电源选用两节干电池。

(1)按图甲电路,将图乙中电流表正确连入电路

(2)该同学检查电路连接正确,合上开关,可是无论怎样移动滑片,电压表示数总为3v不变,你认为发生故障的原因可能是____________________________________。

(3)清除故障后,小明将滑片P向左滑动时,电压表示数将________(填“增大”、“减小”、“不变”),当P滑到某一位置时,两表读数如图丙所示,由此可知R=____Ω。你认为这个结果可靠吗?理由是_____________________________________________                   

查看答案和解析>>


同步练习册答案