18.如图7所示.A物重200N.B物重100N.用轻绳经过定滑轮后系在一起.B物体在摆到最高点时.绳与竖直方向夹角为60°.则A物体此时对地面的压力大小为 N. 查看更多

 

题目列表(包括答案和解析)

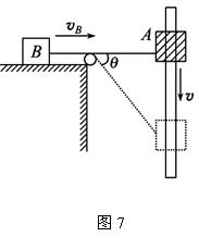
如图7所示,A物块以速度v沿竖直杆匀速下滑,经细绳通过定滑轮拉动物块B在水平方向上运动.当细绳与水平面夹角为θ时,求物块B运动的速度大小.

查看答案和解析>>

如图7所示,一小物块在开口向上的半圆形曲面内以某一速率开始下  滑,曲面内各处动摩擦因数不同,此摩擦作用使物块下滑时速率保持不变,则下列说法正确的是                              (  )

A.因物块速率保持不变,故加速度为零                             

B.物块所受合外力大小不变,方向在变

C.在滑到最低点以前,物块对曲面的压力越来越大

D.在滑到最低点以前,物块受到的摩擦力越来越小

 

查看答案和解析>>

如图7所示,一物块A放在固定于水平地面上的斜面体B上,处于静止状态。现用力F沿不同方向作用在A上,物块A始终保持静止。则物块A受到的摩擦力一定增大且数值最小的是(  )

图7

查看答案和解析>>

如图7所示,一小物块在开口向上的半圆形曲面内以某一速率开始下 滑,曲面内各处动摩擦因数不同,此摩擦作用使物块下滑时速率保持不变,则下列说法正确的是                              (  )

A.因物块速率保持不变,故加速度为零
B.物块所受合外力大小不变,方向在变
C.在滑到最低点以前,物块对曲面的压力越来越大
D.在滑到最低点以前,物块受到的摩擦力越来越小

查看答案和解析>>

如图7所示,一小物块在开口向上的半圆形曲面内以某一速率开始下 滑,曲面内各处动摩擦因数不同,此摩擦作用使物块下滑时速率保持不变,则下列说法正确的是                             


  1. A.
    因物块速率保持不变,故加速度为零
  2. B.
    物块所受合外力大小不变,方向在变
  3. C.
    在滑到最低点以前,物块对曲面的压力越来越大
  4. D.
    在滑到最低点以前,物块受到的摩擦力越来越小

查看答案和解析>>


同步练习册答案