如图所示.一根长为L的轻质细线.一端固定于O点.另一端拴有一质量为m的小球.可在竖直的平面内绕O点摆动.现拉紧细线使小球位于与O点在同一竖直面内的A位置.细线与水平方向成300角.从静止释放该小球.当小球运动至悬点正下方C位置时的速度是: A. B. C. D. 查看更多

 

题目列表(包括答案和解析)

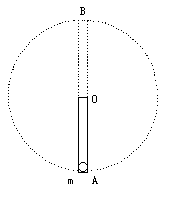
如图所示,一根长为L的轻质细线,一端固定于O点,另一端拴有一质量为m的小球,可在竖直的平面内绕O点摆动,现拉紧细线使小球位于与O点在同一竖直面内的A位置,细线与水平方向成30°角,从静止释放该小球,当小球运动至悬点正下方C位置时的速度是(  )

查看答案和解析>>

如图所示,一根长为L的轻质细线,一端固定于O点,另一端拴有一质量为m的小球,可在竖直的平面内绕O点摆动,现拉紧细线使小球位于与O点在同一竖直面内的A位置,细线与水平方向成30°角,从静止释放该小球,当小球运动至悬点正下方C位置时的速度是(  )
A.
5gL
2
B.
5gL
2
C.
3gL
D.
3gL
2
精英家教网

查看答案和解析>>

如图所示,一根长为L的轻质细线,一端固定于O点,另一端拴有一质量为m的小球,可在竖直的平面内绕O点摆动,现拉紧细线使小球位于与O点在同一竖直面内的A位置,细线与水平方向成30°角,从静止释放该小球,当小球运动至悬点正下方C位置时的速度是( )

A.
B.
C.
D.

查看答案和解析>>

如图所示,一根长为l的轻质杆,下端固定一质量为m的小球,欲使它以上端O为转轴刚好能在竖直平面内做圆周运动,球在最低点A的速度至少为___________;如将杆换成长为l的细线,球在最低点A的速度至少为_________.

查看答案和解析>>

精英家教网如图所示,一根长l=0.8m轻绳一端固定在O点,另一端栓一质量m=0.1kg的小球静止于A点,其右方有底面半径r=0.2m的转筒,转筒顶端与A等高,下部有一小孔,距顶端h=0.8m.现使细绳处于水平线上方30°的位置B点处而伸直,且与转筒的轴线、OA在同一竖直平面内,开始时小孔也在这一竖直平面内.将小球由B点静止释放,当小球经过A点时轻绳突然断掉,同时触动了光电装置,使转筒立刻以某一角速度匀速转动起来,且小球最终正好进入小孔.不计空气阻力,g取l0m/s2
(1)辨析题:求小球到达A点时的速率?
某同学解法如下:小球从B点运动到A点过程中,只有重力做功,故机械能守恒,则mgl(1+sin30°)=
12
mvA2
,代入数据,即可求得小球到达A点时的速率.
你认为上述分析是否正确?如果你认为正确,请完成此题;如果你认为不正确,请指出错误,并给出正确的解答.
(2)求转筒轴线距A点的距离L
(3)求转筒转动的角速度ω

查看答案和解析>>


同步练习册答案