13.如图所示.质量为m的物体P与车厢的竖直面间的动摩擦因数为μ.要使物体P不下滑(最大静摩擦力的计算以滑动摩擦力的计算代替).车厢的加速度的最小值为 .方向为 . 查看更多

 

题目列表(包括答案和解析)

如图所示,质量为m的物体P与车厢内壁间的动摩擦因数为μ,要使物体P不下滑,车厢的加速度的最小值为_____________,方向为_____________。

查看答案和解析>>

如图3-3-13所示,质量为m的物体P与车厢的竖直面的动摩擦因数为μ(设最大静摩擦力等于滑动摩擦力),要使P物体不下滑,则车厢的加速度最小值为__________,方向__________.

图3-3-13

查看答案和解析>>

如图3-3-13所示,质量为m的物体P与车厢的竖直面的动摩擦因数为μ(设最大静摩擦力等于滑动摩擦力),要使P物体不下滑,则车厢的加速度最小值为__________,方向__________.

图3-3-13

查看答案和解析>>

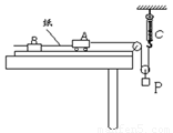
如图所示为“探究加速度与物体受力的关系”的实验装置图。图中A为小车,质量为m1,连接在小车后面的纸带穿过电火花打点计时器B,它们均置于水平放置的一端带有定滑轮的足够长的木板上,p的质量为m2 , C为弹簧测力计,实验时改变p的质量,读出测力计不同读数F,不计绳与滑轮的摩擦。

(1)电火花打点计时器工作电压为       流(选填“交、直”)           V

(2)下列说法正确的是(         )

A.一端带有定滑轮的长木板必须保持水平

B.实验时应先接通电源后释放小车

C.实验中m2应远小于m1

D.测力计的读数始终为 m2g/2

(3)下图为某次实验得到的纸带,纸带上标出了所选的四个计数点之间的距离,相邻计数点间还有四个点没有画出。由此可求得小车的加速度的大小是       m/s2。(交流电的频率为50Hz,结果保留二位有效数字)

(4)实验时,某同学由于疏忽,遗漏了平衡摩擦力这一步骤,他测量得到的a F图像,可能是下图中的图线(         )

 

 

查看答案和解析>>

如图所示为“探究加速度与物体受力的关系”的实验装置图。图中A为小车,质量为m1,连接在小车后面的纸带穿过电火花打点计时器B,它们均置于水平放置的一端带有定滑轮的足够长的木板上,p的质量为m2 ,C为弹簧测力计,实验时改变p的质量,读出测力计不同读数F,不计绳与定滑轮、动滑轮之间的摩擦。

(1)电火花打点计时器工作电压为           V的交流电。

(2)下列说法正确的是     

A.一端带有定滑轮的长木板必须保持水平

B.实验时应先接通电源后释放小车

C.实验中m2应远小于m1

D.测力计的读数始终为 

(3)下图为某次实验得到的纸带,纸带上标出了所选的四个计数点之间的距离,相邻计数点间还有四个点没有画出。由此可求得小车的加速度的大小是        m/s2(交流电的频率为50Hz,结果保留二位有效数字)

(4)实验时,某同学由于疏忽,遗漏了平衡摩擦力这一步骤,他测量得到的a—F图像,可能是下图中的图线         

 

 

查看答案和解析>>


同步练习册答案