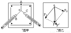
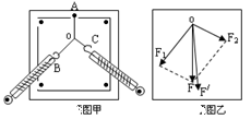
14. “探究求合力的方法 实验装置如图甲所示.其中A为固定橡皮筋的图钉.O为橡皮筋与细绳的结点.OB和OC为细绳.图乙是在白纸上根据实验结果画出的图示.F与F /中.方向一定沿AO方向的是 .(填“F 或“F ′ ) (2)上述实验采用的科学方法是 . A.理想实验法 B.等效替代法 C.控制变量法 D.建立物理模型法 (3) 如图8所示.用两个弹簧秤P.Q将橡皮条的结点拉到O点.细绳与橡皮条所在直线的夹角分别为α.β.且α+β≥90°.现保持P的示数不变.使α角稍微增大.欲保证结点O的位置不变.可用的方法是 A. 使Q示数变大.β角变大 B. 使Q的示数变大.β角变小 C. 使Q的示数变大.β角不 D. 使Q的示数变小.β角变小 查看更多

 

题目列表(包括答案和解析)

“探究求合力的方法”实验装置如图甲所示,其中A为固定橡皮筋的图钉,O为橡皮筋与细绳的结点,OB和OC为细绳.图乙是在白纸上根据实验结果画出的图示.F与F′中,方向一定沿AO方向的是
F′
F′

查看答案和解析>>

“探究求合力的方法”实验装置如图甲所示,其中A为固定橡皮筋的图钉,O为橡皮筋与细绳的结点,OB和OC为细绳。

(1)在用两根弹簧秤通过细绳拉橡皮筋时,除了要记下两弹簧秤拉力大小和方向,还需
记录          . 
(2)图乙是在白纸上根据实验结果画出的图示。F与F/中,方向一定沿AO方向的是     .
(3)本实验中采用的科学方法是              .

查看答案和解析>>

“探究求合力的方法”实验装置如图甲所示,其中A为固定橡皮筋的图钉,O为橡皮筋与细绳的结点,OB和OC为细绳。

(1)在用两根弹簧秤通过细绳拉橡皮筋时,除了要记下两弹簧秤拉力大小和方向,还需

记录          . 

(2)图乙是在白纸上根据实验结果画出的图示。F与F/中,方向一定沿AO方向的是     .

(3)本实验中采用的科学方法是              .

 

查看答案和解析>>

“探究求合力的方法”实验装置如图甲所示,其中A为固定橡皮筋的图钉,O为橡皮筋与细绳的结点,OB和OC为细绳.图乙是在白纸上根据实验结果画出的图示.F与F′中,方向一定沿AO方向的是______.

查看答案和解析>>

“探究求合力的方法”实验装置如图甲所示,其中A为固定橡皮筋的图钉,O为橡皮筋与细绳的结点,OB和OC为细绳.图乙是在白纸上根据实验结果画出的图示.F与F′中,方向一定沿AO方向的是______.

查看答案和解析>>


同步练习册答案