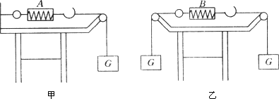
2.如图1所示.弹簧秤和细线的重力及一切摩擦不计.重物G=1N.则弹簧秤A和B的示数分别为: 图1 A.1N.0 B.0.1N C.1N.1N D.2N.1N 查看更多

 

题目列表(包括答案和解析)

精英家教网如图所示,弹簧秤和细线的重力及一切摩擦不计,重物G=5N,则弹簧秤A和B的示数分别为(  )
A、5 N,0B、0,1 NC、5 N,1 ND、5 N,5 N

查看答案和解析>>

如图所示,弹簧秤和细线的重力及一切摩擦不计,重物G=5 N,则弹簧秤AB的示数分别为(  )

   

A.5 N,0                    B.0,1 N

C.5 N,1 N                 D.5 N,5 N

查看答案和解析>>

如图所示,弹簧秤和细线的重力及一切摩擦不计,重物G=1 N,则弹簧秤A和B的示数分别为(  ).

A.1 N,0

B.0,1 N

C.2 N,1 N

D.1 N,1 N

查看答案和解析>>

如图1所示为某种电子秤的原理示意图,AB为一均匀的滑线变阻器,总阻值为R,长度为L,两侧分别有P1、P2两个滑动头,与P1相连的金属细杆可在被固定的竖直光滑绝缘杆MN上移动并保持水平状态,金属细杆与托盘相连,金属细杆所受重力不计.弹簧处于原长时P1刚好指向A端,若P1、P2间出现电压时,该电压经过放大,通过信号转换器转换后在显示屏上显示出质量的大小.已知弹簧的劲度系数为k,托盘自身质量为m0,电源的电动势为E,电源的内阻忽略不计,信号放大器、信号转换器和显示器的分流作用忽略不计.求:
(1)托盘上未放物体时,在托盘的自身重力作用下,P1距A端的距离x1
(2)在托盘上放有质量为m的物体时,P1距A端的距离x2
(3)在托盘上未放物体时通常先校准零点,其方法是:调节P2,从而使P1、P2间的电压为零.校准零点后,将被称物体放在托盘上,试推导出被称物体的质量m与P1、P2间电压U的函数关系式.

查看答案和解析>>

(1)如图1所示,在高为h的平台边缘抛出小球A,同时在水平地面上距台面边缘水平距离为s处竖直上抛小球B,两球运动轨迹在同一竖直平面内,不计空气阻力,重力加速度为g.若两球能在空中相遇,则小球A的初速度vA应大于
 
,A、B两球初速度之比
vAvB
 

(2)在探究求合力的方法时,先将橡皮条的一端固定在水平木板上,另一端系上带有绳套的两根细绳.实验时,需要两次拉伸橡皮条,一次是通过两细绳用两个弹簧秤互成角度的拉橡皮条,另一次是用一个弹簧秤通过细绳拉橡皮条.
①实验对两次拉伸橡皮条的要求中,下列哪些说法是正确的
 
(填字母代号).
A.将橡皮条拉伸相同长度即可       B.将橡皮条沿相同方向拉到相同长度
C.将弹簧秤都拉伸到相同刻度       D.将橡皮条和绳的结点拉到相同位置
②同学们在操作过程中有如下议论,其中对减小实验误差有益的说法是
 
 (填字母代号).
A.两细绳必须等长
B.弹簧秤、细绳、橡皮条都应与木板平行
C.用两弹簧秤同时拉细绳时两弹簧秤示数之差应尽可能大
D.拉橡皮条的细绳要长些,标记同一细绳方向的两点要远些精英家教网
(3)要测量电压表V1的内阻RV,其量程为2V,内阻约为2kΩ.实验室提供的器材有:
电流表A,量程0.6A,内阻约0.1Ω;
电压表V2,量程5V,内阻5kΩ;
定值电阻R1,阻值30Ω;
定值电阻R2,阻值3kΩ;
滑动变阻器R3,最大阻值100Ω,额定电流1.5A;
电源E,电动势6V,内阻约0.5Ω;
开关S一个,导线若干.
①有人拟将待测电压表V1和电流表A串连接入电压合适的测量电路中,测出V1的电压和电流,再计算出RV.该方案实际上不可行,其最主要的原因是
 

②请从上述器材中选择必要的器材,设计一个测量电压表V1内阻RV的实验电路.要求测量尽量准确,实验须在同一电路中,且在不增减元件的条件下完成.试在图2中画出符合要求的实验电路图(图中电源与开关已连好),并标出所选元件的相应字母代号;
③由上问写出V1内阻RV的表达式,说明式中各测量量的物理意义.

查看答案和解析>>


同步练习册答案