18.如图所指出的四个力中.使受力物体运动状态发生改变的是 查看更多

 

题目列表(包括答案和解析)

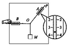
某同学用如图所示的实验装置来验证“力的平行四边形定则”。弹簧测力计A挂于固定点P,下端用细线挂一重物M。弹簧测力计B的一端用细线系于O点,手持另一端向左拉,使结点O静止在某位置。分别读出弹簧测力计A和B的示数,并在贴于竖直木板的白纸上记录O点的位置和拉线的方向。

1.本实验用的弹簧测力计示数的单位为N,图中A的

示数为______N。

2.下列不必要的实验要求是______。(请填写选项前对应

的字母)

A.应测量重物M所受的重力

B.弹簧测力计应在使用前校零

C.拉线方向应与木板平面平行

D.改变拉力,进行多次实验,每次都要使O点静止在同一位置

3.某次实验中,该同学发现弹簧测力计A的指针稍稍超出量程,请您提出一个解决办法。

______________________________________________________________

 

查看答案和解析>>

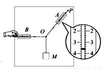
某同学用如图所示的实验装置来验证“力的平行四边形定则”。弹簧测力计A挂于固定点P,下端用细线挂一重物M。弹簧测力计B的一端用细线系于O点,手持另一端向左拉,使结点O静止在某位置。

分别读出弹簧测力计A和B的示数,并在贴于竖直木板的白纸上记录O点的位置和拉线的方向。

1.本实验用的弹簧测力计示数的单位为N,图中A的示数为_______N。

2.下列不必要的实验要求是_________。(请填写选项前对应的字母)

(A)应测量重物M所受的重力

(B)弹簧测力计应在使用前校零

(C)拉线方向应与木板平面平行

(D)改变拉力,进行多次实验,每次都要使O点静止在同一位置

3.某次实验中,该同学发现弹簧测力计A的指针稍稍超出量程,请您提出两个解决办法________ 。

 

查看答案和解析>>

(6分)某同学用如图所示的实验装置来验证“力的平行四边形定则”。弹簧测力计A挂于固定点P,下端用细线挂一重物M。弹簧测力计B的一端用细线系于O点,手持另一端使结点O静止在某位置。分别读出弹簧测力计A和B的示数,并在贴于竖直木板的白纸上记录O点的位置和拉线的方向。

(1)本实验用的弹簧测力计示数的单位为N,图中的示数为_______N(保留两位有效数字)。

(2)下列的一些做法中,哪些是该实验中必须的实验要求_________。(请填写选项前对应的字母)

A.弹簧测力计应在使用前校零

B.实验中必须保证OB水平

C.应测量重物M所受的重力

D拉线方向应与木板平面平行

E.改变拉力,进行多次实验,每次都要使O点静止在同一位置

F.改变拉力,进行多次实验,每次都要使AO与OB的夹角不变

(3)某次实验中,该同学发现弹簧测力计A的指针稍稍超出量程,请你提出两个解决办法。

①_______________________________________________;

② ________________________________________________________。

 

查看答案和解析>>

某同学用如图所示的实验装置来验证“力的平行四边形定则”。弹簧测力计A挂于固定点P,下端用细线挂一重物M。弹簧测力计B的一端用细线系于O点,手持另一端向左拉,使结点O静止在某位置。分别读出弹簧测力计A和B的示数,并在贴于竖直木板的白纸上记录O点的位置和拉线的方向。

1.本实验用的弹簧测力计示数的单位为N,图中A的

示数为______N。

2.下列不必要的实验要求是______。(请填写选项前对应

的字母)

A.应测量重物M所受的重力

B.弹簧测力计应在使用前校零

C.拉线方向应与木板平面平行

D.改变拉力,进行多次实验,每次都要使O点静止在同一位置

3.某次实验中,该同学发现弹簧测力计A的指针稍稍超出量程,请您提出一个解决办法。

______________________________________________________________

 

查看答案和解析>>

某同学用如图所示的实验装置来验证“力的平行四边形定则”。弹簧测力计A挂于固定点P,下端用细线挂一重物M。弹簧测力计B的一端用细线系于O点,手持另一端向左拉,使结点O静止在某位置。

分别读出弹簧测力计A和B的示数,并在贴于竖直木板的白纸上记录O点的位置和拉线的方向。

1.本实验用的弹簧测力计示数的单位为N,图中A的示数为_______N。

2.下列不必要的实验要求是_________。(请填写选项前对应的字母)

(A)应测量重物M所受的重力

(B)弹簧测力计应在使用前校零

(C)拉线方向应与木板平面平行

(D)改变拉力,进行多次实验,每次都要使O点静止在同一位置

3.某次实验中,该同学发现弹簧测力计A的指针稍稍超出量程,请您提出两个解决办法________ 。

 

查看答案和解析>>


同步练习册答案