机械能守恒定律的表达式 ,条件是 . 查看更多

 

题目列表(包括答案和解析)

在“验证机械能守恒定律”的实验中,打点计时器所用电源频率为50 Hz,当地重力加速度的值为9.80 m/s2,测得所用重物的质量为1.00 kg.

若按实验要求正确地选出纸带进行测量,量得连续三点A、B、C到第一个点的距离如上图所示(相邻计数点时间间隔为0.02 s),那么:

(1)纸带的________(左、右)端与重物相连;

(2)打点计时器打下计数点B时,物体的速度vB=________;

(3)从起点O到打下计数点B的过程中重力势能减少量是Ep=__________,此过程中物体动能的增加量Ek=________;

(4)实验的结论是____                                     ________.

(5)下面列举了该实验的几个操作步骤(示意图如图):

A.按照图示的装置安装器件;

B.将打点计时器接到电源的直流输出端上;

C.用天平测量出重锤的质量;

D.释放悬挂纸带的夹子,同时接通电源开关打出一条     纸带;

E.测量纸带上打出的某些点之间的距离;

F.根据测量的结果计算重锤下落过程中减少的重力势能是否等于增加的动能.

指出其中没有必要进行的或者操作不恰当的步骤,将其选项对应的字母填在下面的横线上,并改正不恰当的步骤:

没有必要进行的         

操作不恰当的          ,改正为                                          

操作不恰当的          ,改正为                                                                                                   

(6)利用这个装置也可以测量重锤下落的实际加速度a的数值.设某次实验打出如下图所示纸带,选取纸带上打出的连续五个点A、B、C、D、E,测出A点距起始点O的距离为s0,点A、C间的距离为s1,点C、E间的距离为s2,使用交流电的频率为f,则根据这些条件计算重锤下落的加速度a的表达式为:a=                .

 

查看答案和解析>>

在“验证机械能守恒定律”的实验中,打点计时器所用电源频率为50 Hz,当地重力加速度的值为9.80 m/s2,测得所用重物的质量为1.00 kg.

若按实验要求正确地选出纸带进行测量,量得连续三点A、B、C到第一个点的距离如上图所示(相邻计数点时间间隔为0.02 s),那么:
(1)纸带的________(左、右)端与重物相连;
(2)打点计时器打下计数点B时,物体的速度vB=________;
(3)从起点O到打下计数点B的过程中重力势能减少量是Ep=__________,此过程中物体动能的增加量Ek=________;
(4)实验的结论是____                                     ________.
(5)下面列举了该实验的几个操作步骤(示意图如图):

A.按照图示的装置安装器件;
B.将打点计时器接到电源的直流输出端上;
C.用天平测量出重锤的质量;
D.释放悬挂纸带的夹子,同时接通电源开关打出一条    纸带;
E.测量纸带上打出的某些点之间的距离;
F.根据测量的结果计算重锤下落过程中减少的重力势能是否等于增加的动能.
指出其中没有必要进行的或者操作不恰当的步骤,将其选项对应的字母填在下面的横线上,并改正不恰当的步骤:
没有必要进行的        
操作不恰当的         ,改正为                                          
操作不恰当的         ,改正为                                                                                                   
(6)利用这个装置也可以测量重锤下落的实际加速度a的数值.设某次实验打出如下图所示纸带,选取纸带上打出的连续五个点A、B、C、D、E,测出A点距起始点O的距离为s0,点A、C间的距离为s1,点C、E间的距离为s2,使用交流电的频率为f,则根据这些条件计算重锤下落的加速度a的表达式为:a=                .

查看答案和解析>>

在“验证机械能守恒定律”的实验中:
(1)下面列举了该实验的某几个操作步骤:
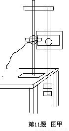
A按照图(甲)所示的装置安装器材;
B 将电磁式打点计时器接到电源的直流输出端上;
C 释放悬挂纸带的夹子,然后接通电源开关打出一条纸带;
D测量打出的纸带上某些点到第一个点之间的距离;
E根据测量的结果计算重锤下落的过程中减少的重力势能是否等于增加的动能。
其中,有两个步骤明显错误或不恰当,请将其选项对应的字母填在下面的空行内
                          

(2)用这个装置也可以测量重锤下落的加速度a的数值。如图乙所示,根据打出的纸带,选取纸带上打出的连续五个点A、B、C、D、E,测出A点距起点O的距离为s0 点A、C间的距离为s1 ,点C、E间的距离为s2 ,交流电的周期为T,则根据这些条件计算重锤下落的加速度速度的表达式为a=               .

(3)“验证机械能守恒定律”的实验中发现,重锤减小的重力势能总是大于重锤增加的动能,其原因主要是因为在重锤下落的过程中存在着阻力的作用,我们可以通过测量物理量(写出名称和符号)         ,试用这个物理量和(2)中已经测出的加速度a(可直接用a)表示出重锤在下落过程中受到的平均阻力的大小F=                  。(当地重力加速度为g)

查看答案和解析>>

在“验证机械能守恒定律”的实验中:

(1)下面列举了该实验的某几个操作步骤:

A按照图(甲)所示的装置安装器材;

B 将电磁式打点计时器接到电源的直流输出端上;

C 释放悬挂纸带的夹子,然后接通电源开关打出一条纸带;

D测量打出的纸带上某些点到第一个点之间的距离;

E根据测量的结果计算重锤下落的过程中减少的重力势能是否等于增加的动能。

其中,有两个步骤明显错误或不恰当,请将其选项对应的字母填在下面的空行内

                           

(2)用这个装置也可以测量重锤下落的加速度a的数值。如图乙所示,根据打出的纸带,选取纸带上打出的连续五个点A、B、C、D、E,测出A点距起点O的距离为s0 点A、C间的距离为s1 ,点C、E间的距离为s2 ,交流电的周期为T,则根据这些条件计算重锤下落的加速度速度的表达式为a=               .

(3)“验证机械能守恒定律”的实验中发现,重锤减小的重力势能总是大于重锤增加的动能,其原因主要是因为在重锤下落的过程中存在着阻力的作用,我们可以通过测量物理量(写出名称和符号)          ,试用这个物理量和(2)中已经测出的加速度a(可直接用a)表示出重锤在下落过程中受到的平均阻力的大小F=                  。(当地重力加速度为g)

 

查看答案和解析>>

在“验证机械能守恒定律”的实验中,打点计时器所用电源频率为50 Hz,当地重力加速度的值为9.80 m/s2,测得所用重物的质量为1.00 kg.

若按实验要求正确地选出纸带进行测量,量得连续三点A、B、C到第一个点的距离如上图所示(相邻计数点时间间隔为0.02 s),那么:

(1)纸带的________(左、右)端与重物相连;

(2)打点计时器打下计数点B时,物体的速度vB=________;

(3)从起点O到打下计数点B的过程中重力势能减少量是Ep=__________,此过程中物体动能的增加量Ek=________;

(4)实验的结论是____                                      ________.

(5)下面列举了该实验的几个操作步骤(示意图如图):

A.按照图示的装置安装器件;

B.将打点计时器接到电源的直流输出端上;

C.用天平测量出重锤的质量;

D.释放悬挂纸带的夹子,同时接通电源开关打出一条     纸带;

E.测量纸带上打出的某些点之间的距离;

F.根据测量的结果计算重锤下落过程中减少的重力势能是否等于增加的动能.

指出其中没有必要进行的或者操作不恰当的步骤,将其选项对应的字母填在下面的横线上,并改正不恰当的步骤:

没有必要进行的         

操作不恰当的          ,改正为                                          

操作不恰当的          ,改正为                                                                                                    

(6)利用这个装置也可以测量重锤下落的实际加速度a的数值.设某次实验打出如下图所示纸带,选取纸带上打出的连续五个点A、B、C、D、E,测出A点距起始点O的距离为s0,点A、C间的距离为s1,点C、E间的距离为s2,使用交流电的频率为f,则根据这些条件计算重锤下落的加速度a的表达式为:a=                 .

 

查看答案和解析>>


同步练习册答案