7.如图所示.在铅版A上放一个放射源C可向各个方向射出速率为v的β射线.B为金属网.A.B连接在电路上.电源电动势为E.内阻为r.滑动变阻器总阻值为R.图中滑动变阻器滑片置于中点.A.B间距为d.M为荧光屏.它紧挨者金属网外侧.已知β粒子的质量为m.不计β射线所形成的电流对电路的影响. 求: (1)闭合开关S后.AB间的场强的大小是多少? (2)β粒子到达金属网B的最长时间? (3)切断开关S.并撤去金属网B.加上垂直纸面向内.范围足够大的匀强磁场.磁感应强度大小为B.设加上B后β粒子仍能到达荧光屏.这时在竖直方向上能观察到荧光屏亮区的长度是多? 查看更多

 

题目列表(包括答案和解析)

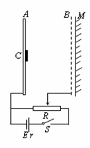
如图所示,在铅版A上放一个放射源C可向各个方向射出速率为v的β射线,B为金属网,A、B连接在电路上,电源电动势为,内阻为r,滑动变阻器总阻值为R.图中滑动变阻器滑片置于中点,A、B间距为d,M为荧光屏(足够大),它紧挨者金属网外侧,已知β粒子的质量为m,电荷量e,不计β射线所形成的电流对电路的影响, 求:

(1)闭合开关S后,AB间的场强的大小是多少?

(2)β粒子到达金属网B的最长时间?

(3)切断开关S,并撤去金属网B,加上垂直纸面向内、范围足够大的匀强磁场,磁感应强度大小为B,设加上B后β粒子仍能到达荧光屏。这时在竖直方向上能观察到荧光屏亮区的长度是多?

查看答案和解析>>

(18分)如图所示,在铅版A上放一个放射源C可向各个方向射出速率为v的β射线,B为金属网,A、B连接在电路上,电源电动势为,内阻为r,滑动变阻器总阻值为R.图中滑动变阻器滑片置于中点,A、B间距为d,M为荧光屏(足够大),它紧挨者金属网外侧,已知β粒子的质量为m,电荷量e,不计β射线所形成的电流对电路的影响, 求:

(1)闭合开关S后,AB间的场强的大小是多少?

(2)β粒子到达金属网B的最长时间?

(3)切断开关S,并撤去金属网B,加上垂直纸面向内、范围足够大的匀强磁场,磁感应强度大小为B,设加上B后β粒子仍能到达荧光屏。这时在竖直方向上能观察到荧光屏亮区的长度是多?

 

查看答案和解析>>

(18分)如图所示,在铅版A上放一个放射源C可向各个方向射出速率为v的β射线,B为金属网,A、B连接在电路上,电源电动势为,内阻为r,滑动变阻器总阻值为R.图中滑动变阻器滑片置于中点,A、B间距为d,M为荧光屏(足够大),它紧挨者金属网外侧,已知β粒子的质量为m,电荷量e,不计β射线所形成的电流对电路的影响, 求:

(1)闭合开关S后,AB间的场强的大小是多少?
(2)β粒子到达金属网B的最长时间?
(3)切断开关S,并撤去金属网B,加上垂直纸面向内、范围足够大的匀强磁场,磁感应强度大小为B,设加上B后β粒子仍能到达荧光屏。这时在竖直方向上能观察到荧光屏亮区的长度是多?

查看答案和解析>>

如图所示,在铅版A上放一个放射源C可向各个方向射出速率为vβ射线,B为金属网,AB连接在电路上,电源电动势为U,内阻为r,滑动变阻器总阻值为R.图中滑动变阻器滑片置于中点,AB间距为dM为荧光屏(足够大),它紧挨者金属网外侧,已知β粒子的质量为m,电荷量e,不计β射线所形成的电流对电路的影响,求:

(1)闭合开关S后,AB间的场强的大小是多少?

(2)β粒子到达金属网B的最长时间?

(3)切断开关S,并撤去金属网B,加上垂直纸面向内、范围足够大的匀强磁场,磁感应强度大小为B,设加上Bβ粒子仍能到达荧光屏。这时在竖直方向上能观察到荧光屏亮区的长度是多? (已知>d

查看答案和解析>>

(18分)如图所示,在铅版A上放一个放射源C可向各个方向射出速率为v的β射线,B为金属网,A、B连接在电路上,电源电动势为,内阻为r,滑动变阻器总阻值为R.图中滑动变阻器滑片置于中点,A、B间距为d,M为荧光屏(足够大),它紧挨者金属网外侧,已知β粒子的质量为m,电荷量e,不计β射线所形成的电流对电路的影响, 求:

(1)闭合开关S后,AB间的场强的大小是多少?
(2)β粒子到达金属网B的最长时间?
(3)切断开关S,并撤去金属网B,加上垂直纸面向内、范围足够大的匀强磁场,磁感应强度大小为B,设加上B后β粒子仍能到达荧光屏。这时在竖直方向上能观察到荧光屏亮区的长度是多?

查看答案和解析>>


同步练习册答案