6.图3中所示为一皮带传动装置.右轮的半径为r.a是它边缘上的一点.左侧是一轮轴.大轮的半径为4r.小轮的半径为2r.b点在小轮上.到小轮中心的距离为r.c点和d点分别位于小轮和大轮的边缘上.若在传动过程中.皮带不打滑.则 ( ) A.a点与b点的线速度大小相等 B.a点与b点的角速度大小相等 C.a点与c点的线速度大小相等 D.a点与d点的向心加速度大小相等 查看更多

 

题目列表(包括答案和解析)

如图4-3-1所示为一皮带传动装置,右轮的半径为rA是它边缘上的一点.左侧是一轮轴,大轮的半径为4r,小轮的半径为2r.B点在小轮上,它到小轮中心的距离为r.C点和D点分别位于小轮和大轮的边缘上.若在传动过程中,皮带不打滑.则(   )

A.A点与B点的线速度大小相等

B.A点与B点的角速度大小相等                      

C.A点与C点的线速度大小相等

D.A点与D点的向心加速度大小相等

图4-3-1

查看答案和解析>>

如图5-3-5所示为一皮带传动装置,右轮的半径为r,a是它边缘上的一点,左侧是一轮轴,大轮半径为4r,小轮半径为2r,b点在小轮上,到小轮中心距离为r,c点和d点分别位于小轮和大轮的边缘上.若在传动过程中,皮带不打滑,则…(    )

图5-3-5

A.a点与b点线速度大小相等

B.a点与c点角速度大小相等

C.a点与d点向心加速度大小相等

D.a、b、c、d四点中,加速度最小的是b点

查看答案和解析>>

如图所示,为一皮带传动装置,右轮半径为r,a为它边缘上一点;左侧是一轮轴,大轮半径为4r,小轮半径为2r,b点在小轮上,到小轮中心的距离为r.c点和d点分别位于小轮和大轮的边缘上.若传动过程中皮带不打滑,若c点向心加速度为0.1m/s2,求:
(1)右轮和左侧大轮的转速之比.
(2)a点向心加速度.
(3)d点向心加速度.
(4)a、b、c、d的线速度之比.

查看答案和解析>>

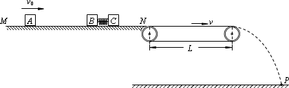
图所示为某种弹射装置的示意图,光滑的水平导轨MN右端N处与水平传送带理想连接,传送带长度L=4.0m,皮带轮沿顺时针方向转动,带动皮带以恒定速率v=3.0m/s匀速传动。三个质量均为m=1.0kg的滑块A、B、C置于水平导轨上,开始时滑块B、C之间用细绳相连,其间有一压缩的轻弹簧,处于静止状态。滑块A以初速度v0=2.0m/s沿B、C连线方向向B运动,A与B碰撞后粘合在一起,碰撞时间极短,可认为A与B碰撞过程中滑块C的速度仍为零。因碰撞使连接B、C的细绳受扰动而突然断开,弹簧伸展,从而使C与A、B分离。滑块C脱离弹簧后以速度vC=2.0m/s滑上传送带,并从右端滑出落至地面上的P点。已知滑块C与传送带之问的动摩擦因数,重力加速度g取10m/s2

   (1)求滑块c从传送带右端滑出时的速度大小;

   (2)求滑块B、C用细绳相连时弹簧的弹性势能Ep;

   (3)若每次实验开始时弹簧的压缩情况相同,要使滑块C总能落至P点,则滑块A与滑块B碰撞前速度的最大值Vm是多少?

查看答案和解析>>

图所示为某种弹射装置的示意图,光滑的水平导轨MN右端N处与水平传送带理想连接,传送带长度L=4 m,皮带轮沿顺时针方向转动,带动皮带以恒定速率v=3.0 m/s匀速传动.三个质量均为m=1.0 kg的滑块ABC置于水平导轨上,开始时滑块BC之间用细绳相连,其间有一压缩的轻弹簧,处于静止状态.滑块A以初速度v0=2.0 m/s沿BC连线方向向B运动,AB碰撞后粘合在一起,碰撞时间极短,可认为AB碰撞过程中滑块C的速度仍为零.因碰撞使连接BC的细绳受扰动而突然断开,弹簧伸展,从而使CAB分离.滑块C脱离弹簧后以速度vC=2.0 m/s滑上传送带,并从右端滑出落至地面上的P点.已知滑块C与传送带之间的动摩擦因数m =0.20,重力加速度g取10 m/s2

(1)求滑块C从传送带右端滑出时的速度大小;

(2)求滑块BC以细绳相连时弹簧的弹性势能Ep

(3)若每次实验开始时弹簧的压缩情况相同,要使滑块C总能落至P点,则滑块A与滑块B碰撞前速度的最大值vm是多少?

查看答案和解析>>


同步练习册答案