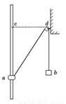
13.如图所示.光滑固定的竖直杆上套有一个质量m=0.4kg的小物块A.不可伸长的轻质细绳通过固定在墙壁上.大小可忽略的定滑轮D.连接物块A和小物块B.虚线CD水平.间距d=1.2m.此时连接物块A的细绳与竖直 杆的夹角为37.物块A恰能保持静止.现在物块B的下端 挂一个小物块Q.物块A可从图示位置上升并恰好能到达C 处.不计摩擦和空气阻力... 重力加速度g取10m/s2.求: (1)物块A到达C处时的加速度大小, (2)物块B的质量, (3)物块Q的质量. 查看更多

 

题目列表(包括答案和解析)

精英家教网如图所示,光滑固定的竖直杆上套有小物块 a,不可伸长的轻质细绳通过大小可忽略的定滑轮连接物块 a 和小物块 b,虚线 cd 水平.现由静止释放两物块,物块 a 从图示位置上升,并恰好能到达c处.在此过程中,若不计摩擦和空气阻力,下列说法正确的是(  )
A、物块 a 到达 c 点时加速度为零B、绳拉力对物块 a 做的功等于物块 a 重力势能的增加量C、绳拉力对物块 b先做负功后做正功D、绳拉力对物块 b 做的功在数值上等于物块 b机械能的减少量

查看答案和解析>>

12分)如图所示,光滑固定的竖直杆上套有一个质量m=0.4kg的小物块A,不可伸长的轻质细绳通过固定在墙壁上、大小可忽略的定滑轮D,连接物块A和小物块B,虚线CD水平,间距d=1.2m,此时连接物块A的细绳与竖直杆的夹角为37,物块A恰能保持静止.现在物块B的下端再挂一个小物块Q,物块A可从图示位置上升并恰好能到达C处.不计摩擦和空气阻力,,重力加速度g10m/s2.求:

1)物块A到达C处时的加速度大小;

2)物块B的质量M

3)物块Q的质量mo

 

 

查看答案和解析>>

如图所示,光滑固定的竖直杆上套有一个质量m=04 kg的小物块A,不可伸长的轻质细绳通过固定在墙壁上、大小可忽略的定滑轮D,连接小物块彳和小物块曰,虚线CD水平,间距d=12 m,此时连接小物块彳的细绳与竖直杆的夹角为37°,小物块彳恰能保持静止.现在在小物块B的下端挂一个小物块Q(未画出,小物块A可从图示位置上升并恰好能到达C处,不计摩擦和空气阻力,cos37°= 08sin37°=06,重力加速度誊取l0m/s2.求:

1)小物块A到达C处时的加速度大小;

2)小物块B的质量;

3)小物块Q的质量.

 

 

查看答案和解析>>

如图所示,光滑固定的竖直杆上套有小物块 a,不可伸长的轻质细绳通过大小可忽略的定滑轮连接物块 a 和小物块 b,虚线 cd 水平.现由静止释放两物块,物块 a 从图示位置上升,并恰好能到达c处.在此过程中,若不计摩擦和空气阻力,下列说法正确的是

A.物块 a 到达 c 点时加速度为零

B.绳拉力对物块 a 做的功等于物块 a 重力势能的增加量

C.绳拉力对物块 b先做负功后做正功

D.绳拉力对物块 b 做的功在数值上等于物块 b机械能的减少量

 

查看答案和解析>>

(12分)如图所示,光滑固定的竖直杆上套有一个质量m=0.4kg的小物块A,不可伸长的轻质细绳通过固定在墙壁上、大小可忽略的定滑轮D,连接物块A和小物块B,虚线CD水平,间距d=1.2m,此时连接物块A的细绳与竖直杆的夹角为37,物块A恰能保持静止.现在物块B的下端再挂一个小物块Q,物块A可从图示位置上升并恰好能到达C处.不计摩擦和空气阻力,,重力加速度g取10m/s2.求:
(1)物块A到达C处时的加速度大小;
(2)物块B的质量M;
(3)物块Q的质量mo

查看答案和解析>>


同步练习册答案