30.一个内壁光滑的圆柱形气缸.质量为M.高度为L..底面积为S.缸内有一个质量为m的活塞.封闭了一定质量的理想气体.不计活塞厚度.温度为t0时.如果用绳子系住活塞将气缸悬挂起来.如图甲所示.气缸内气体柱的高为L1.如果用绳子系住气缸底.将气缸倒过来悬挂起来.如图乙所示.气缸内气体柱的高为L2.设两种情况下气缸都处于竖直状态.求: (1)当时的大气压强, (2)为保证图乙情况下.活塞不从气缸中脱落.缸内气体温度的变化范围. 查看更多

 

题目列表(包括答案和解析)

一个内壁光滑的圆柱形气缸,质量为M,底面积为s,缸内有一个质量为m的活塞,封闭了一定质量的理想气体,不计活塞厚度。当温度为t0时,如果用绳子系住活塞将气缸悬挂起来,如图甲所示,气缸内气体柱的高为L1,如果用绳子系住气缸底,将气缸倒过来悬挂起来,如图乙所示,气缸内气体柱的高为L2,设两种情况下气缸都处于竖直状态,求:当时的大气压强。

 

查看答案和解析>>

一个内壁光滑的圆柱形气缸,质量为M,高度为L,、底面积为S.缸内有一个质量为m的活塞,封闭了一定质量的理想气体,不计活塞厚度.温度为t0时,用绳子系住活塞将气缸悬挂起来,气缸内气体高为L1,如图甲所示.如果用绳子系住气缸底,将气缸倒过来悬挂起来,气缸内气体高为L2,如图乙所示.设两种情况下气缸都处于竖直状态,求:
(1)当时的大气压强;
(2)图乙状态时温度升高到多少℃时,活塞将与气缸脱离?
精英家教网

查看答案和解析>>

一个内壁光滑的圆柱形气缸,质量为M,高度为L,底面积为S。缸内有一个质量为m的活塞,封闭了一定质量的理想气体,不计活塞厚度。温度为t0时,如果用绳子系住活塞将气缸悬挂起来,如图甲所示,气缸内气体柱的高为L1,如果用绳子系住气缸底,将气缸倒过来悬挂起来,如图乙所示,气缸内气体柱的高为L2,设两种情况下气缸都处于竖直状态,求:
(1)当时的大气压强;
(2)为保证图乙情况下,活塞不从气缸中脱落,缸内气体温度的变化范围。

查看答案和解析>>

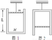
一个内壁光滑的圆柱形气缸,质量为M,高度为L,底面积为S.缸内有一个质量为m的活塞,封闭了一定质量的理想气体,不计活塞厚度.温度为t时,如果用绳子系住活塞将气缸悬挂起来,如图1所示,气缸内气体柱的高为L1,如果用绳子系住气缸底,将气缸倒过来悬挂起来,如图2所示,气缸内气体柱的高为L2,设两种情况下气缸都处于竖直状态,求:
(1)当时的大气压强;
(2)为保证图2情况下,活塞不从气缸中脱落,缸内气体温度的变化范围.

查看答案和解析>>

一个内壁光滑的圆柱形气缸,质量为M,高度为L,、底面积为S.缸内有一个质量为m的活塞,封闭了一定质量的理想气体,不计活塞厚度.温度为t时,用绳子系住活塞将气缸悬挂起来,气缸内气体高为L1,如图甲所示.如果用绳子系住气缸底,将气缸倒过来悬挂起来,气缸内气体高为L2,如图乙所示.设两种情况下气缸都处于竖直状态,求:
(1)当时的大气压强;
(2)图乙状态时温度升高到多少℃时,活塞将与气缸脱离?

查看答案和解析>>


同步练习册答案