如图.第(1)个多边形由正三角形"扩展"而来.边数记为α3. .第(2)个多边形由正方形"扩展"而来.边数记为a4.-.依此类推.由正 n边形"扩展"而来的多边形的边数记为an.则a5的值是 ;当 的结果是时.n的值为 . 查看更多

 

题目列表(包括答案和解析)

如图,第①个多边形是由正三角形“扩展”而来的,边数记为,第②个多边形是由正方形“扩展”而来的,边数记为,…,依次类推,由正边形“扩展”而来的多边形的边数记为),则的值是    ▲    .

 

查看答案和解析>>

如图,第①个多边形是由正三角形“扩展”而来的,边数记为,第②个多边形是由正方形“扩展”而来的,边数记为,…,依次类推,由正边形“扩展”而来的多边形的边数记为),则的值是    ▲    .

 

查看答案和解析>>

如图,第①个多边形是由正三角形“扩展”而来的,边数记为,第②个多边形是由正方形“扩展”而来的,边数记为,…,依次类推,由正边形“扩展”而来的多边形的边数记为),则的值是    ▲   .

查看答案和解析>>

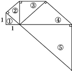
精英家教网如图,第①个等腰直角三角形的直角边长等于1,以它的斜边长为腰长作第②个等腰直角三角形,再以第②个等腰直角三角形的斜边长为腰长作第③个等腰直角三角形….依次得到一系列的等腰直角三角形,其序号依次为①、②、③、④、….
(1)分别求出第①、②、③、④个等腰直角三角形的斜边长;
(2)归纳出第n个等腰直角三角形的斜边长.(n为正整数)

查看答案和解析>>

、用正三角形和正六边形按如图所示的规律拼图案,

即从第二个图案开始,每个图案都比上一个图案多一

个正六边形和两个正三角形,则第个图案中正三角

形的个数为        (用含的代数式表示).

 

查看答案和解析>>


同步练习册答案