8.用二分法求方程在精确度下的近似解时.通过逐步取中点法.若取到区间且.此时不满足.通过再次取中点.有.此时.而在精确度下的近似值分别为 .则在精确度下的近似值为 ( ) (A) (B). (C) (D) 查看更多

 

题目列表(包括答案和解析)

用二分法求方程f(x)=0近似解中的算法共分以下5步,其中正确的顺序为

①确定有解区间[a,b](f(a)·f(b)<0).

②计算函数f(x)在中点处的函数值.

③判断新的有解区间的长度是否小于精确度:

a.如果新的有解区间的长度大于精确度,则在新的有解区间上重复上述步骤;

b.如果新的有解区间的长度小于或等于精确度,则取新的有解区间的中点为方程的近似解.

④取区间[a,b]的中点x=

⑤判断函数值f是否为0:

a.如果为0,x=就是方程的解,问题得到解决;

b.若f不为0,分两种情况:

若f(a)·f<0,确定新的有解区间为(a,).

若f(a)·f>0,确定新的有解区间为(,b).

[  ]
A.

①④②⑤③

B.

①②③④⑤

C.

①⑤②③④

D.

①④⑤③②

查看答案和解析>>

下面是用二分法求方程x5-3x+1=0在(0,1)上的近似解(精确度为0.001)的部分程序框图.
(Ⅰ)补全程序框图中下列编号处的对应的内容:
;②
;③
|a-b|<d或f(m)=0?
|a-b|<d或f(m)=0?

(Ⅱ)试用当型循环结构改写图中虚线框中的部分框图,请把结果写在右边相应方框内.

查看答案和解析>>

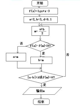
如图是用二分法求方程lg x=3-x的近似解(精确度为0.1)的程序框图,则阅读程序框图并根据下表信息求出第一次满足条件的近似解为
根所在区间 区间端点函数值符号 中点值 中点函数值符号
(2,3) f(2)<0,f(3)>0 2.5 f(2.5)<0
(2.5,3) f(2.5)<0,f(3)>0 2.75 f(2.75)>0
(2.5,2.75) f(2.5)<0,f(2.75)>0 2.625 f(2.625)>0
(2.5,2.625) f(2.5)<0,f(2.625)>0 2.5625 f(2.5625)<0
(2.5625,2.625) f(2.5625)<0,f(2.625)>0 2.59375 f(2.59375)>0
(2.5625,2.59375) f(2.5625)<0,f(2.59375)>0 2.578125 f(2.578125)<0
(2.578125,2.59375) f(2.578125)<0,f(2.59375)>0
(  )

查看答案和解析>>

如图是用二分法求方程的近似解(精确度为0.1)的程序框图,则阅读程序框图并根据下表信息求出第一次满足条件的近似解为(     )

根所在区间

区间端点函数值符号

中点值

中点函数值符号

(2,3)

f(2)<0, f(3)>0

2.5

f(2.5)<0

(2.5,3)

f(2.5)<0,f(3)>0

2.75

f(2.75)>0

(2.5,2.75)

f(2.5)<0,f(2.75)>0

2.625

f(2.625)>0

(2.5,2.625)

f(2.5)<0,f(2.625)>0

2.5625

f(2.5625)<0

(2.5625,2.625)

f(2.5625)<0,f(2.625)>0

2.59375

f(2.59375)>0

(2.5625,2.59375)

f(2.5625)<0,f(2.59375)>0

2.578125

f(2.578125)<0

(2.578125,2.59375)

f(2.578125)<0,f(2.59375)>0

 

 

A.        B. 

C.   D.

 

查看答案和解析>>

下图是用二分法求方程x4-16x+1=0在[-2,2]的近似解的程序框图,要求解的精确度为0.000 1,(1)处填的内容是______________;(2)处填的内容是______________.

查看答案和解析>>


同步练习册答案