题目列表(包括答案和解析)

 0  159775  159783  159789  159793  159799  159801  159805  159811  159813  159819  159825  159829  159831  159835  159841  159843  159849  159853  159855  159859  159861  159865  159867  159869  159870  159871  159873  159874  159875  159877  159879  159883  159885  159889  159891  159895  159901  159903  159909  159913  159915  159919  159925  159931  159933  159939  159943  159945  159951  159955  159961  159969  447348 

3、关于磁场和磁感线的描述,正确的说法是(   )

A.磁感线从磁体的N极出发,终止于S极

B.磁场的方向就是通电导体在磁场中某点受磁场作用力的方向

C.沿磁感线方向,磁场逐渐减弱

D.在磁场强的地方同一通电导体受的安培力可能比在磁场弱的地方受的安培力小

试题详情

2、以下说法正确的是(   )

A、由可知此场中某点的电场强度EF成正比

B、由公式可知电场中某点的电势Uq成反比

C、由Uab=Ed可知,匀强电场中的任意两点a、b间的距离越大,则两点间的电势差也一定越大

D、由C=Q/U可知,电容器的电容大小C与电容器两极板间电势差U无关

试题详情

1、.如图所示,电源电动势为E,内阻为r,当滑动变阻器的滑片Pb移动时,各电表示数的变化为(   )

A. V变大,A1变大,A2变大

B. V变小,A1变大,A2变小

C. V变大,A1变小,A2变大

D. V变小,A1变小,A2变小

试题详情

24.在一条直线上从右向左的A、B、C三点分别分别放置QA=3×10-9C,QB=-4×10-9C, QC=3×10-9C的点电荷,已知AB间距是1cm,BC间距是2cm,静电力常量k=9×109N· m2/C2,求作用在A电荷上的作用力?

试题详情

23.一理想变压器,其原线圈2200匝,副线圈440匝,并接一个100欧的负载电阻,如图.

(1)  当原线圈接在44伏的直流电源上时,电压表和电流表的示数是多少?

(2)  当原线圈接在220伏的交流电源上时,电压表和电流表的示数是多少?此时输入功率为多少?

试题详情

22.通过对电磁学的学习,谈谈你对电和磁关系的认识,包括电与磁在规律上的相似性.

试题详情

21.面积为6×10-2m2的导线框,放在磁感应强度为4×10-2T的匀强磁场中,当线框平面与磁感线平行时,穿过线框的磁通量为      Wb;当线框平面与磁感线垂直时,穿过线框的磁通量为       Wb

试题详情

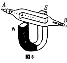
20.如图8所示,电子射线管(A为其阴极),放在蹄形磁铁的N、S两极间,射线管的阴极(A)接直流高压电源的_______极.(正、负)  此时,荧光屏上的电子束运动径迹将_________偏转.  (填“向上”、“向下”或“不”).

试题详情

19.请描述出图中通电导线周围的磁感线和单个正电荷周围的电场线

 

试题详情

18.运动的电子束在垂直于运动方向的磁场中会受到          的作用.

显像管通过        控制电子束打在荧光屏上的位置构成画面。

试题详情


同步练习册答案