题目列表(包括答案和解析)

 0  179089  179097  179103  179107  179113  179115  179119  179125  179127  179133  179139  179143  179145  179149  179155  179157  179163  179167  179169  179173  179175  179179  179181  179183  179184  179185  179187  179188  179189  179191  179193  179197  179199  179203  179205  179209  179215  179217  179223  179227  179229  179233  179239  179245  179247  179253  179257  179259  179265  179269  179275  179283  447348 

2.下图所示曲线分别表示人体血液中O2和CO2含量的变化情况。请据图回答:

(1)血流通过B段毛细血管时,血液中氧气分子与血红蛋白迅速    

(2)你认为B段毛细血管是肺泡毛细血管还是组织内的毛细血管?        

试题详情

1.据报道:全球有四个沙尘暴中心:澳大利亚、北美、非洲和亚洲中部。我国是沙尘暴的频发地区,来自黄土高原和内蒙古地区的沙尘暴多次袭击西北地区。2002年 4月  8日,我国北方地区再次遭遇强沙尘暴和浮尘天气。强烈的浮尘是传染疾病的罪魁祸首之一。据此回答:

   (1)沙尘暴带来的病毒和病菌属于     ;(填“传染源”或“病原体”)

   (2)我国在西部大开发战略中,实施“南水北调”工程,从生态因素分析,目的是改善西部地区生态环境中     因素;

   (3)为搞好酉部生态环境的保护和建设,我国政府实行“退耕还林、退耕还草”,强调树种和草种的多样性,其目的是增强生态系统的    

试题详情

20.下列反射活动中,哪一项不是人类特有的反射( )

A 聋哑学校的老师用手语给学生“讲故事”,学生感动得流泪

B 看了感人的电影,同学们都哭了

   C 听说前面有一片梅林,士兵们立刻缓解了饥渴

D 一朝被蛇咬,十年怕井绳

试题详情

19.人在海滨游泳时,往往出现身体肿痛的感觉,这是因为(    )  

A 海水有盐分  B 有蚊子叮咬   C 被海蜇蛰了  D 水中有血吸虫

试题详情

18.种植烟草的烟民必须经常打尖去掉花蕾,才能得到高产,其原因是(   )

A 抑制植株长高       B 使养料集中于少量的果实之中

C 促进营养生长       D 减少病虫害

试题详情

17.胚胎发育初期所需要的养料来源于(    )

A.母体    B.胎盘    C.精子内的物质   D.卵细胞内的卵黄

试题详情

16.不论较近或较远的物体,对于正常人来说都能使物象落在视网膜上,得以看清,这主要是因为:       (   )   A 视网膜可以前后移动调节    B 瞳孔可以缩小或放大   C 眼球的前后径能随意调节    D 晶状体的曲度可以调节

试题详情

15.吃糖1小时后,在胰静脉的血液中,下列物质中会明显增多的是

A  胰蛋白酶   B  胰淀粉酶   C  胰岛素   D  胰高血糖素

试题详情

14.对某患者的尿样进行检查时,发现尿液中含有红细胞和大分子蛋白质,据此分析,该病发生病变的部位是肾脏的(    )

A 皮质    B 髓质    C 肾盂    D 肾小管

试题详情

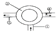
13.右图是人体四大系统的代谢关系图,图中①、②、③、④分别是

A 泌尿、消化、循环、呼吸

B 循环、呼吸、泌尿、消化

C 消化、循环、泌尿、呼吸

D 消化、循环、呼吸、泌尿

试题详情


同步练习册答案