题目列表(包括答案和解析)

 0  179535  179543  179549  179553  179559  179561  179565  179571  179573  179579  179585  179589  179591  179595  179601  179603  179609  179613  179615  179619  179621  179625  179627  179629  179630  179631  179633  179634  179635  179637  179639  179643  179645  179649  179651  179655  179661  179663  179669  179673  179675  179679  179685  179691  179693  179699  179703  179705  179711  179715  179721  179729  447348 

2.(2010十堰)60.有些植物的茎,例如桃的茎,能够不断长粗,主要是因为这些植物的茎内有

A.韧皮部    B。形成层       C。木质部      D。导管和筛管

答案:B

试题详情

1.(2010承德)14.无土栽培是指(   )

A.把植物直接栽培在人、畜的粪尿中 

B.直接将植物栽培在水中的栽培方式

C.不需要给植物施无机盐的栽培方式 

D.把植物栽培在按植物需要的无机盐比例配制的营养液中

答案:D

试题详情

8、人(生物)的遗传和变异

(1)、理解基因控制生物的性状,知道人类基因组计划

﹡遗传是指亲子间的相似性,变异是指亲子间和子代间的差异。生物的遗传和变异是通过生殖和发育而实现的;

﹡性状:生物的形态结构、生理特征和行为方式。

人体常见的遗传性状:耳垂、舌头、眼皮、鼻尖、大拇指、酒窝。

﹡相对性状:同种生物同一性状的不同表现形式,如番茄果实的红色或黄色、家兔毛的黑色或白色、人的双眼皮或单眼皮等。

﹡基因控制生物的性状。例:转基因超级鼠和小鼠。

﹡ 生物遗传下来的是基因而不是性状。

﹡人类基因组计划:人类基因组计划旨在为构成的人类基因组精确测序,发现所有人类基因并搞清其在染色体上的位置,破译人类全部遗传信息。  目的是解码生命、了解生命的起源、了解生命体生长发育的规律、认识种属之间和个体之间存在差异的起因、认识疾病产生的机制以及长寿与衰老等生命现象、为疾病的诊治提供科学依据。

(2)、认识染色体、DNA和基因、基因通过生殖细胞传递

﹡在生物的体细胞中,染色体是成对存在的。如人的体细胞中染色体为23对。

基因也是成对存在的,分别位于成对染色体上。

﹡遗传物质在细胞中的结构层次:基因→DNA分子→染色体→细胞核→细胞

﹡生殖过程中染色体的变化:生物体在形成精子或卵细胞的分裂过程中,细胞中的染色体都要分开,即每对中各有一条进入精子或卵细胞。基因经精子或卵细胞传递。后代体细胞中的每一对染色体,都是一条来自父亲,一条来自母亲。由于基因在染色体上,因此,后代就具有了父母双方的遗传物质。(如人的体细胞中有46条染色体,并且是成对的,精子或卵细胞中有23条染色体,并且是不成对的。)

﹡相对性状有显性性状隐性性状之分。例如,人的一对相对性状:双眼皮(AA)

和单眼皮(aa),双眼皮是显性性状,单眼皮是隐性性状,结合(AA×aa)后的后代(Aa)只表现出显性性状

亲  代:    Aa        A a    生殖细胞:   A   a       A    a    后   代:  AA    Aa     Aa     aa 

(3)、理解禁止近亲结婚的意义,说明优生的重要性。

﹡我国婚姻法规定:直系血亲三代以内的旁系血亲之间禁止结婚。近亲之间,

基因来自共同的祖先,因此携带相同基因可能性比较大,近亲婚配所生子女得

隐性基因控制的遗传病发病率会相应的增加。

(4)、理解男女性别的染色体组成差异及形成

﹡人类的性别,一般是由性染色体决定的。性染色体有X染色体和Y染色体,一对性染色体为XX时为女性,一对性染色体为XY时为男性

﹡体细胞:22对+XX或22对+XY;生殖细胞:22条+X或22条+Y

﹡女性排出一个含X染色体的卵细胞。精子的性染色体有两种,一种是含X染色体的,一种是含Y染色体的。它们与卵细胞结合的机会均等。生男生女机会均等

试题详情

7、人体生命活动的调节

(1)、人体对外界环境的感知

﹡眼球壁包括:角膜巩膜虹膜

脉络膜视网膜

内容物有:房水晶状体玻璃体

(晶状体病变会出现白内障 ,房水

压力大会出现青光眼。看近物时,

晶状体曲度变大;看远物时,晶状体曲度变小)

﹡视觉形成:光线经过:角膜-瞳孔-晶状体-玻璃体-

-视网膜(感光细胞)-视神经-视觉中枢,形成视觉

﹡近视原因:眼球前后径过长晶状体曲度过大。矫正方法:戴凹透镜

(假性近视是由于睫状肌长时间收缩,晶状体曲度过大,导致近处物体形成的物像落在视网膜前方,真性近视是由于眼球前后径过长造成。)

﹡耳:外耳(耳郭、外耳道)中耳(鼓膜、鼓室、听小骨)内耳(半规管、前庭、耳蜗)

﹡听觉形成:声波经过:耳郭-外耳道-鼓膜-听小骨-耳蜗-耳蜗中的听觉细胞-听觉神经-听觉中枢,形成听觉

(2)、描述人体神经系统的组成

﹡神经系统包括中枢神经系统周围神经系统。中枢神经系统由脊髓组成,脑包括大脑小脑脑干;周围神经系统包括脑神经脊神经

﹡大脑由左右两个大脑半球组成,表面是大脑皮层,含有多种功能区-神经中枢。小脑功能:维持身体平衡使运动协调、准确。脑干功能:能专门调节心跳呼吸血压等人体基本的生命活动。脊髓功能:反射传导

﹡神经细胞又叫做神经元,是神经系统的结构和功能的基本单位,可以接受刺激、产生冲动、传递冲动。

(3)、神经调节的基本方式,并说出反射弧的组成

﹡神经调节的基本方式是反射,反射的结构基础是反射弧,反射弧的结构包括感受器传入神经神经中枢传出神经效应器五部分。

﹡简单反射生来就会,叫做非条件反射,如:缩手、眨眼、排尿、膝跳

复杂反射是后天学会的,叫条件反射。如:望梅止渴、谈梅分泌唾液(人类特有语言中枢,所以对语言文字建立的反射是人类特有的,如:“望梅止渴”。)

其他知识

A内分泌系统:

﹡外分泌腺有导管;内分泌腺无导管,它们组成内分泌系统,分泌物是激素

内分泌系统:人体主要内分泌腺有:垂体(生长激素)甲状腺(甲状腺激素)胸腺(胸腺激素)肾上腺(肾上腺激素)胰岛(位于胰腺中,分泌胰岛素)卵巢(雌性激素)睾丸(雄性激素)

﹡幼年生长激素过少:侏儒症,过多:巨人症,成年过多:肢端肥大症。甲状腺激素过多:甲亢,幼年过少:呆小症。缺碘患大脖子病(地方性甲状腺肿)。胰岛素过少:糖尿病

﹡人体的生命活动主要受神经系统的调节,还受激素调节的影响。

B:运动系统:

﹡人(哺乳动物)的运动系统是由关节骨骼肌组成的(或由骨骼肌肉组成)。

﹡骨在运动中起着杠杆的作用。骨骼肌在运动中起着动力作用,有受刺激而收缩的特性。

﹡关节主要由关节面(关节头和关节窝)、关节囊关节腔关节软骨组成的,其中包绕着关节的结构是关节囊,它能分泌滑液。在接触面上,有减少摩擦、缓冲震荡的结构关节软骨关节头关节窝里滑脱出来叫做脱臼

﹡屈肘时,肱二头肌收缩,肱三头肌舒张;伸肘时,肱三头肌收缩,肱二头肌舒张。(提重物时,肱二头肌肱三头肌同时收缩)

试题详情

6、人体内废物的排出

﹡泌尿系统的组成和功能:①肾脏-形成尿液;②输尿管-输送尿液;③膀胱-暂时贮存尿液;④尿道-排出尿液

﹡肾单位:肾单位是肾脏的结构和功能的基本单位,由肾小球(过滤,形成原尿)肾小囊(收集原尿)肾小管(对原尿重吸收)组成。

(1)、概述尿液的形成和排出过程。

(﹡排泄是指体内二氧化碳尿素无机盐多余的水代谢废物排出体外的过程。食物残渣排出体外的过程叫做排遗。)

﹡尿液的形成:①肾小球的过滤作用(形成原尿),②肾小管的重吸收作用(形成尿液)

(详细:尿液的形成主要经过滤过重吸收两个连续过程。

当血液流经肾小球和肾小囊壁时,除血细胞和大分子的蛋

白质外,血浆中的一部分水、无机盐、葡萄糖和尿素等物

质都可以经肾小球过滤到肾小囊中。肾小囊中的液体称为

原尿。人体每天形成的原尿大约150升。当原尿流经肾小

时,全部葡萄糖、大部分的水和部分无机盐等被肾小管

重新吸收,并且进入包绕在肾小管外面的毛细血管中,送

回到血液里,而剩下的水和无机盐、尿素等就形成了尿液。

人体每天排出的尿液约为1.5升。)

﹡尿的排出:肾脏中形成的尿液经输尿管流入膀胱暂时储存,当膀胱内的尿液储存到一定量人就会产生尿意,进行排尿,尿液经尿道排出体外。

﹡如果尿液中有蛋白质、血细胞,是肾小球出现问题,尿液中有葡萄糖则可能是肾小管出现病变。

试题详情

5、人体内物质的运输

(1)、流动的组织--血液(描述血液的成分)

﹡血液(被称为“流动的组织”)组成:血浆血细胞,血浆成分主要是,还有血浆蛋白氨基酸葡萄糖无机盐等,作用:运载血细胞运输养料和废物。血细胞包括红细胞白细胞血小板

﹡红细胞:成熟的红细胞无细胞核,呈两面凹的圆饼状,含血红蛋白(含铁的蛋白质),作用:运输氧和部分二氧化碳

﹡白细胞:有细胞核形态较大数量少,作用:防御保护吞噬细菌

﹡血小板:无细胞核形态微小形状不规则,作用:止血凝血

红细胞数量过少血红蛋白过少叫做贫血。白细胞数量增多意味着体内可能有炎症

(2)、血管的管道--血管(分析三种血管的结构特点和功能)

血管
管壁特点
管腔
血流速度
功能
动脉
壁最厚,弹性大

最快
把血液从心脏送向全身
静脉
壁较厚,弹性小
较大

把血液从全身收回心脏
毛细血管
壁最薄
最小
最慢
血液和组织细胞进行物质交换,只允许红细胞单行通过

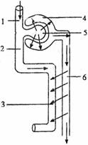
﹡心脏结构:心脏四腔相连血管:右心房-上、下腔静脉(流静脉血)右心室-肺动脉(流静脉血)左心房-肺静脉(流动脉血)左心室-主动脉(流动脉血),(静脉连心房,动脉连心室)。

心室的壁比心房的壁厚,左心室的壁最厚。

房室瓣动脉瓣保证了血液能按一定的方向

流动,即心房心室动脉

﹡动脉血:含氧多,颜色鲜红的血液

静脉血:含氧少,颜色暗红的血液

(3)、简述血液循环过程

﹡血液循环途径包括体循环肺循环

体循环:左心室-主动脉-各级动脉-

-体内毛细血管网-各级静脉-

-上、下腔静脉-右心房(动脉血

变成静脉血)

肺循环:右心室-肺动脉--肺内毛细血管网-肺静脉-左心房(静脉血变成动脉血)

(4)、输血与血型

﹡人类的血型有:ABAB O。输血应以输同型血为原则。万能献血者:O;万能受血者:AB

﹡我国实行无偿献血制度,提倡18~55周岁的健康公民自愿献血。健康成年人每次献血200~300毫升不会影响身体。一次失血1200~1500ml危及生命。

试题详情

4、人体的呼吸

(1)、描述人体呼吸系统的组成、功能。

呼吸系统包括:呼吸道。呼吸道包括:气管支气管(功能:是气体进出肺的通道,还能使进入肺的气体温暖湿润清洁。)鼻是呼吸道的起始位置,喉是呼吸的通道,也是发声的器官。是消化和呼吸系统共有的部分。

肺由大量肺泡组成,是气体交换的场所。是呼吸系统的主要器官。呼吸道对空气的处理能力是有限的

(2)、概述发生在肺部及组织细胞处的气体交换过程。

﹡肺泡内的气体交换:血液中氧气增多,肺泡内二氧化碳增多,呼出气体中二氧化碳增多。肺泡外面包绕着丰富的毛细血管

肺泡壁毛细血管壁都是由一层扁平的上皮

细胞构成。

﹡组织内的气体交换:是血液与细胞之间

进行氧气和二氧化碳的交换。血液中氧的

含量高,向细胞里扩散。而细胞中的二氧

化碳含量高,向血管扩散。

试题详情

3、人体的营养

(1)、食物中的营养物质(说出人体需要的主要营养物质及这些营养物质的主要来源。),了解维生素的作用。

﹡六类营养物质:人类营养物质主要有糖类蛋白质脂肪、(前三者为有机物)水分无机盐维生素(后三者为无机物)。

﹡作用:

无机盐
缺乏症(食物来源)
维生素
缺乏症(食物来源)

佝偻病、骨质疏松症 (豆制品、乳制品)
维生素A
皮肤干燥、夜盲症、干眼症    (蛋黄、鱼肝油、动物肝脏、胡萝卜) 

厌食、贫血、肌无力、骨痛  (牛奶、肉类、鸡蛋)
维生素B1
神经炎、脚气病、消化不良、食欲不振  (粗粮、谷类的种皮、猪肝)

缺铁性贫血、乏力、头晕  (猪肝)
维生素C
坏血病、抵抗力下降(新鲜蔬菜、水果)

地方性甲状腺肿,呆小症(海产品、豆制品、肉类)
维生素D
 
(促进钙和磷的吸收)佝偻病、骨质疏松症(蛋黄、鱼肝油、动物肝脏、胡萝卜)

生长发育不良、味觉发生障碍(豆制品、肉类)

 

糖类:①人体主要供能物质。(来源:主要从谷类和薯类食物中获得) 蛋白质:①构成细胞的基本物质(来源:主要从瘦肉、鱼、奶、蛋和豆类获得)脂肪:①作为备用能源贮存、②分解放能。(来源:肉类、花生、芝麻和植物油等食物中获得)水:细胞主要组成成分

(2)、消化和吸收(概述食物的消化和营养物质的吸收过程)

﹡消化系统:消化管和消化腺组成

消化道:食道小肠大肠肛门

消化腺:  唾液腺--唾液淀粉酶 

      肝脏--胆汁(将脂肪乳化成脂肪微粒)

胃腺--胃蛋白酶   

胰腺、肠腺--含有消化糖类、蛋白质和脂肪的酶 

﹡ 消化过程:淀粉→麦芽糖→葡萄糖(口腔开始消化)

       脂肪→脂肪微粒→甘油+脂肪酸(小肠开始消化)

       蛋白质→氨基酸(胃开始消化)

﹡吸收过程:食道无吸收作用,胃吸收酒精和少量水,大部分物质被小肠吸收(小肠是消化吸收的主要器官,其特点:①长:5~6米长、②有皱襞和小肠绒毛(内含丰富的毛细血管),增大面积、③绒毛壁、毛细血管壁薄、④有肠腺分泌肠液)。大肠吸收少量的水、无机盐、维生素

试题详情

2、  人的由来

生殖系统:男性生殖系统的主要器官是 睾丸,作用是 ①产生精子、②分泌雄性激素;女性生殖系统的主要器官是 卵巢,作用是 ①产生卵细胞、②分泌雌性激素。子宫--胚胎发育的场所,胎儿与母体物质交换的场所是胎盘。

输卵管--受精的场所

(2)、描述青春期的发育特点

﹡青春期特点:①身高突增(显著特点);②神经系统、心肺功能增强;③生殖系统发育成熟

试题详情


同步练习册答案