215①分析上表内实验数据可知.应选用的实验电路图是图 查看更多

 

题目列表(包括答案和解析)

Ⅰ.(1)在验证机械能守恒定律的实验中,实验装置如图所示.实验要验证的是重物重力势能的减少量是否等于它动能的增加量.以下步骤仅是实验操作中的一部分,请将必要的步骤挑选出来,并且按正确的顺序排列:
ACGEF
ACGEF
(填代号).
A.把电火花打点计时器固定在铁架台上,并用导线把它和交流电源连接起来
B.用天平称出重锤的质量
C.把纸带的一端固定在重锤上,另一端穿过电火花打点计时器的限位孔,把重锤提升到一定的高度
D.用秒表测出重锤下落的时间
E.释放纸带
F.重复几次,得到3~5条符合要求的纸带
G.接通电源
(2)根据纸带算出相关各点的速度v,量出由静止开始下落的距离h,以
v2
2
为纵轴,以h为横轴画出的图线应是下图中的
B
B
,就证明机械能是守恒的,图象的斜率代表的物理量是
g
g

Ⅱ.如图是测量小灯泡U-I关系的实验电路,表格中记录的是某次实验的测量数据.
实验
序号
1 2 3 4 5 6 7 8
U(V) 0.0 0.2 0.5 1.0 1.5 2.0 2.5 3.0
I(A) 0.000 0.050 0.100 0.150 0.180 0.195 0.205 0.215
(1)下列电源和滑动变阻器可供选择的是
D
D

A.电动势为3V,内阻为1Ω的电池组和总阻值为100Ω的滑动变阻器
B.电动势为4.5V,内阻为1.5Ω的电池组和总阻值为100Ω的滑动变阻器
C.电动势为3V,内阻为1Ω的电池组和总阻值为10Ω的滑动变阻器
D.电动势为4.5V,内阻为1.5Ω的电池组和总阻值为10Ω的滑动变阻器
E.电动势为4.5V,内阻为1.5Ω的电池组和总阻值为150Ω的滑动变阻器
(2)在按照实验序号的先后得到以上数据的过程中,滑动变阻器的滑片移动的方向是
a→b
a→b
(选填“a→b”或“b→a”).
(3)在方格纸内画出小灯泡的U-I曲线.分析曲线可知小灯泡的电阻随I变大而
增大
增大
(填“变大”、“变小”或“不变”).
(4)将上述小灯泡接入到如图乙所示的电路中,定值电阻R=24Ω,电源电动势E=3V、内阻r=1Ω,则在这个电路中,小灯泡的电阻大小为
5
5
Ω.

查看答案和解析>>

Ⅰ.(1)在验证机械能守恒定律的实验中,实验装置如图所示.实验要验证的是重物重力势能的减少量是否等于它动能的增加量.以下步骤仅是实验操作中的一部分,请将必要的步骤挑选出来,并且按正确的顺序排列:    (填代号).
A.把电火花打点计时器固定在铁架台上,并用导线把它和交流电源连接起来
B.用天平称出重锤的质量
C.把纸带的一端固定在重锤上,另一端穿过电火花打点计时器的限位孔,把重锤提升到一定的高度
D.用秒表测出重锤下落的时间
E.释放纸带
F.重复几次,得到3~5条符合要求的纸带
G.接通电源
(2)根据纸带算出相关各点的速度v,量出由静止开始下落的距离h,以为纵轴,以h为横轴画出的图线应是下图中的    ,就证明机械能是守恒的,图象的斜率代表的物理量是   
Ⅱ.如图是测量小灯泡U-I关系的实验电路,表格中记录的是某次实验的测量数据.
实验
序号
12345678
U(V)0.00.20.51.01.52.02.53.0
I(A)0.0000.0500.1000.1500.1800.1950.2050.215
(1)下列电源和滑动变阻器可供选择的是   
A.电动势为3V,内阻为1Ω的电池组和总阻值为100Ω的滑动变阻器
B.电动势为4.5V,内阻为1.5Ω的电池组和总阻值为100Ω的滑动变阻器
C.电动势为3V,内阻为1Ω的电池组和总阻值为10Ω的滑动变阻器
D.电动势为4.5V,内阻为1.5Ω的电池组和总阻值为10Ω的滑动变阻器
E.电动势为4.5V,内阻为1.5Ω的电池组和总阻值为150Ω的滑动变阻器
(2)在按照实验序号的先后得到以上数据的过程中,滑动变阻器的滑片移动的方向是    (选填“a→b”或“b→a”).
(3)在方格纸内画出小灯泡的U-I曲线.分析曲线可知小灯泡的电阻随I变大而    (填“变大”、“变小”或“不变”).
(4)将上述小灯泡接入到如图乙所示的电路中,定值电阻R=24Ω,电源电动势E=3V、内阻r=1Ω,则在这个电路中,小灯泡的电阻大小为    Ω.

查看答案和解析>>

表格中所列数据是测量小灯泡U-I关系的实验数据:

U/V

0.00

0.20

0.50

1.00

1.50

2.00

2.50

3.00

I/A

0.00

0.050

0.100

0.150

0.180

0.200

0.210

0.215

①分析上表内实验数据可知,应选用的实验电路图是图____________(填(a)或(b));

②在方格纸内画出小灯泡的U-I曲线。分析曲线可知小灯泡的电阻随功率的变大而________(填“变大”“变小”或“不变”);

③如图(c)所示,用一个定值电阻R和两个上述小灯泡组成串并联电路,连接到内阻不计、电动势为3 V的电源上。已知流过电阻R的电流是流过灯泡b电流的两倍,则流过灯泡b的电流约为__________ A。

查看答案和解析>>

表格中所列数据是测量小灯泡UI关系的实验数据:

U/(V)
0.0
0.2
0.5
1.0
1.5
2.0
2.5
3.0
I/(A)
0.000
0.050
0.100
0.150
0.180
0.195
0.205
0.215
 
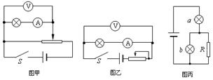
⑴分析上表内实验数据可知,应选用的实验电路图是图   (填“甲”或“乙”)

⑵在方格纸内画出小灯泡的UI曲线。分析曲线可知小灯泡的电阻随I变大而        (填“变大”、“变小”或“不变”)
⑶如图丙所示,用一个定值电阻R和两个上述小灯泡组成串并联电路,连接到内阻不计、电动势为3V的电源上。已知流过电阻R的电流是流过灯泡b电流的两倍,则流过灯泡b的电流约为      A。

查看答案和解析>>

表格中所列数据是测量小灯泡UI关系的实验数据:
U/(V)
0.0
0.2
0.5
1.0
1.5
2.0
2.5
3.0
I/(A)
0.000
0.050
0.100
0.150
0.180
0.195
0.205
0.215
 
⑴分析上表内实验数据可知,应选用的实验电路图是图   (填“甲”或“乙”)

⑵在方格纸内画出小灯泡的UI曲线。分析曲线可知小灯泡的电阻随I变大而        (填“变大”、“变小”或“不变”)
⑶如图丙所示,用一个定值电阻R和两个上述小灯泡组成串并联电路,连接到内阻不计、电动势为3V的电源上。已知流过电阻R的电流是流过灯泡b电流的两倍,则流过灯泡b的电流约为      A。

查看答案和解析>>


同步练习册答案