右图是同学们利用大可乐瓶设计的储气装置.以下说法不正确的是[ ] A.打开止水夹a.b.气体从d管倒入储存在下面的瓶子里.水被压入上瓶 B.取用气体时.可通过控制止水夹a.b.靠水的重力方便地将气体排出 C.气体被储存在装置中.c导管也必须安装止水夹 D.该装置也可用于实验室制取二氧化碳的发生装置 查看更多

 

题目列表(包括答案和解析)

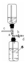
右图是同学们利用大可乐瓶设计的储气装置(铁架台未画出),以下说法不正确的是     

                                        

A.打开止水夹a、b,气体从d管导入储存在下面的瓶子里,水被压入上瓶

B.取用气体时,可通过控制止水夹a 、b,靠水的重力方便地将气体排出

C.气体被储存在装置中后,c导管也必须安装止水夹

D.该装置也可作为实验室制取二氧化碳的发生装置

 

查看答案和解析>>

右图是同学们利用大可乐瓶设计的储气装置(铁架台未画出),以下说法不正确的是 

   

A.储存气体时,打开止水夹a、b,气体从d管进入储存在下面的瓶子里,水被压入上瓶

B.取用气体时,可通过控制止水夹a、b,靠水的重力方便地将气体从c管排出

C.气体被储存在装置中,c导管不必安装止水夹

D.该装置也可用于实验室制取二氧化碳的发生装置,通过打开、关闭b,可以使反应随时发生、停止

 

查看答案和解析>>

右图是同学们利用大可乐瓶设计的储气装置(铁架台未画出),以下说法不正确的是 
   

A.储存气体时,打开止水夹a、b,气体从d管进入储存在下面的瓶子里,水被压入上瓶
B.取用气体时,可通过控制止水夹a、b,靠水的重力方便地将气体从c管排出
C.气体被储存在装置中,c导管不必安装止水夹
D.该装置也可用于实验室制取二氧化碳的发生装置,通过打开、关闭b,可以使反应随时发生、停止

查看答案和解析>>

右图是同学们利用大可乐瓶设计的储气装置(铁架台未画出),以下说法不正确的是     

                                       

A.打开止水夹a、b,气体从d管导入储存在下面的瓶子里,水被压入上瓶

B.取用气体时,可通过控制止水夹a 、b,靠水的重力方便地将气体排出

C.气体被储存在装置中后,c导管也必须安装止水夹

D.该装置也可作为实验室制取二氧化碳的发生装置

 

查看答案和解析>>

右图是同学们利用大可乐瓶设计的储气装置(铁架台未画出),以下说法不正确的是     
                  

A.打开止水夹a、b,气体从d管导入储存在下面的瓶子里,水被压入上瓶
B.取用气体时,可通过控制止水夹a 、b,靠水的重力方便地将气体排出
C.气体被储存在装置中后,c导管也必须安装止水夹
D.该装置也可作为实验室制取二氧化碳的发生装置

查看答案和解析>>


同步练习册答案