7.如图所示.正方形的框架由四根粗细相同的均匀细棒构成.每根细棒的质量均为m.框架可绕过D点的水平轴在竖直面内自由转动.现用一细绳BE连结框架的B点与竖直墙上的E点.绳与水平方向的夹角为a.此时框架的C端刚好对墙面无压力.则BE绳所受拉力的大小为 .调整细绳的长度和E点的位置.使细绳与水平方向的夹角a为 时.BE绳中的拉力最小. 查看更多

 

题目列表(包括答案和解析)

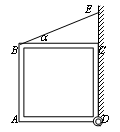
如图所示,正方形的框架由四根粗细相同的均匀细棒构成,每根细棒的质量均为m,框架可绕过D点的水平轴在竖直面内自由转动,现用一细绳BE连结框架的B点与竖直墙上的E点,绳与水平方向的夹角为α,此时框架的C端刚好对墙面无压力,则BE绳所受拉力的大小为
2mg
cosα+sinα
2mg
cosα+sinα
.调整细绳的长度和E点的位置,使细绳与水平方向的夹角α为
45°
45°
时,BE绳中的拉力最小.

查看答案和解析>>

如图所示,正方形的框架由四根粗细相同的均匀细棒构成,每根细棒的质量均为m=2.8kg,框架可绕过D点的水平轴在竖直面内自由转动,现用一细绳BE连结框架的B点与竖直墙上的E点,绳与水平方向的夹角为a=37°,此时框架的C端刚好对墙面无压力,则BE绳所受拉力的大小为T__________N。调整细绳的长度和E点的位置,使细绳与水平方向的夹a__________时,BE绳中的拉力最小。

 

 

查看答案和解析>>

如图所示,正方形的框架由四根粗细相同的均匀细棒构成,每根细棒的质量均为m=2.8kg,框架可绕过D点的水平轴在竖直面内自由转动,现用一细绳BE连结框架的B点与竖直墙上的E点,绳与水平方向的夹角为a=37°,此时框架的C端刚好对墙面无压力,则BE绳所受拉力的大小为T__________N。调整细绳的长度和E点的位置,使细绳与水平方向的夹a__________时,BE绳中的拉力最小。

查看答案和解析>>

如图所示,正方形的框架由四根粗细相同的均匀细棒构成,每根细棒的质量均为m=2.8kg,框架可绕过D点的水平轴在竖直面内自由转动,现用一细绳BE连结框架的B点与竖直墙上的E点,绳与水平方向的夹角为a=37°,此时框架的C端刚好对墙面无压力,则BE绳所受拉力的大小为T__________N。调整细绳的长度和E点的位置,使细绳与水平方向的夹a__________时,BE绳中的拉力最小。

 

 

查看答案和解析>>

如图所示,正方形的框架由四根粗细相同的均匀细棒构成,每根细棒的质量均为m=2.8kg,框架可绕过D点的水平轴在竖直面内自由转动,现用一细绳BE连结框架的B点与竖直墙上的E点,绳与水平方向的夹角为α=37°,此时框架的C端刚好对墙面无压力,则BE绳所受拉力的大小为T=______N.调整细绳的长度和E点的位置,仍使C端刚好对墙面压力,当细绳与水平方向的夹α=______时,BE绳中的拉力最小.
精英家教网

查看答案和解析>>


同步练习册答案