数据处理: 将数据描在图上.利用图线解决问题. (1)图线的纵坐标是路端电压.它反映的是:当电流强度I增大时.路端电压U将随之减小.U与I成线性关系.U=E-Ir.也就是说它所反映的是电源的性质.所以也叫电源的外特性曲线. (2)电阻的伏安特性曲线中.U与I成正比.前提是R保持一定.而这里的U―I图线中.E.r不变.外电阻R改变.正是R的变化.才有I与U的变化. 实验中至少得到5组数据.画在图上拟合出一条直线.要求:使多数点落在直线上.并且分布在直线两侧的数据点的个数要大致相等.这样.可使偶然误差得到部分抵消.从而提高精确度. 次数 1 2 3 4 5 电流(I) 电压(U) 描绘U-I图象: 讨论:将图线延长.与横纵轴的交点各代表什么情况? 归纳 查看更多

 

题目列表(包括答案和解析)

利用电火花计时器做如下实验.

(1)甲同学使用如图所示的装置来验证“机械能守恒定律”.

①下面是操作步骤:

a.按上图安装器材;

b.松开铁夹,使重锤带动纸带下落;

c.接通电火花计时器电源,使计时器开始工作

d.进行数据处理:

e.根据需要,在纸带上测量数据.

把上述必要的操作步骤按正确的顺序排列________

②电火花计时器接在频率为50 Hz的交流电源上,下图为实验中打出的一条纸带,从起始点O开始,将此后连续打出的7个点依次标为A、B、C、D……,

电火花计时器打F点时,重锤下落的速度为________m/s.(保留到小数点后两位)

③如果已知重锤的质量为0.50 kg,当地的重力加速度为9.80 m/s2.从打O点到打F点的过程中,重锤重力势能的减少量为________J,重锤动能的增加量为________J.(保留到小数点后两位)

(2)乙同学采用如图所示的装置进行了有关“动能定理”研究的实验.

a.按图中把实验器材安装好,不挂配重,反复移动垫木直到小车能够做匀速直线运动;

b.把细线系在小车上并绕过定滑轮悬挂质量为100 g的配重.接通电源,放开小车,电火花计时器在被小车带动的纸带上打下一系列点.从某点A开始,此后在纸带上每隔4个点取一个计数点,依次标为B、C、D……;

c.测量出B、C、D、……各点与A点的距离,分别记为x1、x2、x3、……;

d.用配重受到的重力分别乘以x1、x2、x3、……,得到配重重力所做的功W1、W2、W3、……;(重力加速度g=9.80 m/s2)

e.求出B、C、D、……各点速度的大小,分别记为v1、v2、v3、……,再求出它们的平方、……;

f.用纵坐标表示速度的平方v2,横坐标表示配重重力所做的功W,作出v2-W图象,并在图象中描出(W1)坐标点,再连成图线;

(以下计算保留到小数点后两位)

①在步骤d中,该同学测得x4=40.00 cm,则配重重力所做的功WA________J;

②该同学得到的v2-W图象如图所示.通过图象可知,打A点时对应小车的速度v0________m/s;

③小车的质量M=________kg.

查看答案和解析>>

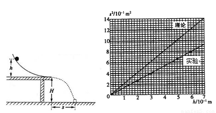
(6分)某同学利用如图所示的实验装置验证机械能守恒定律.弧形轨道末端水平,离地面的高度为H.将钢球从轨道的不同高度h处静止释放,钢球的落点距轨道末端的水平距离为s.

(1)若轨道完全光滑,s2与h的理论关系应满足s2=       (用H、h表示).

(2)该同学经实验测量得到一组数据,如下表所示:

在坐标纸上描点后作出了s2--h关系图.对比实验结果与理论计算得到的s2-h关系图线(图中已画出),判断自同一高度静止释放的钢球,水平抛出的速率____________(填“小于”或“大于”)理论值。

(3)从s2--h关系图线中分析得出钢球水平抛出的速率差十分显著,你认为造成上述偏差的可能原因是                  

 

查看答案和解析>>

某同学利用弹簧测力计、小车、砝码、钩码、木块和带有定滑轮的长木板等器材探究滑动摩擦力R与正压力,N之间的关系,实验装置如图所示。该同学主要的实验步骤如下:

[来源:Z§xx§k.Com]

a.将一端带有定滑轮的长木板放在水平桌面上,在细绳一端挂适量的钩码,使其能够带动小车向右运动;

b.多次改变木块上砝码的个数,并记录多组数据;

c.进行数据处理,得出实验结论。

请回答下列问题:

①实验中应测量木块和木块上砝码的总重力,并记录       ▲           ;

②若用图象法处理实验数据,以摩擦力Ff为横轴,正压力FN为纵轴,建立直角坐标系,通过描点,得到一条倾斜的直线,该直线的斜率所表示的物理意义可用文字描述为                          ▲                       

③通过实验得出的结论是        ▲            

 

查看答案和解析>>

(6分)某同学利用如图所示的实验装置验证机械能守恒定律.弧形轨道末端水平,离地面的高度为H.将钢球从轨道的不同高度h处静止释放,钢球的落点距轨道末端的水平距离为s.

(1)若轨道完全光滑,s2与h的理论关系应满足s2=      (用H、h表示).
(2)该同学经实验测量得到一组数据,如下表所示:

在坐标纸上描点后作出了s2--h关系图.对比实验结果与理论计算得到的s2-h关系图线(图中已画出),判断自同一高度静止释放的钢球,水平抛出的速率____________(填“小于”或“大于”)理论值。
(3)从s2--h关系图线中分析得出钢球水平抛出的速率差十分显著,你认为造成上述偏差的可能原因是                  

查看答案和解析>>

某同学利用如图所示的实验装置验证机械能守恒定律.弧形轨道末端水平,离地面的高度为H.将钢球从轨道的不同高度h处静止释放,钢球的落点距轨道末端的水平距离为s.

(1)若轨道完全光滑,s2与h的理论关系应满足s2=       (用H、h表示).
(2)该同学经实验测量得到一组数据,如下表所示:

h(10-1m)

2.00

3.00

4.00

5.00

6.00

S2 (10-1m2)

2.62

3.89

5.20

6.53

7.78

在坐标纸上描点后作出了s2--h关系图.对比实验结果与理论计算得到的s2-h关系图线(图中已画出),判断自同一高度静止释放的钢球,水平抛出的速率____________(填“小于”或“大于”)理论值。

(3)从s2--h关系图线中分析得出钢球水平抛出的速率差十分显著,你认为造成上述偏差的可能原因是                   。

 


查看答案和解析>>


同步练习册答案